鞠婧祎遭实名举报偷税漏税,税务部门回应:未发现涉税问题

问AI · 合约纠纷如何升级为税务举报风波?

今日(3月31日),歌手、演员鞠婧祎被前经纪公司丝芭传媒实名举报涉嫌偷税漏税的消息登上热搜。随后,双方围绕税务问题的激烈交锋,将此前持续已久的合约纠纷推向新高度。

图片

曝光资料显示,丝芭传媒于3月30日向国家税务总局上海市税务局稽查局递交举报材料,指称鞠婧祎2024年全年申报收入为1100.18万元,但仅当年6月至12月期间,其参与影视、商务等活动的实际收入保守估计超5000万元,瞒报比例近88%。举报材料包含收入申报表及未申报项目明细作为证据。

图片

图片

据最新消息,国家税务总局上海市税务局就鞠婧祎涉税问题发布情况通报:3月30日,我局收到关于鞠某某涉税事项的实名举报。自2025年9月起,我局多次收到类似举报线索,经认真核查,未发现举报所反映的涉税问题,并已向举报方反馈了调查结果。根据《税收违法行为检举管理办法》第十七条规定,因为本次举报是对已经查结的同一检举事项再次检举,且没有提供新的有效线索,我局依法不予受理。

图片

值得注意的是,此次举报并非突发事件。早在3月26日,丝芭传媒就曾发布声明,否认与鞠婧祎方和解的传闻,明确双方经纪合约纠纷仍在司法审理中。据悉,双方矛盾源于2024年6月,鞠婧祎主张合约已到期终止,而丝芭传媒则持2018年补充协议,称合约延长至2033年,双方就合约有效性争执不下。

图片

针对举报,鞠婧祎工作室于3月31日午间发布声明,全盘否认偷税漏税指控。称艺人始终依法纳税,且已配合完成相关税务检查。声明还指责丝芭传媒近半年来频繁发布不实信息,企图操纵舆论、扼杀艺人演艺事业,已委托律师对其恶意侵权行为提起诉讼。

图片

图片

巧合的是,3月31日当天,鞠婧祎主演的新剧《月鳞绮纪》官宣定档4月1日播出。鞠婧祎转发宣传动态时配文“我这一生被创造,被操控,但这一次我想做真正的自己”,引发网友对其处境的诸多联想。

图片

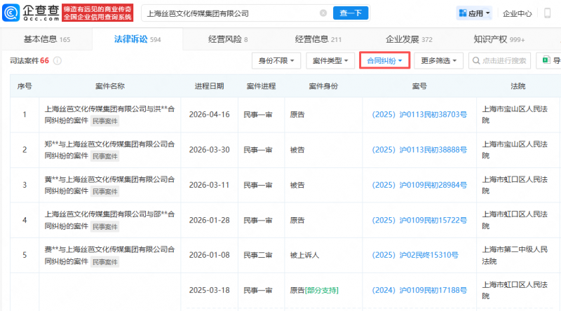
另据企查查APP显示,丝芭传媒关联公司上海丝芭文化传媒集团有限公司成立于2010年5月,法定代表人为王靖,由王靖、北京创新方舟科技有限公司等共同持股。风险信息显示,丝芭传媒与旗下多名艺人有合约纠纷,涉事艺人还有洪静雯、郑丹妮、黄怡慈等。

这起艺人与经纪公司的纠纷,再次引发公众对经纪合约规范等问题的关注。

文/北京青年报记者 乔颖