万物集崩塌启示录:资本催熟的工业电商泡沫与空心化模式的破产

问AI · 资本FOMO情绪如何加速工业电商泡沫破裂?
图片
|恒心 
来源|博望财经

2026年农历丙午马年新春的余温尚未散尽,中国产业互联网赛道便迎来一记惊雷。

曾被近20家顶级投资机构追捧、头顶“工业品电商独角兽”光环的“我的万物集”(下称“万物集”),在春节前后上演了一场急速崩塌。

全国办公地人去楼空,创始人失联,仅员工N+1”赔偿得到优先支付,留下的是上千家供应商被拖欠的、据不完全统计高达数亿元的货款,以及一个破碎的“工业版京东”幻梦。

从高光时刻的瞪羚企业”到一夜之间的“暴雷明星”,万物集的陨落并非偶然的经营失利,而是一场资本催熟、模式空心化与宏观周期叠加下的必然结局。它深刻揭示了,在重资产的工业互联网领域,任何脱离供应链核心能力建设的规模扩张,都是无本之木、无源之水。



01

核心缺陷:过单游戏”下的供应链空心化与系统性风险

万物集商业模式的根本缺陷,在于其赖以生存的“过单”模式,这直接导致了企业的供应链空心化,并埋下了无法抵御的系统性风险。

这种模式看似轻巧高效,实则是将自身建立在极其脆弱的外部依赖之上,一旦融资环境或客户关系发生波动,整个大厦便摇摇欲坠。

图片

首先,该模式本质上是一种缺乏护城河的“二道贩子”生意。

万物集利用其前身“固安捷中国”的背景及管理层人脉,中标成为大型国央企的采购服务平台。然而,它并不持有库存、不管理物流,仅作为信息与资金的中介,将订单分发给下游中小供应商。

这使得其业务毫无壁垒可言:对客户而言,更换一个不具备独家产品或服务的平台成本极低;对供应商而言,万物集也并非不可替代的出货渠道。其价值仅仅体现在短暂的“通道”功能上,而非源自供应链效率的真正提升。

其次,高风险的账期错配构成了致命的资金链游戏。

工业品B2B交易中,终端大客户的回款周期漫长。而万物集为吸引供应商,承诺的付款周期则短得多。这使其必须不断依靠新的融资或新的客户回款,来填补支付给上游供应商的资金窟窿。

这种“短债长用”的现金流模式,在经济上行、资本充裕时或许可以维系,但本质上是一场危险的“击鼓传花”。当2025年下半年以来融资环境趋紧,新的“活水”难以为继时,资金链的断裂便成为定局。

更为致命的是,在危机显现后,管理层选择了“欺诈性”续单的饮鸩止渴之道。

据《新浪财经》等媒体报道,在20261月底明知付款能力已枯竭的万物集,仍在向供应商下达新的采购订单,诱导其继续备货。然而几天后,万物集便单方面通知停止履约。

这种疑似转移风险、拉供应商“垫背”的行为,不仅突破了商业伦理底线,更可能涉嫌违法。而其在倒闭前夕,将约1亿元应收账款质押给银行的操作,则彻底堵死了供应商从客户回款中获偿的路径,完成了风险的最终转嫁。

图片

综上所述,万物集看似创新的平台模式,实则是一种将自身悬浮于产业之上的“空心化”投机。



02

资本催熟:FOMO情绪下的畸形生长与战略失焦

万物集的悲剧,不仅源于其内生的脆弱模式,更是一级市场“错失恐惧症”(FOMO)催生下的畸形产物。

在资本非理性热情的裹挟下,企业被拔苗助长,脱离了健康发展的轨道,上演了一出从盲目扩张到荒诞自救的闹剧。

资本追捧的逻辑,源于对头部赛道稀缺标的的焦虑。

彼时,工业品电商赛道格局初定,京东工业等巨头已树立高墙。众多未能“押中”绝对头部的VC/PE机构,陷入强烈的FOMO情绪。

于是,拥有“固安捷中国”光环、团队背景光鲜的万物集,便成了资本眼中理想的“替代性押注”。

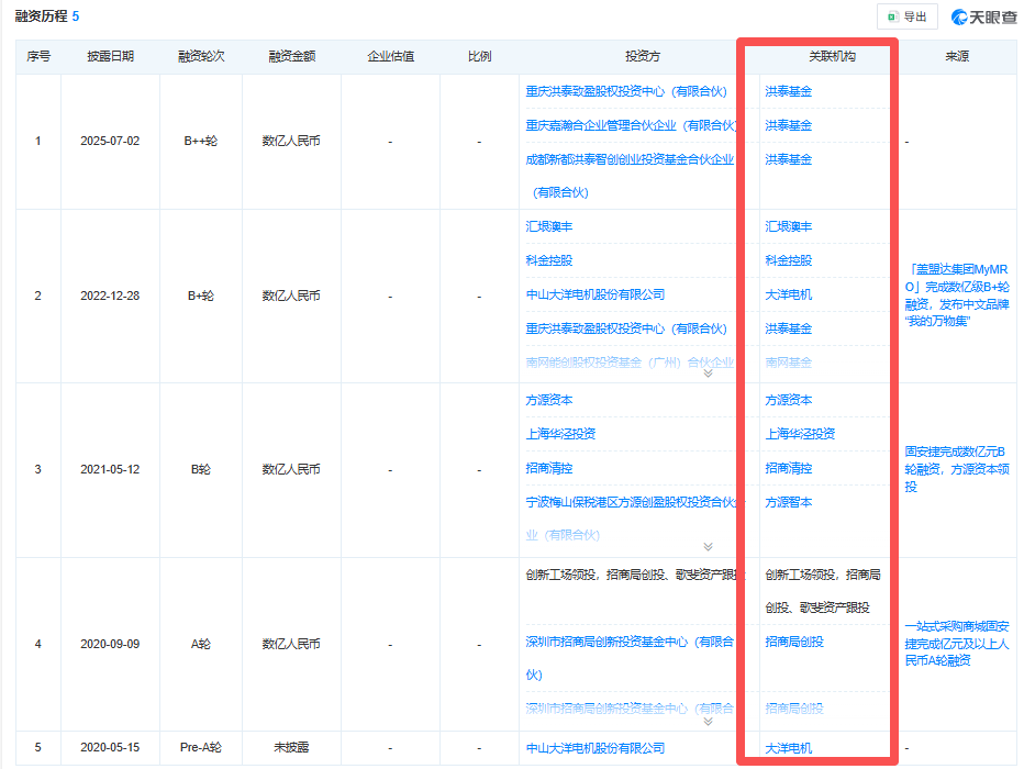
从大洋电机、招商局创投,到创新工场、方源资本、洪泰基金,豪华投资阵容的背后,是资本渴望复制神话的集体冲动。然而,这种投资逻辑严重忽略了消费互联网与产业互联网的根本差异:后者无法靠烧钱快速形成垄断,其壁垒在于深厚的供应链积累,而这需要时间的沉淀。

图片

在资本对增长指标的极致要求下,万物集的经营动作彻底变形。

为了支撑一轮高过一轮的估值,为了在预定的IPO时间表前交出亮眼的流水数据,万物集必须不断做大规模。当健康的、依托核心能力的自然增长无法满足资本预期时,管理层开始寻求“捷径”。

其中最荒诞的一笔,便是大举投入的“地摊夜市”项目。一家旨在服务工业企业采购的B2B平台,竟在全国多个城市铺设线下摊位,售卖小吃、玩具等快消品。

这一决策赤裸裸地暴露了其增长焦虑:试图用C端流水的“水分”来冲高GMV,以制造一个“线上+线下”、“B+C”的多元化假象,取悦资本市场。这不仅消耗了本就紧张的资金,更让团队精力分散,严重损耗了其在工业客户心中的专业品牌形象。

图片

战略的彻底失焦,加速了资金链的枯竭与内部信任的瓦解。

“地摊夜市”这类与主业完全背离、且无法产生协同效应的尝试,是战略上彻底迷失的标志。它将宝贵的现金流投入到一个无底洞中,只为讲述一个自欺欺人的故事。当真实的经营现金流无法覆盖“烧钱”速度,而新一轮融资又因宏观环境收紧而无法到位时,崩盘便进入倒计时。

据《融中财经》等多家媒体报道,在暴雷前夕,意识到投资可能血本无归的股东与创始人之间爆发了激烈冲突,投资人要求回购股份,而创始人则无力回天,最终选择“隐身”。资本当初如何狂热地将其捧上神坛,最后便如何决绝地将其弃如敝履。

图片

由此可见,万物集的疯狂扩张与荒诞转型,并非企业家的独立决策,而是资本短期逐利本性与企业长期发展需求之间撕裂的必然结果。



03

代价与警示:供应链生态的灾难与行业价值回归

万物集的轰然倒塌,其冲击波远超一家公司的破产清算。

它如同一次剧烈的压力测试,暴露了依附型供应链的脆弱性,重创了行业脆弱的信任基础,并以巨大的代价为整个产业互联网赛道指明了真正的价值所在。

最直接且惨痛的代价,由广大中小供应商承担,引发了严重的供应链信用危机

上千家供应商被拖欠巨额货款,其中不少中小微型企业因此陷入经营绝境,面临工资发放困难、生产停滞的困境。从商业伦理和生态构建角度看,这无异于对合作伙伴的背弃。它传递出一个恶劣信号:在平台企业的风险排序中,为其贡献商品与服务的供应链伙伴,可能处于价值链条的最末端。这种信任的毁灭性打击,将使未来所有平台在建立供应链合作关系时面临更高的成本和更深的猜疑。

对资本市场而言,这是一次关于“常识”的沉重教训。

万物集案例迫使投资机构重新审视产业互联网的投资逻辑。它证明,辉煌的职业经理人履历并不等同于成功的创业能力,在成熟体系内指挥作战与在荒野中白手起家存在天壤之别。

更重要的是,它警示资本必须尊重产业规律:在B2B领域,尤其是重服务的工业品赛道,单纯的流量撮合和“过单”模式没有长期价值,真正的壁垒在于仓储、物流、数据、技术和服务构成的硬实力。

对行业竞争格局与发展方向,万物集的失败完成了一次残酷的清洗与教育。

据公开数据,2025年万物集营收规模仅约10亿元,不足主要竞品京东工业同年239.5亿元营收的二十分之一。它的出清,实际上淘汰了一种低效、投机的商业模式,强化了“供应链为王”的行业共识。

图片

资料来源:京东工业2025年财报。

因此,万物集的废墟如同一座警示碑。它告诫后来者,产业互联网没有魔法,无法靠资本催熟。真正的价值创造,在于能否俯下身去,解决产业链上一个个具体的痛点,提升一分一毫的效率。


结论

万物集的崩塌,是一场事先张扬的悲剧。

它用极其惨烈的方式,为过去几年产业互联网投资过热、估值虚高的阶段画上了一个休止符。这场闹剧的尾声,是创始人失联、员工离散、供应商血本无归的多输局面,没有赢家。

中国的产业数字化转型正进入深水区,市场不再需要华丽的PPT和虚幻的故事,而是需要能切实降低采购成本、保障供应稳定、提供专业服务的实干家。

潮水退去,方知谁在裸泳。

万物集的故事结束了,但它所揭示的教训,应当成为所有从业者与投资者心中长鸣的警钟。

行业的未来,必将属于那些敬畏产业、耐得住寂寞、专注于价值创造的长期主义者。

作者声明:个人观点,仅供参考