银行系AIC增至9家!千亿资金力撑国内科技变革,谁领跑?

问AI · AIC投资转向硬科技背后的经济逻辑是什么?
图片

3月20日,邮储银行宣告旗下中邮金融资产投资有限公司(简称“中邮投资”)正式成立,注册资本100亿元。在当日举办的启动仪式上,中邮投资即与集成电路、清洁能源、先进制造等领域的14家单位签署合作协议,显示出其快速切入科技创新主战场的决心。

至此,六大国有银行AIC(金融资产投资公司)全部落地,银行系AIC扩容至9家,合计注册资本达1485亿元。千亿级的耐心资本耐心资本正加速流向硬科技、新质生产力,这股“活水”最先流到哪些行业?谁又在这场奔跑中领先?

中邮投资成立,六大国有行AIC聚齐

3月20日,邮储银行公告称,近日收到金融监管总局有关批复,该行筹建的中邮投资获准开业,中邮投资注册资本为人民币100亿元,注册地为北京市。同日,邮储银行宣告中邮投资正式成立。至此,六大国有行金融资产投资公司(AIC)全部集齐。

AIC是由商业银行发起并全资控股专门从事市场化债转股和股权投资业务的公司。其最早诞生于2017年,初期主要承接债转股任务,化解银行不良资产、降低企业杠杆率;2020年后,不以债转股为目的的股权直投业务逐步铺开。

工商信息显示,中邮投资由邮储银行副行长、董事会秘书杜春野“挂帅”,担任该公司董事长及法定代表人。邮储银行在公告中表示,中邮投资将聚焦服务实体经济的主责主业,通过开展市场化债转股及股权投资试点业务,发挥对科技创新和民营企业的支持作用,助力新质生产力发展。

在邮储银行3月20日举办的中邮投资服务科技创新启动会上,中邮投资即与集成电路、清洁能源、先进制造和产业投资等领域的14家单位签署业务合作框架协议。

据规划,中邮投资将坚守助力新质生产力发展、服务实体经济的本源定位,加快构建"股、贷、债、投"一体化的综合金融服务生态。“致力于成为邮储银行的投贷联动创新平台、科技创新长期资本平台、结构性改革债转股平台、股权投资管理平台。”

银行系AIC增至9家,谁在领跑?

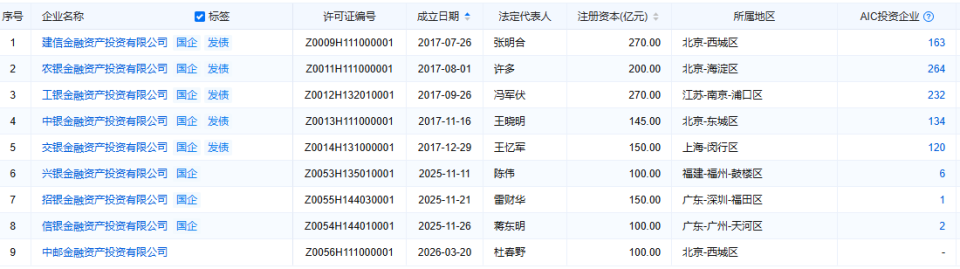
伴随中邮投资的正式开业,银行系AIC扩容至9家,其中国有行AIC共6家、股份行AIC为3家。据工商信息,9家机构合计注册资本已达1485亿元。其中,工商银行建设银行旗下AIC注册资本均以270亿元领跑,农银投资以200亿元跟随,其余6家注册资本在100亿元-150亿元之间。

从投资活跃度看,据企业预警通数据,农银投资已投资企业264家,工银投资亦超过230家;资产体量方面,截至2025年上半年末,工银投资总资产以接近2000亿元领跑,农银投资与建信投资均超1200亿元,中银资产为949.17亿元。从披露业绩的5家国有行AIC看,2025年上半年,工银投资净利润达27.09亿元,农银投资、建信投资分别为19.36亿元和11.95亿元,中银资产、交银投资净利润分别为8.19亿元、5.32亿元。

图片

数据来源:企业预警通

浙商证券分析师杜秦川指出,当前银行AIC的投资导向高度聚焦“投早、投小、投长期、投硬科技”,2024年后主要投向半导体、新能源、生物医药等硬科技领域。其背后逻辑在于,传统商业银行面临净息差收窄、信贷需求不足、ROE(净资产收益率)下行等压力,而新兴产业具备高成长、长周期、轻资产特点,传统信贷模式难以有效对接其融资需求。AIC的成立恰恰弥补了银行在直接投资领域的短板,通过投贷联动形成产品组合,既缓解了银行营收压力,又为科技企业提供了适配的长期资本。

另一方面,因科创类投资项目投资周期长、高风险、高收益等特征,目前AIC公司盈利波动较大。从5家国有行AIC披露的财务数据看,2023年、2024年、2025上半年平均ROE分别为11.35%、10.49%、7.15%,并未持续显著高于母行。但杜秦川认为,部分已投项目若未来成功上市,其收益将非常可观,有望提升银行整体ROE水平,而这些潜在价值尚未体现在当前报表中。

随着中邮投资成立,银行系AIC进一步扩容。2025年3月,金融监管总局发布的《关于进一步扩大金融资产投资公司股权投资试点的通知》,便明确提出“支持符合条件的商业银行发起设立金融资产投资公司”。2025年以来,已有4家银行系AIC成立。

对于银行系AIC未来竞争格局,杜秦川表示,股份行有市场化基因,综合化经营底子好,针对部分细分赛带,已形成“投行+商行”的打法;国有行承担支持国家重大项目的重任,预计风险审批较为审慎;而城农商行可能坚持“回归本源”的监管定位,AIC牌照获批可能有一定难度。

采写:南都·湾财社记者 黄顺威