企查查APP显示,近日,北京字跳网络技术有限公司申请注册多枚“SEEDANCE”商标,国际分类包括方便食品、医疗园艺、化学原料等,当前商标状态均为注册申请中。
公开资料显示,Seedance 2.0是字节跳动推出的AI视频生成模型,可根据文本或图像创建电影级视频。今年2月,其开始小范围内测并在即梦平台上线。
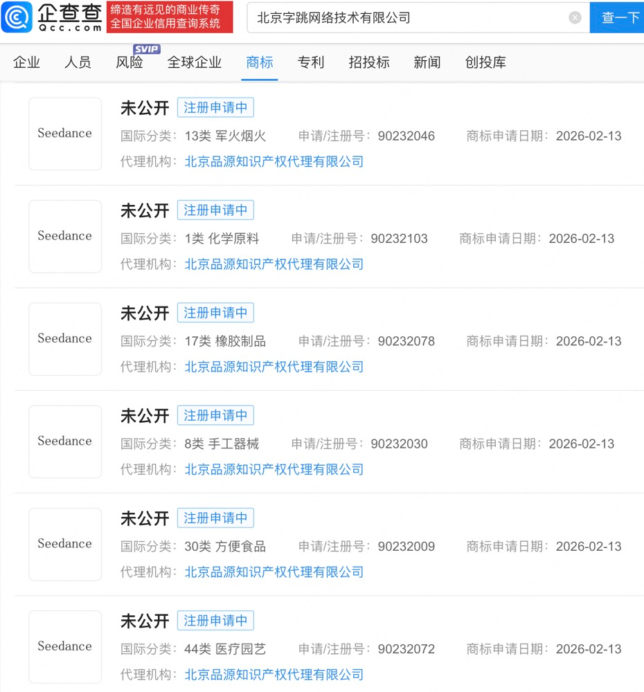
企查查APP显示,近日,北京字跳网络技术有限公司申请注册多枚“SEEDANCE”商标,国际分类包括方便食品、医疗园艺、化学原料等,当前商标状态均为注册申请中。
公开资料显示,Seedance 2.0是字节跳动推出的AI视频生成模型,可根据文本或图像创建电影级视频。今年2月,其开始小范围内测并在即梦平台上线。