财闻
2026-03-23 13:09发布于浙江财闻官方账号
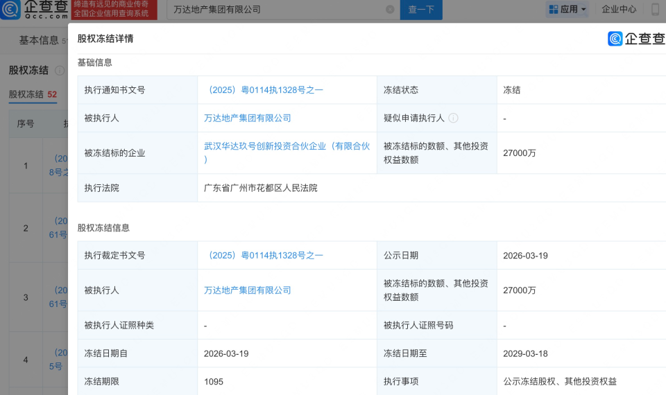
企查查APP显示,近日,万达地产集团有限公司新增一则股权冻结信息,股权所在企业为武汉华达玖号创新投资合伙企业(有限合伙),冻结股权数额2.7亿元,冻结期限3年,执行法院为广东省广州市花都区人民法院。