山东高锻机械有限公司多次被限制高消费,涉案金额超亿元

根据企查查公开信息显示,山东高锻机械有限公司多次被采取限制高消费措施,涉及多起执行案件,具体情况如下:

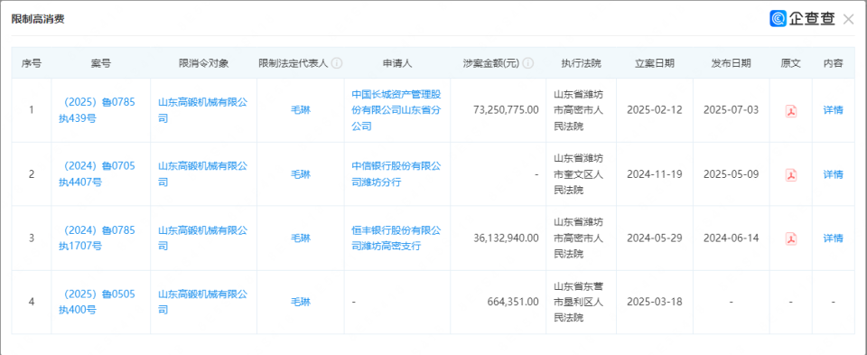
在山东省潍坊市高密市人民法院立案的(2025)鲁 0785 执 439 号案件中,山东高锻机械有限公司被列为被执行人,执行标的为 73,250,775.00 元。该案件为 “万明,山东新永辉化工有限公司,山东高锻机械有限公司等执行案件”,申请执行人为中国长城资产管理股份有限公司山东省分公司,除该公司外,万明、山东新永辉化工有限公司、褚美丽均被列为本案被执行人,执行标的均为 73,250,775.00 元。2025 年 7 月 3 日,法院对山东高锻机械有限公司及法定代表人毛琳采取限制高消费措施,该案件于 2025 年 7 月 4 日终本,公司未履行金额为 73,250,775.00 元。

图片

图片

此外,山东高锻机械有限公司还涉及多起限制高消费案件:

(2024)鲁 0705 执 4407 号案件:申请执行人为中信银行股份有限公司潍坊分行,执行法院为山东省潍坊市奎文区人民法院,立案日期为 2024 年 11 月 19 日,2025 年 5 月 9 日对公司及法定代表人毛琳采取限制高消费措施。

(2024)鲁 0785 执 1707 号案件:申请执行人为恒丰银行股份有限公司潍坊高密支行,执行法院为山东省潍坊市高密市人民法院,涉案金额 36,132,940.00 元,立案日期为 2024 年 5 月 29 日,2024 年 6 月 14 日对公司及法定代表人毛琳采取限制高消费措施。

(2025)鲁 0505 执 400 号案件:执行法院为山东省东营市垦利区人民法院,涉案金额 664,351.00 元,立案日期为 2025 年 3 月 18 日,对公司及法定代表人毛琳采取限制高消费措施。

图片

截至目前,山东高锻机械有限公司已多次被限制高消费,已披露的涉案金额超 1.1 亿元,且多起案件终本后仍存在大额未履行债务,公司及法定代表人毛琳的高消费行为受到严格限制,相关偿债及经营压力显著。