数字驱动全链升级 破解新能源固废困局——新能源电池循环利用信息平台“固废信息模块”正式上线

近日,由中国科学院过程工程研究所、中国科学院化学化工科学数据中心联合打造的"新能源电池循环利用信息平台"迎来重大升级——“固废信息模块”正式上线。该模块由宁德时代新能源科技股份有限公司、中国科学院过程工程研究所、北京资源强制回收环保产业技术创新战略联盟、生态环境部固体废物与化学品管理技术中心联合开发,实现了动力电池从生产制造到综合利用的全生命周期数据贯通,旨在破解新能源固废治理中的数据分散、处置信息不对称等难题,助力行业实现绿色高质量发展。

图片

一、核心功能

(一)固废全流程梳理

本模块综合借鉴宁德时代等动力电池头部生产企业,以及邦普循环等废旧动力电池综合利用标杆企业的先进技术与工艺路径,系统梳理并全景呈现不同工艺路线的技术特征。在此基础上,围绕动力电池生产与综合利用的全链条,逐环节识别并归纳固体废弃物的产生清单,集成涵盖废电解液、废极片、废隔膜等多类典型固废的产生节点与属性信息。通过构建统一的数据体系,实现跨工艺、跨环节的多维度查询与比对,为固废管理及资源化利用提供全面、精准的决策支撑。

固废信息按锂电生产环节与回收环节分类呈现:

锂电生产环节:包括电芯生产工艺、模组生产工艺、Pack生产工艺;

锂电回收环节:依据正极材料类型分为三元与磷酸铁锂,并结合国内工业化应用现状,分别展示主流的湿法工艺火法工艺材料修复工艺

图片

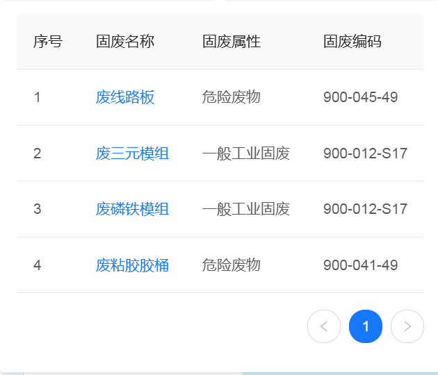
(二)固废处理信息库

系统梳理各环节固废,明确其属于一般工业固废或危险废物,并提供对应固废或危废编码;进一步展示该固废的主要成分、理化性质与防护措施,明确运输与贮存要点,提供可选的处理工艺及适用法规标准,助力企业快速匹配适宜的处理处置方案。

图片

(三)固废处置商检索

以热力图直观呈现各类固废可选处理处置商的分布情况。针对每一种工业固废,可按处理方式与所在区域进行检索筛选,并查看处置商详细信息,包括统一社会信用代码、地址、联系电话、注册资本、经营范围,重点提供供应商危险废物经营许可证、排污许可证信息,以及“企业信用中国”报告链接,确保合作的安全性与合规性。

二、核心价值

本模块聚焦动力电池全产业链的固体废弃物管理,通过系统化梳理、标准化信息与可视化检索,形成覆盖全过程的闭环支撑能力,核心价值体现在以下五个方面:

1、全景化认知 整合宁德时代、邦普循环等行业标杆企业的先进工艺与数据,构建多工艺路线、多环节的可视化固废清单,帮助企业全面掌握锂电全生命周期固废产生节点与属性,消除信息盲区。

2、标准化管理 对固废进行规范分类、编码,并明确危险属性、成分、理化特性及防护要求,统一数据口径,便于企业内部合规管理与外部监管对接。

3、精准化匹配 提供可选处理工艺、适用法规标准及处置商信息,支持按固废类别、处理方式、区域快速匹配最优方案,提升资源化处理效率与经济性。

4、合规安全保障 汇聚处置商资质(危废许可证、排污许可证)、信用中国报告等关键合规要素,降低企业在合作过程中的法律与环保风险。

5、决策智能化支撑 借助跨工艺、跨环节的查询比对与热力图分布分析,为企业制定固废减量、资源化利用及供应链优化策略提供数据驱动的决策依据。

三、应用场景

(一)动力电池生产企业

在生产工艺设计阶段,通过模块查询电芯/模组/Pack各环节的固废产生清单与属性,提前规划减量措施与内部收集方案,减少危废混入与一般工业固废交叉污染风险。 利用模块提供的固废编码、成分与法规标准,快速生成符合生态环境部门要求的固废管理台账和转移联单,提升申报效率与准确性。

(二)废旧动力电池综合利用企业

根据回收环节的三元/磷酸铁锂材料及主流工艺路径,对比不同工艺产生的固废种类与数量,评估工艺的环境负荷与资源化潜力,辅助选择兼顾经济与环保的技术路线。 在回收过程中生成的固废,可通过该模块按区域和处理方式检索具备资质的处置商,并核验其许可证与信用信息,确保合法合规外委处置。

(三)环保咨询与第三方服务机构

利用全景化的固废清单与标准化数据库,为制造或回收企业提供从产废识别、分类、暂存到最终处置的全流程方案,并引用法规标准增强方案权威性。 在项目投资前,通过该模块获取目标企业固废处置链合规性及合作方资质,判断环境风险与持续运营能力,辅助投资决策。

(四)政府监管部门与产业园区管理者

通过热力图查看不同类型固废处置商的区域分布,评估本地处置能力与缺口,指导产业布局与环保基础设施规划。 核查企业所用固废编码、处置商资质与信用报告,快速发现潜在违规风险点,提高监管效率与覆盖面。

结语

该模块打通动力电池产业链固废管理“识别—管理—处理处置”三大环节,既能满足生产及回收企业的日常运营与合规需求,也能为咨询机构、监管部门和投资方提供高效决策与风险控制支持,有力推动锂电产业向绿色、安全、可持续方向迈进。面向未来,平台将构建环境资源综合评价模型,对不同类别工业固废开展量化核算与分级评估,并以直观结果辅助科学决策;将接入生态环境部固废监管平台、工信部溯源管理平台等权威数据源,不断拓展数据广度与深度,强化全链条治理能力,为行业精细化管理和循环经济建设注入坚实动力。

(图片由北京资源强制回收环保产业技术创新战略联盟授权提供)