最新!10类耗材集采中选结果出炉

酒泉公布耗材集采中选结果,10类普耗即将迎来新一轮降价风暴。

01

10类普耗

1781个产品入围

2月26日,酒泉市医疗保障局发布《关于公布酒泉市公立医疗机构十类普通医用耗材联盟集中带量采购中选结果的通知》(以下简称:《通知》),即将进入落地阶段。(文末点击阅读原文了解详情)

图片

图片来源:酒泉市医疗保障局

据此前发布的正式文件,本次集采主体为酒泉市的公立医疗机构,采购品种为10类普通耗材:一次性使用吸痰管、一次性使用导尿管、一次性使用导尿包、一次性使用呼吸过滤器、一次性使用雾化器、一次性使用阴道扩张器、一次性使用包皮切割吻合器、一次性使用引流袋、一次性使用麻醉穿刺包、一次性使用血液透析护理包。具体如下。

图片

图片

资料来源:酒泉市医疗保障局

值得注意的是,此前在2月2日,酒泉市医保局曾公布10类耗材集采的拟中选结果,彼时共产生2142条中选记录,对比本次《通知》公布的中选结果,共减少了361条中选信息。本次正式中选结果中,共124家企业、1781个产品中选,部分中选信息如下

图片

图片来源:酒泉市医疗保障局

本次采购周期为2年,目前正式执行时间尚未公布,随着集采进度的推进,又10类耗材集采即将落地酒泉市。

02

机制优化

普耗集采加速

近年来,普耗集采已成为我国医药集采的重要组成部分,普通医用耗材集采已不仅仅只活跃在各省级、省际联盟开展的集采工作中,还有越来越多市际联盟广泛开展普耗集采工作。

酒泉市本次选取的10类耗材多为临床用量较大的耗材,并且多类耗材此前已历经过集采降价的洗礼。

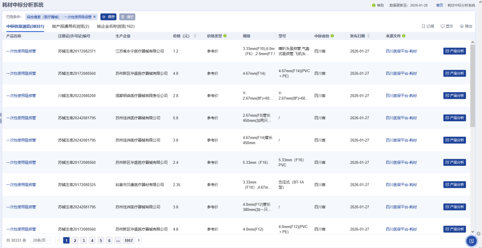
以一次性使用吸痰管为例,据药智医械数据查询,目前已收录该类耗材2583条集采信息,38331条耗材中标信息。其中,该类耗材的采购量已达到312.19万,江西省此前已广泛集采过该类耗材。

图片

图片来源:药智医械数据

除本次酒泉市普耗集采以外,还有兰州市市际联盟、福建各地级市牵头开展的全省性联盟集采、阜阳普耗带量价格联动、抚州低值耗材市级联盟等工作。各地因地制宜,大多选取未开展过集采工作,或降价不充分的耗材品种进行采购,多类耗材降价明显。

地市级普耗集采的加速推进,体现了目前我国集采常态化、加速提质扩围、协同推进的集采策略,更好地满足各地方的实际需求。

此外,值得一提的是,目前集采政策也在不断完善中,集采政策正在从唯低价向质量优先、价格合理转变。本次酒泉市集采也采用了价格纠偏机制,即同竞价单元内,对拟中选价格价差较大的产品组织专家进行价格纠偏,不接受纠偏的取消拟中选资格。第六批耗材国采也正式引入“反内卷”规则,并且该机制的变化也体现在越来越多地区开展的集采工作中。

03

结   语

随着集采持续深化扩围,集采政策已形成多层次、广覆盖的体系,并呈现出从国家到省际、省级联盟,再到地市级集采的立体格局。集采常态化背景下,越来越多耗材品种将迎来新一轮降价。

声明:本文仅作信息传递之目的,并不代表本平台观点,本文不是治疗方案推荐,也不构成投资建议。如涉及作品内容、版权和其它问题,请在本平台留言,我们将在第一时间核实并处理。