烂尾洋房变菜地? 实探江北五桥世茂大盘

烂尾多年的洋房组团,竟被业主开垦成了菜地?

近日,一则来自公开平台的帖子引起锐评君的注意。发帖人为江北世茂璀璨江山的高层业主,小区长期烂尾的洋房组团,已被部分业主自发打理、种上蔬菜。


究竟怎么回事?锐评君进行了实探,为大家带来更多信息。

01

说起世茂璀璨江山,熟悉的南京买房人并不少。

2017年7月,经过301轮竞拍,世茂以49.8亿和30400㎡人才房摘得江北五桥附近的璀璨江山地块,实际楼面价22554元/㎡。世荣置业表示,将投资70亿元开发本地块,住宅部分为11栋洋房和11栋高

2019年11月底璀璨江山首开,销许均价约2.6万/㎡,主力户型建面约95-141㎡;至2021年9月底,璀璨江山累计推出11栋高层住宅和1357个地下车库。

后来的事情大家都知道了。因世茂暴雷,导致世茂集团在全国的大量项目面临停工、易主等情况。璀璨江山就是其中之一,11栋洋房一直未售,已烂尾多年。

如今,烂尾的洋房组团变成业主们“家门口的小菜园”,跟着锐评君一起来看看。

图片

具体来看,璀璨江山的高层组团位于北侧、洋房组团位于南侧。北侧高层区域入住的业主并不少,不少家长带着孩子在儿童游乐场玩耍。

图片
图片

小区内路面整洁,地面电动车停放整齐,树木修剪整齐,垃圾分类小屋也很干净,能看出来物业日常维护还是很到位的。

图片

往南侧的洋房组团走去,“7层谧境 演绎低密舒居”的绿色围挡很显眼。

图片

现场可以看出,洋房组团的建筑主体已施工完成,窗户也已安装完成。一楼有小院子,二楼及以上都有南向双阳台,舒适度很在线。

公区绿地,除了项目打造的绿化带外,随处可见业主们种上蒜苗、青菜、萝卜等当季蔬菜。

图片
图片

一楼的小院子也被打理整齐,几乎每处院子都成了菜地,绿油油的蔬菜长势喜人,两条横着的枝条变成象征性的“院门”。

图片

还有几处院子变成了“仓库”,纸盒子、矿泉水瓶等物品码放整齐。

图片

走进楼栋内部,不少楼道因为潮湿而斑驳,白灰大面积掉落。

图片
图片

屋内户型格局清晰,为毛坯状态,建筑垃圾随处可见。

从当年备受瞩目的改善大盘,到如今令人唏嘘的烂尾资产,璀璨江山洋房组团的遭遇,还得从一份信托说起。

02

2020年12月,陆家嘴国际信托设立陆家嘴信托-佳合73号集合资金信托计划,信托资金用于认购南京世荣发行的“南京世荣置业有限公司2020年私募债券1号”。

南京世荣置业有限公司,正是江北世茂璀璨江山的主体公司。

2022年7月3日晚,世茂集团公告7月3日到期的10亿元美元公募债券未能进行本息偿还,意味着世茂集团正式暴雷。

2023年2月,上海陆家嘴金融贸易区开发股份有限公司发布公告,披露控股子公司陆家嘴国际信托与世茂地产的债务纠纷。


图片

债券交易产生债务纠纷,陆家嘴国际信托一口气向上海金融法院对世茂地产旗下的5家地产公司提起诉讼以及财产保全,分别为南京世荣置业有限公司、南京世茂房地产开发有限公司、芜湖世茂新发展置业有限公司、南京世茂新发展置业有限公司、上海世茂建设有限公司。

具体到南京:南京世荣置业有限公司,为江北世茂璀璨江山的主体公司;南京世茂房地产开发有限公司,为鼓楼滨江外滩新城、璀璨滨江等项目的主体公司;南京世茂新发展置业有限公司,为雨花世茂城品等项目的主体公司。

对于此次债务纠纷,上海金融法院一审判决:
图片

世茂股份旗下南京世荣置业有限公司向陆家嘴国际信托偿还本金18.306亿,以及利息558.54万违约金6262.4万

天眼查追踪的时间线显示,世茂与陆家嘴国际信托的这场债务纠纷,历经曲折:
图片
图片

2023年1月,民事一审出具民事判决书;
2023年2月,驳回异议人南京世茂新发展置业有限公司的异议请求;
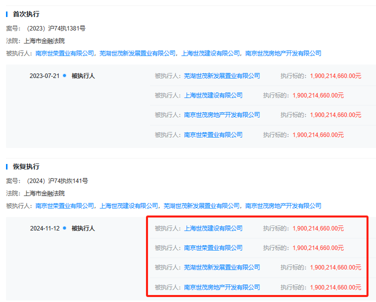
2023年7月,首次执行,执行案号为(2023)沪74执1381号。
2024年11月,恢复执行(2024)沪74执恢141号,执行标的1900214660.0元

图片

去年7月和9月,璀璨江山的11栋洋房、1栋商业和568个地下车位,先后两次以12.5亿和11亿总价起拍,不过结果均为流拍。

从当年备受瞩目的改善大盘,到降价也难寻接盘者的烂尾资产,璀璨江山洋房组团烂尾至今。


图片


镜头对准当下,被按下暂停键的土地,变成生机勃勃的菜地,用业主们自己的话来说,也算是另一种“闲置土地再利用”。


03


除了江北璀璨江山,世茂给南京留下的“遗憾”并不少。

河西世茂天誉

世茂天誉将拟建约300米高写字楼(高区引入洲际酒店)、约260米高洲际天誉公馆(酒店式公寓)、约150米高天际大平层豪宅和约12.5万方购物中心。

2020年初,写字楼和购物中心传出停工消息。同年7月世茂正式宣告暴雷,世茂天誉项目包括公寓在内,陷入全面停工。

2024年初,项目酒店式公寓正式复工;2025年年中,世茂天誉表示重启公寓新一阶段的房源销售,用于回款和销售。

图片

拍摄于2025年5月


只是,自2016年9月至至今,世茂天誉的土地使用年限为40年的公寓,产权就已缩水近10年

图片

去年底,南京世茂天誉地下车库共419个车位被整体拍卖,起拍总价约1.039亿元,折合单价24.8万/个,结果为流拍。

雨花世茂璀璨睿湾

世茂璀璨睿湾项目配建的商业,2019年拿地、2022年停工,工地被迫沦为“鱼塘”。

图片
拍摄于2024年4月

从状态看,6栋独栋商业楼群雏形已现,5栋楼已封顶,1栋建到3层高,购物中心的地基已基本呈现。

曾有网友在官方网站留言,建议尽快收回2019G02地块未完工商业用地。官方表示该地块商业部分被南京市雨花台区人民法院强制执行司法查封,需待司法程序处置后再行处理。

截至目前,璀璨睿湾的商业部分,仍未有明显进展。

此外,鼓楼滨江的世茂璀璨滨江剩余1栋住宅楼未售;雨花台区世茂城品1层商场及7-14层办公楼,被转让给南京麓漫叁号;鼓楼滨江的世茂52+5幢负101、102、103室等29套不动产曾低价转让……于城市而言,这些被按下暂停键的项目无疑是资源浪费,希望新的机会能早日到来。