百普赛斯(301080),递交IPO招股书,拟赴香港上市,招商证券国际独家保荐 | A股公司香港上市

图片
2026年1月26日,来自北京经济技术开发区的A股上市公司北京百普赛斯生物科技股份有限公ACROBIOSYSTEMS CO., LTD(以下简称"百普赛斯")在港交所递交招股书,拟香港主板IPO上市。
普赛斯(301080.SZ)2021年10月18日在深交所上市,截至周一(2026年1月26日)收市,其总市值约人民币115.94亿元。
图片
百普赛斯招股书链接:

https://www1.hkexnews.hk/app/sehk/2026/108136/documents/sehk26012601248_c.pdf

图片


主要业务

百普赛斯,成立于2010年,作为一家全球生命科学工具及技术服务提供商,致力于赋能生物制药公司覆盖研发、生产、临床应用的全价值链。公司主要提供全面产品组合,整合了高质量生物试剂(包括重组蛋白、抗体、分析检测试剂盒及其他产品)以及多项技术服务。

百普赛斯产品的协同效应让公司能够提供一站式解决方案,满足生物制药研发从早期靶点发现到临床试验的关键需求。公司的解决方案涵盖关键治疗领域,如肿瘤学、自身免疫性疾病、心血管疾病、代谢性疾病、 CNS及传染病,同时积极支持XDC/ADCCGT及多特异性抗体等前沿模式。

截至最后实际可行日期,百普赛斯提供逾5,000个产品SKU及多样化的技术服务组合,所有生产或执行均在严格的国际质量标准(包括ISO90012015ISO134852016cGMP MDSAPCNASRx360)下进行公司的产品及服务组合,及其各自对应的药物模式及应用流程:

图片

根据弗若斯特沙利文的资料,百普赛斯:

公司是生物试剂行业的领先企业,尤其是在重组蛋白细分领域。在全球重组蛋白市场中,于2024年按收入计,公司在所有中国本土供货商中排名第一、在全球所有供货商中排名第三;同年公司在中国生物试剂行业的所有供货商中排名第四。

公司的客户涵盖全球前20大制药公司、全球前五大生命科学服务提供商。客户黏性表现卓越,于往绩记录期间,前20大客户的回购率达100%

图片
图片
图片



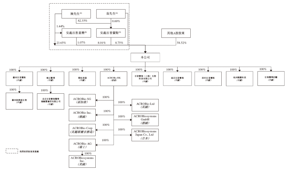
股东架构

根据招股书披露,百普赛斯在香港上市前的股权架构中,

陈宜顶先生、苗景赟先生,为一致行动人,合计持有及控制41.48%的股份,为控股股东。

其他A股股东持股58.52%。

图片

图片

董事高管

百普赛斯董事会,由8名董事组成,包括:
  • 3名执行董事:
陈宜顶先生(董事长、总经理)
苗景先生(副总经理)
屈文婷女(行政部副总监、雇员代表董事)

  • 1名非执行董事:
李杨女士(浙江普华天勤合伙人)

  • 4名独立非执行董事:

许娟红女士(前天职国际副总会计师、合伙人)

刘峰先生(锦天城律师事务所高级合伙人)

张勇先生(前称张兴雷先生)(西南大学资源环境学院教授)

吴凤廷女士(Albaugh Asia Pacific Limited的中国亚太区总裁)


除执行董事外,高管包括:
林涛先生(财务负责人、副总经理、董事会秘书、联席公司秘书)
黃旭女士(副总经理);
陈霞敏女士(副总经理)


公司业绩

招股书显示,在过去的2023年、2024年和2025年前九个月百普赛斯的营业收入分别为人民币5.44亿、6.45亿和6.13亿元相应的净利润分别为人民币1.48亿、1.20亿和1.32亿

图片


中介团队

百普赛斯是次IPO的中介团队主要有:

招商证券国际为其独家保荐人;

容诚为其审计师;

通力其公司中国律师;

摩根路易斯其公司香港律师;

金杜券商中国律师;

方达(香港)其券商香港律师;

同人融资为其合规顾问;

弗若斯特沙利文为其行业顾问。