高增长神话褪色,微电新能源IPO面临“天花板”挑战

凤凰网财经《公司研究院》

1月26日,港交所官网披露了广东微电新能源股份有限公司(以下简称“微电新能源”)在港交所提交的上市申请,公司上市材料被正式受理,独家保荐人为国泰海通

图片

图片来源:招股书

公开数据显示,微电新能源是全球领先的高性能、高安全的微型锂离子电池综合解决方案提供商,致力于解决微型电池材料和电池设计的核心难题,突破现时其他可用锂离子配方和技术的局限。

根据灼识咨询的资料,按2024年出货量计,公司于多个微型锂离子电池领域位列全球前五大供货商:公司的消费级智能终端微型锂离子电池出货量为103.2百万个,全球排名第四,中国供货商中排名第二;及公司的无线耳机微型锂离子电池出货量为86.9百万个,全球排名第二,中国供货商中排名第一。

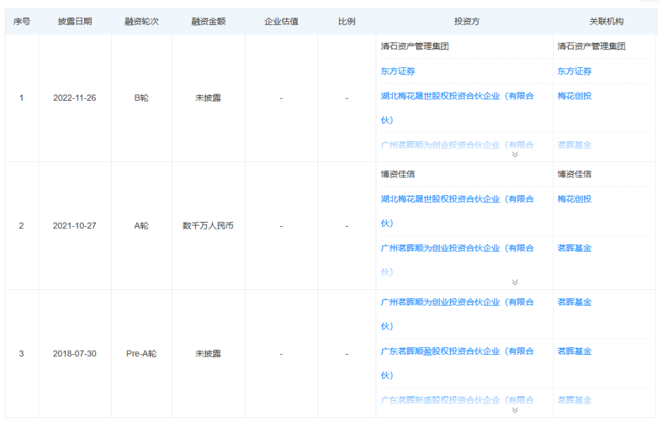
天眼查显示,公司至今已有3轮融资,资方包括清石资产管理集团、东方证券、梅花创投关联企业湖北梅花晟世股权投资合伙企业(有限合伙)等。

图片

图片来源:天眼查截图

公司现任董事长为陈志勇。2015年前后,智能耳机市场规模的迅速增长,让陈志勇看到机会。他结合欧美工作生活20余年的履历、国际市场广泛的人脉资源和对微电行业及产品的前沿动态的掌握,抓住行业爆发期,于2017年12月创立广东微电新能源有限公司。

图片

图片来源于网络

招股书显示,2023年至2024年,公司收入从3.51亿元增长至5.33亿元,2025年前三季度收入为4.34亿元;同期净利润由679.5万元提升至5809.6万元,毛利规模同步扩大。相比大量仍处在亏损或微利状态的消费电子供应链企业,这一曲线显得相对健康。

图片

图片来源:招股书

但问题在于,当前消费电子整体增长趋缓、下游品牌强势压价,外界对微型电池这一赛道前景存疑。

灼识咨询数据显示,2020至2024年,全球消费级智能终端锂离子电池出货量年复合增长率仅约1.4%。在手机、平板等成熟品类需求见顶后,消费电子电池行业早已告别量价齐升的黄金时期。微型锂离子电池已经不再是足够性感的市场。

当市场步入瓶颈期,微电新能源尚未以规模构筑绝对的竞争壁垒。按2024年出货量计,其消费级智能终端微型锂离子电池第四的排名,尚且难称高枕无忧。

眼下,智能眼镜及智能戒指等新型可穿戴设备正逐步进入商业化放量阶段,渗透率持续提升,成为推动微型锂离子电池需求增长的重要来源,或成为下一个风口。但风险同样清晰,消费电子终端的创新节奏并不确定,如果AI可穿戴设备或新硬件放量不及预期,需求弹性将迅速消失。

当新能源叙事逐渐从宏大回到真实需求,微电此番冲刺港股,或许需要重新塑造自身的资本故事。

参考报道:

港股研究社:当消费电子不再高增长,微电新能源的IPO还能走多远?