老牌国货隆力奇再陷传销争议,旗下倍莱鲜羊奶粉还涉嫌虚假宣传?

作者 | 赵栀

编辑 | 趣解商业资讯组

近日,老牌国货隆力奇陷入了传销争议。

据“南方都市报”报道,多位消费者称隆力奇旗下“倍莱鲜羊奶粉”以直销为名,开展涉嫌传销的销售活动。

一位消费者孙女士表示,54岁的母亲退休后开始接触隆力奇旗下倍莱鲜羊奶粉项目。而册子上不仅宣称产品具有“15天瘦13斤”“深度改善睡眠”等功效,更清晰地标注了层级晋升机制——根据购买金额和发展下线数量可获得不同级别的代理资格及进货价格。

图片

图片图片来源:“南方都市报”公众号

另一位消费者谢先生进行深入调查后发现,倍莱鲜团队会组织代理、消费者前往乳业生产基地考察,还会组织前往苏州线下培训、听课。他向媒体展示了自己收集的证据:标注团队计酬比例的推广资料、讲授“月入十万”方法的内部培训视频、夸大功效的朋友圈文案。

谢先生曾向当地市场监管部门举报该项目的虚假宣传行为,最终帮助参与该项目的姐姐追回大部分款项。

但更让他困惑的是品牌授权链条:倍莱鲜羊奶粉仅持有普通食品生产许可,却长期进行保健功效宣传;而隆力奇虽持有直销牌照,但其许可产品目录中并不包含倍莱鲜系列。

其认为,“倍莱鲜利用隆力奇的品牌影响力进行背书,却在法律和资质上刻意‘切割’,让实际运营风险与品牌主体分离。”

倍莱鲜羊奶粉外包装显示,该产品由江苏隆力奇生物科技股份有限公司委托陕西英童乳业有限公司生产,产品类别为“调制羊乳粉”,持有食品生产许可证。

而根据商务部直销行业管理信息系统公示信息,江苏隆力奇生物科技股份有限公司持有的直销牌照,批准范围明确限定于化妆品、保健食品、保洁用品三大类别,涵盖共计87种具体产品。

图片图片来源:商务部直销行业管理网站

“倍莱鲜羊奶粉”并不在该公司合法的直销产品名录之内。这意味着,任何以“隆力奇直销”名义销售该羊奶粉的行为,均属于超出许可范围的违规经营。

截至1月20日,隆力奇方面未就此事进行公开回应。

值得一提的是,2013年6月,央视财经发布了一篇有关“隆力奇涉嫌非法传销”的文章,称隆力奇在江苏、天津、辽宁等省市活动猖獗,学员在利诱下开始了“拉人头”的传销之路,上当受骗的人众多。

2023年,据媒体报道,隆力奇董事长徐之伟因涉嫌非法集资被苏州警方取保候审。隆力奇不同部门的工作人员回应称,对董事长被取保候审“没有收到消息”,公司正常运营,“线下业务正常开展”。

另外,2023年,话题“隆力奇董事长曾带头发布违规广告”的话题曾在网上引发关注。据悉,据国家市场监督管理总局主管媒体《产品可靠性报告》的微信官方公众号消息,官方曾点名批评隆力奇董事长携多位明星发布涉嫌违规广告。

图片图片来源:微博截图

多起争议下,老牌国货隆力奇已不复往日荣光。

1992年,徐之伟成立江苏隆力奇集团有限公司(即江苏隆力奇生物科技股份有限公司,以下简称“隆力奇集团”),主营产品包括蛇油膏、蛇油护手霜等。2008年,隆力奇的发展达到高峰,这一年销售额达70亿元,一度成为本土最好的蛇油品牌。与此同时,凭借着央视黄金时段广告的营销,隆力奇蛇油膏大卖,连续11年全国销量第一。不过,在这之后,隆力奇再未公开过销售收入。

有业内人士表示,隆力奇衰落最核心的原因,还是因为自身产品力的老化,产品能力的不足,进而导致后续的一系列问题。

天猫隆力奇旗舰店显示,隆力奇还推出了沐浴露、精华液、洗面奶、洗发水等产品,但销量最高的仍是蛇油护手霜。

从行业来看,隆力奇不仅要面对百雀羚、屈臣氏、仁和、修正等企业同类产品的竞争,还要提防马油、羊羔油等其他产品抢夺市场。

随着主业不振,隆力奇开始寻求“赚快钱”的途径。

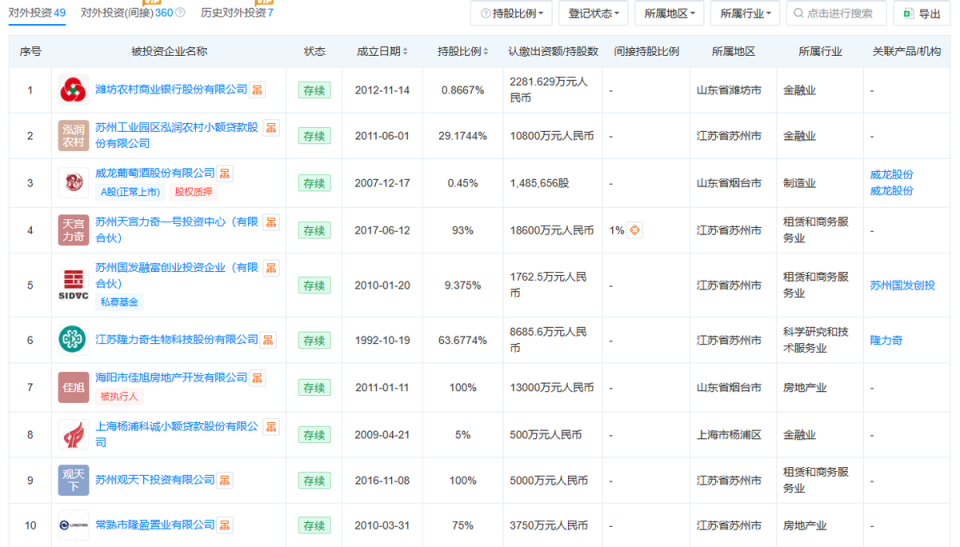
天眼查显示,隆力奇集团投资了两家小额贷款公司,苏州工业园区泓润农村小额贷款股份有限公司、上海杨浦科诚小额贷款股份有限公司,目前这两家公司处于存续状态。

图片图片来源:天眼查截图

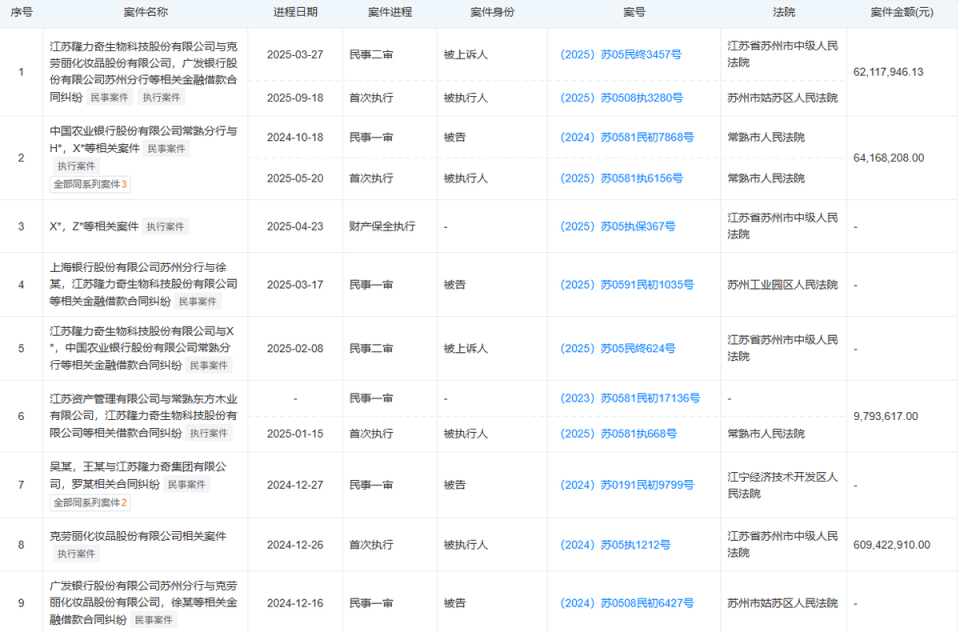
目前,隆力奇集团自身也深陷多起司法纠纷。天眼查显示,隆力奇共有49条自身风险,包括9条股权冻结信息、10条立案信息、22条开庭公告、3条法院公告等。

值得一提的是,隆力奇集团66条司法案件中,多条涉及金融借款合同纠纷。此前,隆力奇集团还曾9次被列为被执行人,被执行总金额达8.79亿元。

图片图片来源:天眼查截图

争议不断、产品竞争力有待提高,隆力奇这位日化“老兵”的复兴之路,或将是一场需要刮骨疗毒的深刻蜕变。