论文推荐|西准噶尔谢米斯台辉绿岩锆石U-Pb年代学及其构造意义

西准噶尔谢米斯台辉绿岩锆石U-Pb年代学及其构造意义

杨伟,邱亮,木红旭,颜丹平,童英,刘章鹏,张海华,张蕊,成橙

DOI:10.19657/j.geoscience.1000-8527.2025.012

摘要

谢米斯台增生杂岩带位于西准噶尔造山带西南缘,记录了晚石炭世至早二叠世的岩浆活动,反映了古亚洲洋的俯冲和闭合过程,但是该地区俯冲开始的时间仍存在诸多争议。谢米斯台地区广泛分布的辉绿岩墙,为追索俯冲的开始时间提供了重要线索。本研究对谢米斯台地区的辉绿岩墙进行了U-Pb定年,获得了343 Ma、314 Ma、221 Ma和198 Ma的岩浆结晶年龄。进一步分析西准噶尔地区基性岩的测年结果,发现岩浆活动的高峰期在310~300 Ma,而基性岩的侵位年龄自南西向北东逐渐变年轻。同时,该地区还发育有大量组分复杂的花岗岩类,其同位素特征显示了巨量的新生物质的加入,符合洋脊俯冲的地球化学特征。综合分析已发表的辉绿岩锆石U-Pb年龄显示西准噶尔地区南西—北东有逐渐变年轻的趋势,可能指示了西准噶尔地区在晚石炭世开始发生古亚洲洋岩石圈的俯冲。

Abstract

The Xiemisitai Accretionary Complex is located on the southwestern margin of the Western Junggar Orogenic Belt, recording magmatism from the Late Carboniferous to the Early Permian and reflecting the subduction and closure processes of the Paleo-Asian Ocean.However, there is still considerable debate regarding the timing of the onset of subduction in this region.The widely distributed diabase dykes in the Xiemisitai area provide important clues for tracing the onset time of subduction.This study performed U-Pb dating on the diabase dykes in the Xiemisitai area, obtaining magmatic crystallization ages of 343 Ma, 314 Ma, 221 Ma, and 198 Ma.Further analysis of the results of mafic rocks in the Western Junggar region reveals that the peak period of magmatic activity occurred from 310 Ma to 300 Ma, and the emplacement age of basic rocks gradually becomes younger from the southwest (SW)to the northeast (NE).At the same time, the area also hosts a large number of compositionally complex granitoids, whose isotopic characteristics indicate the addition of a substantial amount of juvenile material, consistent with the geochemical characteristics of oceanic ridge subduction.Comprehensive analysis of published U-Pb dating results of zircons from diabase indicates a gradual younging trend of the ages from the SW to the NE in the Western Junggar region, which may indicate that the subduction of the Paleo-Asian Ocean lithosphere began in the Western Junggar region during the Late Carboniferous.

关键词

洋脊俯冲; 中亚造山带; 西准噶尔; 谢米斯台; 锆石U-Pb年代学

Keywords

ocean ridge subduction; Central Asian Orogenic Belt; Western Junggar; Xiemisitai; zircon U-Pb geochronology

0 引言

中亚造山带位于西伯利亚克拉通、塔里木克拉通和华北克拉通之间,是全球最大的显生宙增生型造山带之一(图1(a))[1]。西准噶尔地区作为中亚造山带西南缘的重要组成部分,发育了大量古生代正εNd(t)值的花岗岩和中-基性岩,暗示了显著的大陆地壳生长[2]。该区内多条蛇绿混杂岩带显示了复杂的俯冲增生过程[3-5],包括后碰撞模式和洋脊俯冲模式两种构造演化模式[6-8]。但是俯冲开始的时代尚不清晰,存在较大争议[9]。

后碰撞模式最初用于解释西准噶尔花岗岩岩基的形成,但缺少相关的构造变形证据。由于大量花岗岩岩浆的侵入,无法有效约束俯冲时代。而该地区发育大量基性岩墙群,与俯冲过程有关,可以用来限定俯冲的时代[10-11]。前人在西准噶尔进行了大量测年工作,但由于测试手段和采样位置的差异,测年结果存在差异。从已发表的年代学结果表明,辉绿岩岩墙形成于343~174 Ma[12-14],时间跨度大,仍需要对辉绿岩的侵入时代进行分析,更精确地限定俯冲的起始时间。

本次研究在西准噶尔谢米斯台地区采集侵入花岗岩中的辉绿岩墙及脉,进行年代学分析。通过野外地质调查和锆石U-Pb测年,并统计前人的研究成果,对基性岩形成的时代、时空分布及动力学背景提供了新的约束。通过精确的年代学分析,有助于更准确地理解西准噶尔地区的地质历史和构造演化过程,尤其是与俯冲过程相关的时代和动力学背景。

1 地质背景

1.1 区域地质概况

西准噶尔造山是中亚造山带西南缘重要的增生型造山带,构造上位于额尔齐斯—斋桑缝合带以南、北天山缝合带以北、准噶尔盆地以西,包含一系列岛弧、蛇绿岩、海山及增生杂岩带[15-17]。以谢米斯台断裂为界,西准噶尔造山带南部发育北东向断层为主,主要形成于晚二叠世—三叠纪以及新生代;北部发育近东西向断层为主,少量北东向断层,且控制岩浆弧的发育[18-19](图1)。

图片

图1  研究区域地质简图及大地构造位置(据文献[32-33]和本文资料综合编制)

Fig.1  Simplified regional geological map showing tectonic location of the study area(compiled according to references[32-33]and the data in this paper)

西准噶尔南部造山带发育大量古生代的花岗岩、辉绿岩及相关侵入岩。年代学研究表明,花岗岩主要形成于350~315 Ma,而基性侵入岩则主要形成于343~174 Ma,其地球化学特征显示其形成于俯冲相关的构造背景[20-22]。西准噶尔的花岗质岩石被定性为A型和I型花岗岩以及埃达克岩和紫苏花岗岩,主要由准噶尔洋和额尔齐斯—斋桑洋的南向俯冲形成,起源于亏损地幔或者古生代洋壳[23]。造山带南部的岩浆岩以早古生代岛弧岩浆岩和唐巴勒、玛依勒地区的上俯冲带型(SSZ)蛇绿混杂岩为主[24-26]。造山带北部的塔尔巴哈台山地区主要由泥盆系至石炭系火山-沉积岩组成,局部出露上奥陶统和志留系的碎屑岩。扎伊尔山地区火山岩主要是一套中泥盆统浅海相中基性火山碎屑岩夹火山熔岩[27-28]。西准噶尔南部的基性岩以早古生代岛弧和上俯冲带型(SSZ)蛇绿混杂岩为主[21-22]。基性岩的发育特征记录了西准噶尔地区的俯冲增生过程,尤其是在古生代时期洋壳的俯冲过程。此外,谢米斯台南边的白杨河铀矿成矿常与辉绿岩脉空间共生。因此,厘清谢米斯台辉绿岩脉形成时间对于理解该地区的地质活动历史和矿产资源具有重要意义[29-31]。

1.2 研究区地质特征

本文研究区位于新疆和布克赛尔蒙古县西南部的谢米斯台火山岩带(图2)。西准噶尔北部谢米斯台山东段及其周边地区地质构造复杂。塔尔巴哈台山地区以泥盆系—石炭系火山-沉积岩为主,局部出露上奥陶统和志留系碎屑岩[34]。萨吾尔山地区以中泥盆统中酸性火山碎屑岩和下石炭统海相火山沉积岩为主。沙尔布尔提山地区发育志留系,以海相火山碎屑岩为主。吾尔喀什尔山地区以中泥盆统浅海相中基性火山碎屑岩夹火山熔岩为主,其主要地层单元包括基性-中性-酸性火山岩和火山碎屑岩以及中酸性侵入岩,这些地层主要形成于晚志留世至早泥盆世早期。该区发育大量岩墙,岩墙主要由中性闪长(玢)岩、基性辉长岩及辉绿岩组成。本文样品采自侵入花岗岩与喷出岩中的辉绿岩脉。在野外露头尺度上,在野外露头尺度上可以清晰观察到辉绿岩脉侵入花岗岩后被断层错断。

图片

图2  谢米斯台地质构造图及其地质剖面图(据1:20万地质图和资料编制[35])

Fig.2  Geological map and geological profile of Xiemisitai area(compiled according to 1:200,000 geological map[35])

2 样品信息和测试方法

2.1 基性岩脉产出特征与岩相学

布拉呼特乌拉辉绿岩脉(HF20-1)侵入到花岗岩中,延伸方向为南南东方向(图3(a)和(b))。五阿沙辉绿岩墙(HF29-1)侵入到肉红色花岗岩中,岩墙宽约0.5 m,延伸方向为正南,长度约500 m(图3(c))。该辉绿岩的主要矿物组成为辉石、石英、方解石和黑云母,围岩主要为肉红色钾长花岗岩。巴希里达辉绿岩墙(HF34-1)侵入淡红色二长花岗岩中,岩墙宽约3m,延伸方向为北西西(图3(d))。硕肯乌兰辉绿岩墙(HF36-1)侵入灰白色安山岩中,解理发育,岩墙宽约1.5 m,延伸方向为正北,长度约1000 m(图3(e))。硕肯乌兰辉绿岩墙(HF37-1)侵入到流纹岩中,延伸方向为南南东(图3(f))。岩墙宽度为0.3~0.5 m,延伸数公里。研究区内辉绿岩露头较好,分析测试选取的样品除样品HF36-2为花岗岩,其余均为辉绿岩,岩石样品有轻微蚀变。

图片

图3  谢米斯台辉绿岩典型野外构造照片(照片位置见图2)

Fig.3  Typical field photographs of diabase in the Xiemisitai area(locations are shown in Fig.2)

在显微镜下观察到自形程度高,辉绿岩具有典型的辉绿结构,主要矿物包括辉石、斜长石、石英和黑云母,副矿物有锆石、磷灰石以及不透明矿物(图4)。斜长石颗粒自形程度较好,具有双折射现象。在偏光显微镜下,可见斜长石呈现规则边界的长条状,并显示明暗交替的聚片双晶(图4(a))。黑云母自形程度较好,主要呈板条状,具有完全解理,平行消光且内部纯净无嵌晶,部分颗粒发生绿泥石化(图4(b))。此外,部分黑云母颗粒内部成分均一,但边部成分与内部存在明显差异。在正交偏光下,核部呈红褐色,边部呈蓝绿色,显示出明显的成分环带现象(图4(c)和(d))。相比之下,辉石颗粒呈半自形到他形,半透明,表现为短柱状,局部有不规则边缘,个别辉石发生轻微的黏土化蚀变(图4(e))。石英自形程度较差,呈填充状分布于其他矿物之间,内部较为纯净,无熔蚀结构或嵌晶矿物。方解石颗粒完整,在显微镜下显示双折射,呈现六边形棱柱,偏光显微镜下有明显的颜色变化(图4(f))。

图片

图4  谢米斯台地区辉绿岩样品显微照片

Fig.4  Photomicrographs of diabase samples

2.2 锆石U-Pb定年

锆石分选工作在廊坊北京锆石领航科技有限公司完成。具体样品分选流程包括将样品进行清洗并干燥,随后粉碎至80目,对粉末进行人工重淘洗处理,最后使用酒精细淘、电选、磁选等方法进行重矿物分选工作。在北京中科矿研检测技术有限公司完成锆石制靶与反射光、透射光及阴极发光图像拍摄并拍摄。

在应急管理部国家自然灾害防治研究院实验室中采用LA-ICP-MS(等离子体质谱法)对样品进行U-Pb同位素测年。实验室使用RESOlution SE型193 nm准分子激光剥蚀系统(LA)和Agilent 7900型四级杆电感耦合等离子质谱(ICP-MS)联机进行了锆石微区U-Pb定年分析。采用35 μm的激光斑束,激光取样过程中每个点位分析时间为100 s,先20 s背景空白,之后50 s样品剥蚀,剩余30 s进行信号稳定,为下一个样品分析准备,U等元素信号强度,确保试验数据有效。将NIST 610作为元素含量外标,锆石91500作为Th/U同位素比值外标,锆石GJ-1和Plesovice作为未知样品据质量监控标。所测得的实验数据再使用Iolite 4软件进行数据处理、分析校正、定量计算以及结果的实时监控与图表输出,同位素比值及年龄误差均为2σ[36-37]。普通铅采用文献中程序校正,谐和图和平均年龄图均采用IsoplotR软件绘制[36]。

3 分析结果

3.1 锆石形态和阴极发光

锆石颗粒大多为无色透明或浅黄色,自形至半自形晶,且具有明显的振荡环带,少量锆石因溶蚀形态不规则(图5)。样品HF20-1的锆石为半透明或浅黄色,部分晶型有破损,呈自形棱柱状,磨圆较差,锆石晶体中间部分较黑,长宽比为1:5;样品HF34-1的锆石为无色透明,晶型完好,呈六棱柱状,长宽比为1:1,磨圆较差;样品HF36-1的锆石为半透明,晶型破损,呈六棱柱状,长宽比为1:1.6;样品HF36-2的锆石呈现暗色,晶型破损,棱柱保留不完整,长宽比为1:1.2,锆石中暗色物质较多(图5(a)和(b));样品HF37-1的锆石为黄色半透明,晶型完整,长宽比为1:1.2(图5(c))。总之,本次测年的锆石颗粒长度在100~160 μm之间,长宽比为1:1~1:1.6。阴极发光图像显示,大部分锆石具有清晰的内部结构和典型的岩浆振荡环带以及明暗相间的条带结构。

图片

图5  谢米斯台代表性锆石阴极发光图像、分析点位和年龄

Fig.5  Representative cathodoluminescence(CL)images,analyzed spots and age of zircons in the Xiemisitai area

3.2 锆石年龄

布拉呼特乌拉辉绿岩样品HF20-1中18颗锆石,其中最年轻的6颗锆石206Pb/238U谐和年龄(268.1 ±6.82)Ma;最年轻四颗锆石206Pb/238U加权平均为(198.03 ±2.64)Ma(图6(a)和(b));五阿沙辉绿岩样品HF34-1中的4颗锆石206Pb/238U谐和年龄(225.88 ±2.37)Ma;取最年轻的4颗锆石206Pb/238U加权平均为(221.4 ±3)Ma(图6(c)和(d));硕肯乌兰辉绿岩样品HF36-1中14颗锆石的206Pb/238U加权平均年龄为326 Ma,年龄呈现分期;年轻一组7颗锆石平均年龄=(314.64 ± 3.4)Ma,另一组6颗锆石平均年龄=(342.31 ± 3.76)Ma(图6(e)和(f));硕肯乌兰辉绿岩样品另外一个样品HF37-1锆石206Pb/238U谐和年龄是(420.39 ±2.66)Ma,其中取最年轻四颗锆石206Pb/238U加权平均为(343.60 ±5.46)Ma(图6(g));岩浆锆石来自HF20-1、HF34-1、HF36-2和HF37-1,共93颗,峰值年龄为219 Ma、452 Ma、842 Ma、1490 Ma、1933 Ma和2524 Ma(图6(h))(详细数据见附表1)。

图片

图6  锆石U-Pb谐和图和加权平均年龄图

Fig.6  Zircon U-Pb concordia diagrams and weighted mean age diagrams

表1  西准噶尔基性岩岩墙形成时代数据表

Table 1  Formation Age data of mafic dikes in the Western Junggar

图片
图片
图片
图片

3.3 锆石原位微量元素组成

谢米斯台地区布拉呼特乌拉(HF20-1)、巴希里达(HF34-1)、五阿沙(HF36-1)以及硕肯乌兰(HF37-1)地区的辉绿岩中锆石的微量元素含量(附表2)。辉绿岩样品中锆石的稀土元素球粒陨石标准化配分图显示出相似的稀土分配模式,具有较高的稀土元素总量(5.734×103~3.7907×104),轻稀土元素相对平坦[(La/Yb)N =0.00~0.48],重稀土元素富集[(Gd/Yb)N =0.13~0.44],表现出左倾(图7)。轻稀土元素在所有样品中均显示出较高的富集程度且分布模式一致,呈现平坦的趋势,表明这些元素在岩石中的分布较为均匀。重稀土元素的含量逐渐增加,最高的Lu达到了球粒陨石标准化值的1000倍以上,显示出一致的右上倾趋势,表明这些元素相对更加富集。Eu在图中显示出异常状态,大多数样品表现为正Eu异常,意味着Eu元素含量相对较高,可能与Eu的氧化还原状态变化有关。部分样品出现Eu异常,其中以布拉呼特乌拉(HF20-1)样品显示出的负Eu异常最为突出,表示在成岩过程中,Eu可能经历了还原条件下的分异。

图片

图7  锆石稀土元素球粒陨石标准化配分图(球粒陨石元素含量据文献[38])

Fig.7  Chondrite-normalized rare earth element patterns of zircons elemental contents(data of chondrite from reference[38])

附表1  谢米斯台辉绿岩LA-ICP-MS锆石U-Pb分析结果

Supplementary Table 1  LA-ICP-MS zircon U-Pb analytical results of the Xiemisitai diabase

图片
图片
图片

4 讨论

4.1 谢米斯台基性岩的侵位时代

从锆石的分类和成因图解显示,谢米斯台辉绿岩墙中的锆石主要形成于陆源环境[39](图8(a)和(b)),其中5个样品中仅有部分来自洋壳(图8(a))。锆石的Th、U含量变化范围大且较高,Th/U值大于0.5,属于岩浆结晶锆石[40]。分析的锆石中只有少部分来自岩浆锆石[41],而热液锆石主要来自造山带流体改造。其中年轻的期次(198 Ma和221 Ma)的锆石并不是来自岩浆成因(图8(d)红色圆圈),而是来自热液流体改造,表明源区可能是受到俯冲板片脱水流体交代的大陆地幔楔。因此,推断343 Ma和314 Ma的岩浆岩形成于板内环境,而198 Ma和221Ma的锆石成因可能和热液活动有关。

图片

图8  谢米斯台地区基性岩样品中锆石的分类和成因图解

Fig.8  Classification and genetic diagrams of zircons from mafic rock in Xuemisitai area

4.2 西准噶尔基性岩墙形成时代

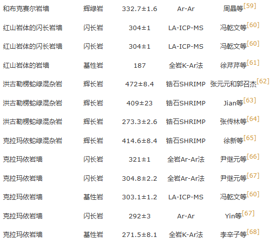
西准噶尔的谢米斯台、阿克巴斯陶、克拉玛依、和布克赛尔、哈图以及铁厂沟和扎伊尔山等地区,都发育大量的中基性岩墙(脉)。岩性主要以闪长(玢)岩、辉长岩和辉绿岩为主,并且以闪长(玢)岩占主导[42]。前人对这些基性岩进行了大量的年代学分析,获得了Rb-Sr,Sm-Nd、KAr以及U-Pb年龄,特别是近年来获得了大量的SHRIMP、LA-ICP-MS锆石U-Pb测年结果。本文对西准噶尔地区基性岩,乃至整个北疆的基性岩墙,进行了详细的统计(n =51)。统计的结果显示,基性岩脉来源于两部分(表1),即蛇绿混杂岩和区域侵入岩。前人研究表明,蛇绿混杂岩中的侵入岩是地幔岩部分熔融后岩浆分离结晶的产物,也是形成地幔的重要组成部分,其结晶时代基本代表了洋壳的形成年代。区域侵入岩形成于拉张环境中的岩脉侵入[43-45]。此外,从结果来看,即使是同一个岩体内的类似岩墙,如克拉玛依岩体中的闪长岩墙,不同测试方法获得的年龄结果差别较大。例如,全岩Ar-Ar法获得年龄为321Ma和304 Ma,全岩K-Ar法获得年龄为187 Ma,而LA-ICP-MS锆石U-Pb获得的年龄为303 Ma[46-47]。从中可以看出不同测试手段获得的年龄存在差异,即使是同一个岩体不同部位的年龄也存在差异。

附表2  谢米斯台辉绿岩LA-ICP-MS锆石稀土元素含量

Supplementary Table 2  LA-ICP-MS determined rare earth element contents of zircons from the Xiemisitai diabase

图片
图片
图片

统计结果显示,西准噶尔地区的基性岩最早形成于572 Ma,最晚侵位于174 Ma;大致可以分为5个峰期(图9),分别是194 Ma、280 Ma、290 Ma、304 Ma以及395 Ma,包括395 Ma和304 Ma这两个主要的峰值,对应于西准噶尔岩浆活动的第一期(晚志留世—早泥盆世)和第三期(晚石炭世—早二叠世)。尤其是304 Ma峰期,此时西准噶尔地区处于岩浆活动最强的阶段,不仅有大量的基性侵入岩,还出现大量的花岗岩,其中包括大量的A型花岗岩,甚至有紫苏花岗岩[71]。同时该地区出现包括高镁安山岩等大量的火山岩,表明在晚石炭世—早二叠世西准噶尔俯冲汇聚的构造背景[72-73]。而本文年龄中的198 Ma和314 Ma两个期次,分别对应西准噶尔岩浆作用194 Ma和304 Ma的两个峰值。

对谢米斯台地区布拉呼特乌拉、巴希里达、五阿沙以及硕肯乌兰地区的辉绿岩石U-Pb测年显示,4个岩墙分别形成于343 Ma、314 Ma、221 Ma以及198 Ma,年龄峰值可以划分两期(343~314 Ma,221~198 Ma),表明在谢米斯台地区至少存在两期基性岩浆作用。两期岩浆作用呈现间歇性活动,活动周期为20 Ma左右。同时五阿沙辉绿岩中还存在太古宙年龄锆石,可能是来自古老地壳的碎屑锆石,表明研究区存在太古代地壳物质。

图片

图9  西准噶尔基性岩锆石年龄直方图(数据来自表1)

Fig.9  Zircon age histograms of mafic rocks in the Western Junggar(referring to Table 1)

值得注意的是,西准噶尔地区的晚石炭世—早二叠世基性岩年龄呈现明显的分布规律,从西南部的玛依勒570 Ma(n =1),经唐巴勒514 Ma(n =3),到阿克巴斯357 Ma(n =1),再到达尔布特370 Ma(n =11),以及克拉玛依273 Ma(n =13),再到红山岩体265 Ma(n =4)以及谢米斯台的岩墙291 Ma(n =6),至东北部的谢米斯台以及和布克赛尔,基性岩的形成时代越来越年轻。沿南西—北东方向的基性岩统计结果显示,距离和年龄呈现线性相关(图1和图10),即从玛依勒蛇绿混杂岩571 Ma到谢米斯台岩脉291Ma呈递减趋势。从西南—北东向呈现逐渐年轻趋势,延伸至谢米斯台侵入岩脉,也符合这个规律[74-76]。在西准噶尔乃至整个北疆谢米斯台地区出露的基性岩浆岩是岩浆作用的最后标志,表明岩脉侵入不仅在时间上呈现多期次,在空间上也存在递进迁移的规律,指示该地区在晚石炭世—早二叠世岩浆作用的迁移可能和板块汇聚过程中的俯冲过程相关[77-78]。在西准噶尔地方大量分布的基性岩脉侵位时代不同,可能揭示了西准噶尔地区岩脉形成于拉张的大地构造背景,而基性岩墙广泛发育与后碰撞岩浆活动密切相关[79-80]。中亚造山带长英质岩浆活动的时间跨度在新疆北部高达200 Ma,而侵入的花岗岩主要形成于350~315 Ma[81]。此外,基性岩脉群的活动时限跨越332~174 Ma,呈现多达6~7次脉动式侵位,时间间隔大致为20~30 Ma。如此漫长的岩浆活动历史导致了复杂的构造岩浆演化过程,其鲜明的特点是脉冲式的岩浆活动伴随着地壳的幕式增长,也表明该地区中基性岩墙的成因机制可能是拉张环境的大地构造背景[82-83]。

图片

图10  西准噶尔基性岩南西—北东向年龄线性相关图

Fig.10  Linear correlation diagram of ages of mafic rocks in the southwest-northeast trend of the Western Junggar

4.3 大地构造意义

西准噶尔地区作为中亚造山带的重要组成部分,记录了古亚洲洋俯冲增生过程,是研究增生型造山作用的关键天然实验室[84-86]。结合年代学、岩相学和收集整理的地球化学数据,揭示了西准噶尔造山带在早石炭世和晚石炭世—早二叠世发生两期岩浆作用。通过对西准噶尔造山带谢米斯台地区早二叠世辉绿岩脉及布克赛尔附近蛇绿混杂岩中的中基性岩的研究表明,西准噶尔在岩浆活动上具有脉动式的侵位规律,岩浆高峰期为310 Ma,而198 Ma和221 Ma从岩浆构造环境判别来源属于热液岩浆。西准噶尔地区出露大量的中基性脉岩,其形成代表了局部伸展的环境,基性岩年龄从南西向北东有年龄递减的规律(图11)。

图片

图11  西准噶尔洋脊俯冲模式图[95]

Fig.11  Subduction model diagram of the Western Junggar oceanic ridge[95]

本文数据显示西准噶尔地区岩浆活动主要发生在晚石炭世末期(310~300 Ma),在该时期形成大量矿床,且相当一部分与铜、金等成矿作用关系密切,如哈图、萨尔托海和包古图金矿以及包古图斑岩铜矿等[87-88]。这一时期还形成大量组分复杂的花岗岩类(如A型花岗岩、I型花岗岩、埃达克岩和富镁闪长岩)[89-91]。安芳等[92]认为在西准噶尔阿尔泰地区存在许多与洋脊俯冲相关的地质记录,如埃达克岩和富铌玄武岩、玻安岩、苦橄岩、A型花岗岩、双峰式火山岩、弧后盆地蛇绿岩、阿拉斯加型基性超基性杂岩、变质岩带、酸性岩墙群、区域变形等,其在空间和时间上的分布规律可以用洋脊俯冲模式合理的解释。徐新等[93]认为在中亚造山带的聚合历史和大陆地壳的增生过程中洋脊俯冲起到了非常重要的作用,并认为古亚洲洋沿着南蒙古活动大陆边缘发生了一次洋脊俯冲事件。此外,沈晓明等[94]认为洋脊俯冲可能造成新疆北部成矿作用的高峰。因此,在谢米斯台地区出露的基性岩不仅记录了从南西往北东迁移的岩浆带中最年轻的岩浆作用,也在空间上处于该岩浆带的北东边缘,可能指示了洋脊俯冲事件的结束。

5 结论

(1)西准噶尔谢米斯台地区的辉绿岩脉锆石U-Pb定年结果显示4件辉绿岩脉的最年轻锆石加权平均年龄分别为约343 Ma、314 Ma、221 Ma以及198 Ma,整体上可划分为343~314 Ma和221~198 Ma两个期次。基性岩浆活动持续了长达约150 Ma,呈现出脉动式侵位特征,且两次脉动式侵位的时间间隔大致为20~30 Ma。

(2)统计西准噶尔地区岩浆岩的年代学数据表明,岩浆活动的高峰期发生在310 Ma。在空间上,沿着南西—北东向,各岩体的年龄呈现线性递减趋势。谢米斯台地区基性岩脉的侵位时间为早二叠世—早侏罗世,在空间上也呈现出南西—北东向的线性递减趋势。

致谢

感谢陈红研究员和两位匿名审稿人对论文提出一系列建设性建议。感谢沈晓明老师、唐秀党老师在实验测试、数据分析和解释等方面的帮助,感谢邓仁东和杨国防在野外工作过程中的帮助,感谢郭臻南对文章格式校对提供的帮助。

基金

基金项目:地球深部探测与矿产资源勘查国家科技重大专项(2025ZD1006500);中核集团铀矿地质勘查项目(遥D2411);中核集团集中研发“四代”铀矿勘查(第一阶段)项目(SD02-03-3)。

参考文献

[1]ȘENGÖR A MC,NATAL'IN B A,BURTMAN V S.Evolution of the Altaid tectonic collage and Palaeozoic crustal growth in Eurasia[J].Nature,1993,364:299-307.

[2]黄鹏辉.新疆西准噶尔成矿带晚古生代花岗岩类岩石学特征及构造意义[D].北京:中国地质大学(北京),2015.

[3]XIAO W J.Paleozoic accretionary and collisional tectonics of the eastern Tianshan(China):Implications for the continental growth of central Asia[J].American Journal of Science,2004,304(4):370-395.

[4]HAN B F,HE G Q,WANG X C,et al.Late Carboniferous collision between the Tarim and Kazakhstan-Yili terranes in the western segment of the South Tian Shan Orogen,Central Asia,and implications for the Northern Xinjiang,western China[J].Earth-Science Reviews,2011,109(3/4):74-93.

[5]韩宝福,何国琦,王式洸,等.新疆北部后碰撞幔源岩浆活动与陆壳纵向生长[J].地质论评,1998,44(4):396-406.

[6]XIAO W J,WINDLEY B F,ALLEN M B,et al.Paleozoic multiple accretionary and collisional tectonics of the Chinese Tianshan orogenic collage[J].Gondwana Research,2013,23(4):1316-1341.

[7]刘希军,许继峰,侯青叶,等.新疆东准噶尔克拉麦里蛇绿岩地球化学:洋脊俯冲的产物[J].岩石学报,2007,23(7):1591-1602.

[8]TANG G J,WANG Q,WYMAN D A,et al.Ridge subduction and crustal growth in the Central Asian Orogenic Belt:Evidence from Late Carboniferous adakites and high-Mg diorites in the western Junggar region,northern Xinjiang(west China)[J].Chemical Geology,2010,277(3/4):281-300.

[9]WANG Q,WYMAN D A,ZHAO Z H,et al.Petrogenesis of Carboniferous adakites and Nb-enriched arc basalts in the Alataw area,northern Tianshan Range(western China):Implications for Phanerozoic crustal growth in the Central Asia orogenic belt[J].Chemical Geology,2007,236(1/2):42-64.

[10]朱宝清,冯益民.新疆西准噶尔板块构造及演化[J].新疆地质,1994,12(2):91-105.

[11]位荀,徐义刚.巴楚辉绿岩墙的岩石成因及其对塔里木大火成岩省岩浆演化的启示[J].岩石学报,2013,29(10):3323-3335.

[12]姜小欢,黄荣,朱露培,等.RF-RTM成像方法研究新疆西准噶尔地区线性台阵下方地壳结构[J].地学前缘,2023,30(5):358-368.

[13]苗秀全.西准噶尔白杨河辉绿岩地球化学特征及其构造意义[D].兰州:兰州大学,2018.

[14]韩宝福,季建清,宋彪,等.新疆准噶尔晚古生代陆壳垂向生长(Ⅰ):后碰撞深成岩浆活动的时限[J].岩石学报,2006,22(5):1077-1086.

[15]ZHANG H H,QIU L,YAN D P,et al.Late-Permian subduction-to-collision transition and closure of Paleo-Asian Ocean in eastern Central Asian Orogenic Belt:Evidence from borehole cores in the Songliao Basin,Northeast China[J].Gondwana Research,2023,122:74-92.

[16]霍有光.准噶尔和布克赛尔地区岛弧—弧后盆地的岩石化学及地质演化[J].西北地质科学,1987(1):57-68.

[17]都厚远,陈家富.西准噶尔和布克赛尔古洋盆的厘定:来自和布克赛尔蛇绿混杂岩的锆石U-Pb年代学及地球化学证据[J].地质学报,2017,91(12):2638-2650.

[18]杜晓飞,王威,张传林,等,2025.新疆东天山哈尔里克山早二叠世超基性岩墙锆石U-Pb年龄、地球化学特征及其构造意义[J].地质力学学报,31(1):156-168.

[19]李锦轶,肖序常.对新疆地壳结构与构造演化几个问题的简要评述[J].地质科学,1999,34(4):405-419.

[20]SHEN P,PAN H D,SHEN Y C,et al.Main deposit styles and associated tectonics of the West Junggar region,NW China[J].Geoscience Frontiers,2015,6(2):175-190.

[21]CHEN Y C,XIAO W J,WINDLEY B F,et al.Structures and detrital zircon ages of the Devonian-Permian Tarbagatay accretionary complex in west Junggar,China:Imbricated ocean plate stratigraphy and implications for amalgamation of theCAOB[J].International Geology Review,2017,59(9):1097-1115.

[22]WINDLEY B F,ALEXEIEV D,XIAO W J,et al.Tectonic models for accretion of the Central Asian Orogenic Belt[J].Journal of the Geological Society,2007,164(1):31-47.

[23]金霄,冯艳芳,罗晓玲,等.准噶尔盆地南缘环博格达山中二叠统黑色泥页岩生烃动力学研究:对周边探区油气勘探启示[J].现代地质,2023,37(5):1321-1335.

[24]HAN B F,GUO Z J,ZHANG Z C,et al.Age,geochemistry,and tectonic implications of a Late Paleozoic stitching pluton in the North Tian Shan suture zone,Western China[J].Geological Society of America Bulletin,2010,122(3/4):627-640.

[25]ZHU Y F,CHEN B,XU X,et al.A new geological map of the western Junggar,north Xinjiang(NW China):Implications for Paleoenvironmental reconstruction[J].Episodes,2013,36(3):205-220.

[26]ZHANG J E,XIAO W J,HAN C M,et al.Kinematics and age constraints of deformation in a Late Carboniferous accretionary complex in Western Junggar,NW China[J].Gondwana Research,2011,19(4):958-974.

[27]牛花朋,刘姗,焦小芹,等.准噶尔盆地西北缘石炭系火山岩地球化学特征及其成因机制[J].现代地质,2025,39(3):588-597.

[28]ZONG R W,WANG Z Z,JIANG T,et al.Late Devonian radiolarian-bearing siliceous rocks from the Karamay ophiolitic mélange in western Junggar:Implications for the evolution of the PaleoAsian Ocean[J].Palaeogeography,Palaeoclimatology,Palaeoecology,2016,448:266-278.

[29]木红旭,徐隆鑫,芮歆旻,等.准噶尔盆地东缘老君庙地区砂岩型铀矿成矿要素遥感识别[J].地质与勘探,2024,60(4):809-819.

[30]COMPSTON W,WILLIAMS I S,KIRSCHVINK J L,et al.Zircon U-Pb ages for the early Cambrian time-scale[J].Journal of the Geological Society,1992,149(2):171-184.

[31]BUCKMAN S,AITCHISON J C.Tectonic evolution of Palaeozoic terranes in west Junggar,Xinjiang,NW China[J].Geological Society,London,Special Publications,2004,226(1):101-129.

[32]张弛.新疆蛇绿岩某些地质特征[J].地质论评,1981,27(4):307-314.

[33]QIU J T,SONG W J,JIANG C X,et al.CGDK:An extensible CorelDRAW VBA program for geological drafting[J].Computers &Geosciences,2013,51:34-48.

[34]肖艳东,黄建华,王哲,等.新疆和布克赛尔县白杨河铀、铍矿床空间分布特征[J].西部探矿工程,2011,23(9):123-126.

[35]VERMEESCH P.IsoplotR:A free and open toolbox for geochronology[J].Geoscience Frontiers,2018,9(5):1479-1493.

[36]雷海佳,沈晓明,刘希军,等.LA-ICP-MS锆石U-Pb定年实验流程的建立及其在滇西剑川正长岩锆石年代学中的应用[J].大地构造与成矿学,2021,45(4):822-838.

[37]吴元保,郑永飞.锆石成因矿物学研究及其对U-Pb年龄解释的制约[J].科学通报,2004,49(16):1589-1604.

[38]BOYNTON W V.Cosmochemistry of the rare earth elements:Meteorite studies[M]//P.HENDERSON,Rare earth element geochemistry oynton.Elsevier,1984,2:63-114.

[39]赵聪.新疆雪米斯坦铀多金属成矿带地质地球化学特征研究[D].成都:成都理工大学,2013.

[40]赵振华.关于岩石微量元素构造环境判别图解使用的有关问题[J].大地构造与成矿学,2007,31(1):92-103.

[41]张招崇.La/Sm-La图解是用于判别岩浆岩是分离结晶还是部分熔融形成的吗?[J].现代地质,2024,38(2):547-548.

[42]王富明,廖群安,樊光明,等.新疆东准噶尔滴水泉一带早石炭世火山岩年龄及地球化学特征[J].地质通报,2013,32(10):1584-1595.

[43]高睿,肖龙,王国灿,等.西准噶尔晚古生代岩浆活动和构造背景[J].岩石学报,2013,29(10):3413-3434.

[44]贺新星,肖龙,王国灿,等.西准噶尔晚古生代中基性岩墙群岩石学成因及地质意义[J].地球科学,2015,40(5):777-796.

[45]尹继元,陈文,袁超,等.新疆西准噶尔晚古生代侵入岩的年龄和构造意义:来自锆石LA-ICPMS定年的证据[J].地球化学,2013,42(5):414-429.

[46]陈万峰.新疆东、西准噶尔地区晚古生代构造岩浆演化对比研究[D].兰州:兰州大学,2017.

[47]马星华,陈斌,王超,等.早古生代古亚洲洋俯冲作用:来自新疆哈尔里克侵入岩的锆石U-Pb年代学、岩石地球化学和Sr-Nd同位素证据[J].岩石学报,2015,31(1):89-104.

[48]杨华燊,田亚洲,杨经绥,等.新疆西准噶尔阿克巴斯套蛇绿混杂岩中辉绿岩地球化学、年代学及构造意义[J].地质学报,2019,93(9):2209-2225.

[49]齐进英,熊义大.新疆包古图金矿床特征及其成因[J].矿床地质,1992,11(2):154-164.

[50]陈博,朱永峰.新疆达拉布特蛇绿混杂岩中辉长岩岩石学、微量元素地球化学和锆石U-Pb年代学研究[J].岩石学报,2011,27(6):1746-1758.

[51]张弛,黄萱.新疆西准噶尔蛇绿岩形成时代和环境的探讨[J].地质论评,1992,38(6):509-524.

[52]辜平阳,李永军,张兵,等.西准达尔布特蛇绿岩中辉长岩LA-ICP-MS锆石U-Pb测年[J].岩石学报,2009,25(6):1364-1372.

[53]杨高学.西准噶尔古生代蛇绿混杂岩地质特征及其构造演化[D].西安:长安大学,2012.

[54]刘希军,许继峰,王树庆,等.新疆西准噶尔达拉布特蛇绿岩E-MORB型镁铁质岩的地球化学、年代学及其地质意义[J].岩石学报,2009,25(6):1373-1389.

[55]LI Y Z,YA JS,WA Y P,et al.Geochronological and geochemical study of the Muhatayi ophiolitic mélange in West Junggar,Xinjiang,and its tectonic implication.Geology in China.2015,42(2):379-95.

[56]GU P Y,LI Y J,ZHANG B,et al.LA-ICP-MS zircon U-Pb dating of gabbro in the Darbut ophiolite,western Junggar,China.Acta Petrologica Sinica.2009,25(6):1364-72.

[57]ZHAO L,He G Q.LA-ICP-MS U-Pb Zircon Age of Dacite in Tailegula Formation and Their Constraints on Emplacement of Darbut Ophiolite in West Junggar.Acta Scientiarum Naturalium Universitatis Pekinensis.2016,52(5):871-880.

[58]佟丽莉,李永军,张兵,等.新疆西准噶尔达尔布特断裂带南包古图组安山岩LA-ICP-MS锆石U-Pb测年及地质时代[J].新疆地质,2009,27(3):226-230.

[59]周晶,季建清,韩宝福,等.新疆北部基性岩脉40 Ar/39 Ar年代学研究[J].岩石学报,2008,24(5):997-1010.

[60]冯乾文,李锦轶,刘建峰,等.新疆西准噶尔红山岩体及其中闪长质岩墙的时代:来自锆石LA-ICP-MS定年的证据[J].岩石学报,2012,28(9):2935-2949.

[61]徐芹芹,季建清,韩宝福,等.新疆北部晚古生代以来中基性岩脉的年代学、岩石学、地球化学研究[J].岩石学报,2008,24(5):977-996.

[62]张元元,郭召杰.甘新交界红柳河蛇绿岩形成和侵位年龄的准确限定及大地构造意义[J].岩石学报,2008,24(4):803-809.

[63]JIAN P,LIU D Y,SHI Y R,et al.SHRIMP dating of SSZ ophiolites from northern Xinjiang Province,China:implications for generation of oceanic crust in the Central Asian Orogenic Belt[C]//SKLYAROV E V.Structural and tectonic correlation across the Central Asia orogenic collage:North-eastern segment.Irkutsk,Russia:IEC SB RAS,1-246.

[64]张传林,周刚,王洪燕,等.塔里木和中亚造山带西段二叠纪大火成岩省的两类地幔源区[J].地质通报,2010,29(6):779-794.

[65]徐新,何国琦,李华芹,等.克拉玛依蛇绿混杂岩带的基本特征和锆石SHRIMP年龄信息[J].中国地质,2006,33(3):470-475.

[66]尹继元,袁超,孙敏,等.新疆西准噶尔地区赞岐岩(sanukite)的地球化学特征、成因机制及其与铜金矿化的关系[J].地球化学,2009,38(5):413-423.

[67]尹继元,袁超,孙敏,等.新疆哈图早二叠世富镁闪长岩的时代、地球化学特征和可能的成因机制[J].岩石学报,2012,28(7):2171-2182.

[68]李辛子,韩宝福,季建清,等.新疆克拉玛依中基性岩墙群的地质地球化学和K-Ar年代学[J].地球化学,2004,33(6):574-584.

[69]朱永峰,徐新,魏少妮,等.西准噶尔克拉玛依OIB型枕状玄武岩地球化学及其地质意义研究[J].岩石学报,2007,23(7):1739-1748.

[70]KWON S T,TILTON G R,COLEMAN R G,et al.Isotopic studies bearing on the tectonics of the West Junggar Region,Xinjiang,China[J].Tectonics,1989,8(4):719-727.

[71]徐盛林.西准噶尔晚古生代岩浆作用与地壳生长[D].北京:中国地质大学(北京),2019.

[72]段丰浩,李永军,王冉,等.新疆西准噶尔塔斯阔腊岩体LA-ICP-MS锆石U-Pb年代学、地球化学特征及地质意义[J].地质学报,2018,92(7):1401-1417.

[73]郭丽爽,刘玉琳,王政华,等.西准噶尔包古图地区地层火山岩锆石LA-ICP-MSU-Pb年代学研究[J].岩石学报,2010,26(2):471-477.

[74]童英,王涛,洪大卫,等.北疆及邻区石炭-二叠纪花岗岩时空分布特征及其构造意义[J].岩石矿物学杂志,2010,29(6):619-641.

[75]GENG H Y,SUN M,YUAN C,et al.Geochemical,Sr-Nd and zircon U-Pb-Hf isotopic studies of Late Carboniferous magmatism in the West Junggar,Xinjiang:Implications for ridge subduction[J].Chemical Geology,2009,266(3/4):364-389.

[76]YIN J Y,XIAO W J,SPENCER C J,et al.The role and significance of juvenile sediments in the formation of A-type granites,West Junggar oceanic arc(NW China):Zircon Hf-O isotopic perspectives[J].GSA Bulletin,2020:1560-1574.

[77]TANG G J,WANG Q,WYMAN D A,et al.Late Carboniferous high εNd(t)-εHf(t)granitoids,enclaves and dikes in western Junggar,NW China:Ridge-subduction-related magmatism and crustal growth[J].Lithos,2012,140/141:86-102.

[78]LIU Y,WANG X,WU K Y,et al.Late Carboniferous seismic and volcanic record in the northwestern margin of the Junggar Basin:Implication for the tectonic setting of the West Junggar[J].Gondwana Research,2019,71:49-75.

[79]郭召杰.新疆北部大地构造研究中几个问题的评述:兼论地质图在区域构造研究中的重要意义[J].地质通报,2012,31(7):1054-1060.

[80]王哲.新疆谢米斯台火山岩系列研究[D].乌鲁木齐:新疆大学,2011.

[81]肖文交,韩春明,袁超,等.新疆北部石炭纪-二叠纪独特的构造-成矿作用:对古亚洲洋构造域南部大地构造演化的制约[J].岩石学报,2006,22(5):1062-1076.

[82]季建清,韩宝福,朱美妃,等.西天山托云盆地及周边中新生代岩浆活动的岩石学、地球化学与年代学研究[J].岩石学报,2006,22(5):1324-1340.

[83]JAHN B M.The Central Asian Orogenic Belt and growth of the continental crust in the Phanerozoic[J].Geological Society,London,Special Publications,2004,226(1):73-100.

[84]吴楚,董连慧,周刚,等.西准噶尔古生代构造单元划分与构造演化[J].新疆地质,2016,34(3):302-311.

[85]支倩,任蕊,段丰浩,等.西准噶尔南部晚石炭世中-酸性火山岩成因机制及其对准噶尔洋闭合时限的约束[J].地学前缘,2024,31(3):40-58.

[86]董增产.中国阿尔泰造山带富蕴-青河地区古生代地质演化及其对古亚洲洋增生造山过程的约束[D].西安:西北大学,2020.

[87]ZHANG J E,XIAO W J,HAN C M,et al.A Devonian to Carboniferous intra-oceanic subduction system in Western Junggar,NWChina[J].Lithos,2011,125(1/2):592-606.

[88]ZHANG Z G,LIU X J,XIAO W J,et al.Geochemistry and SrNd-Hf-Pb isotope systematics of late Carboniferous sanukitoids in northern West Junggar,NW China:Implications for initiation of ridge-subduction[J].Gondwana Research,2021,99:204-218.

[89]邓毅,高崇龙,王剑,等.准噶尔盆地南缘西段齐古组深层储层特征及物性控制因素[J].现代地质,2024,38(2):335-349.

[90]唐功建,王强,赵振华,等.西准噶尔包古图成矿斑岩年代学与地球化学:岩石成因与构造、铜金成矿意义[J].地球科学,2009,34(1):56-74.

[91]唐功建.增生型造山带大陆地壳生长的非均一性:来自中亚造山带的证据[C]//中国地球物理学会,中国地质学会,2015年中国地球科学联合学术年会论文集,2015.

[92]安芳,朱永峰.新疆哈图金矿蚀变岩型矿体地质和地球化学研究[J].矿床地质,2007,26(6):621-633.

[93]徐新,周可法,王煜.西准噶尔晚古生代残余洋盆消亡时间与构造背景研究[J].岩石学报,2010,26(11):3206-3214.

[94]沈晓明,张海祥,马林.洋脊俯冲及其在新疆阿尔泰地区存在的可能证据[J].大地构造与成矿学,2010,34(2):181-195.

[95]SISSON V B,PAVLIS T L,ROESKE S M,et al.Introduction:An overview of ridge-trench interactions in modern and ancient settings[M]//V.B.Sisson,S.M.Roeske,T.L.Pavlis(Eds.),Geology of a transpressional orogen developed during ridge-trench interaction along the North Pacific margin.Geological Society of America Special Papers,2003,371:1-18. 


期刊介绍

图片

《现代地质》

《现代地质》创刊于1987年,双月刊,是由教育部主管、中国地质大学(北京)主办的地球科学领域的综合性学术期刊。荣誉主编为邓军院士,主编为刘大锰教授。期刊秉承“百花开放,百家争鸣”的方针,以地球系统科学为核心框架,聚焦多圈层相互作用与跨学科交叉研究。目前被中国科学引文数据库(CSCD)、北大中文核心、中国科技核心以及SCOPUS数据库等收录。

主编介绍

图片

刘大锰教授

刘大锰,教授,博士生导师,国务院政府特贴获得者,中国地质学会会士,长期从事煤层气地质勘探与开发。主持国家重点研发计划项目、国家自然科学重点基金等20余项。获国家科技进步二等奖1项、省部级科技成果一等奖4项和二等奖3项,北京市教育教学成果一等奖2项和二等奖1项;发表学术论文400余篇,SCI收录210余篇(第一作者/通讯作者100余篇),SCI他引10000余次,入选Elsevier中国高被引学者,斯坦福全球2%顶尖科学家;授权发明专利17件。据“科睿唯安”统计,有10篇ESI 1% 高被引论文。目前兼任《Unconventional Resources》共同主编,《Energy Reports》和《Energy Exploration and Exploitation》副主编。

现代地质GEOSCIENCE

排版 | 孟源

责任编辑 | 戚开静

审核 | 董立