颠覆传统设计!vivo新专利让散热风扇兼具通信功能

12月25日消息,外媒xpertpick爆料了一项vivo的创新专利,该专利技术通过将手机内部散热风扇与天线系统深度融合,可谓是破解 “信号遮挡” 与 “高负载发热” 两大行业痛点,为智能手机结构设计开辟新路径。

图片

那其实在大多数智能手机上,天线都是以静态金属条形式固定于机身框架,但一些天线的位置设计不合理,就容易造成“死亡之握”,导致信号缺失的情况发生。

图片

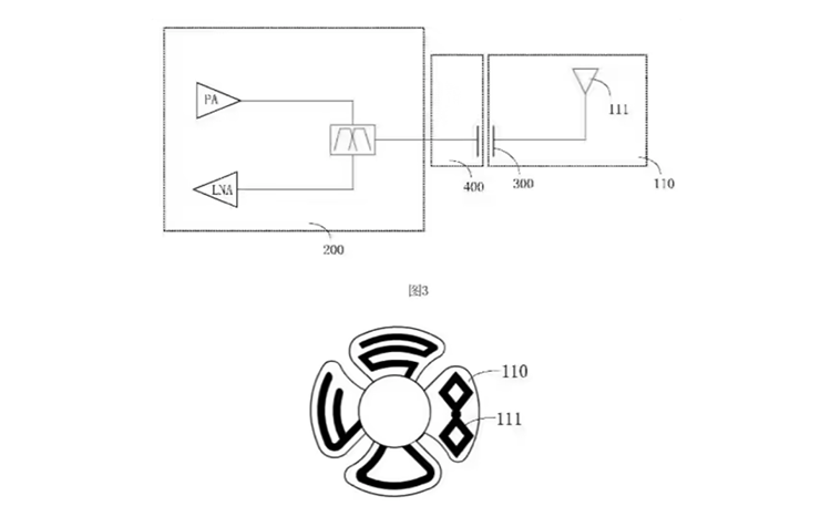
那我们来看vivo的这项专利,将天线直接嵌入散热风扇叶片,让机械组件兼具 “降温” 与 “通信” 双重功能。这项技术的核心关键在于借助风扇旋转特性,天线可主动调整角度对准蜂窝基站或Wi-Fi路由器,这样就可以有效提升用户在实际使用过程中的信号表现。那为了解决旋转部件导线连接的问题,vivo这次用上了一个叫做 “电容耦合” 的机制,其核心是信号通过金属表面间的微小空气间隙无线传输,这样下来不仅可以避免实体磨损,又可以确保数据传输的效率。

图片

那这样的设计其实还有一个好处,就是可以让手机的空间利用率再上升一些,因为取消了独立天线模块,所以设计师就可以把这块剩下的地方,塞入更大的CMOS或者电池。热点科技认为,其实现在已经有类似的手机搭载了主动散热系统,但像vivo这样堆叠功能的还是比较少见,这样也改变了用户对于该硬件的定位,散热风扇从单纯的 “空气搬运工” 升级为 “智能信号雷达”。

截止发稿前,vivo并没有在官方渠道回应这项技术以及量产时间。有分析师指出,如何平衡风扇转速与信号稳定性、优化多频段通信兼容性,或将成为技术落地的关键。

图片

热点科技作为中国具有影响力的科技媒体,已连续 10 余年奔赴美国拉斯维加斯,现场直击 CES,今年,我们CES前线报道团队将迎来史上人数最多、规模最大的一次集结。我们将以更专业、更独特的视角,带你直达未来。好戏,马上开场!