“安心借款”、“兴安分期”被通报,隶属同一小贷

12月5日前,需整改完毕,否则面临下架、关停风险。

近日,广西壮族自治区通信管理局发布《关于34款侵害用户权益行为的APP通报》,其中“安心借款”和“兴安分期”两款借贷应用被通报,其主体公司都是兴安县鸿源小额贷款有限责任公司(下称鸿源小贷)。

其中,“安心借款”所涉问题为“APP强制、频繁、过度索取权限”;

“兴安分期”所涉问题为“违规收集个人信息、APP强制、频繁、过度索取权限”两项。

图片

鸿源小贷成立于2013年6月,注册资本4000万,大股东为兴安县仙人桥矿业有限责任公司,持股40%,另外包括6名自然人股东,分别持股10%。

ICP信息管理备案系统查询,该小贷旗下共备案了16款App,包括:“放心借钱”、“借钱呗”、“放心借钱呗”、“微借信用贷款”、“小象分期”、“分期还借钱”……

图片

图片

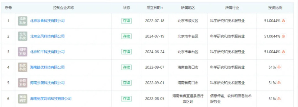
另外,鸿源小贷还控制6家科技公司,像是北京添香科技、海南云简科技等,这些公司旗下同样备案多款借贷App。

图片

来源:禾金财经

声明:本文仅作为知识分享,只为传递更多信息!本文不构成任何投资建议,任何人据此做出投资决策,风险自担。