雷达财经讯,天眼查天眼风险信息显示,近日,合宝文娱集团有限公司新增1条失信被执行人信息,履行情况为全部未履行,具体情形为违反财产报告制度,执行法院为广州市海珠区人民法院。案件流程信息显示,此前,该公司已因此案被执行9801元,并被限制高消费。
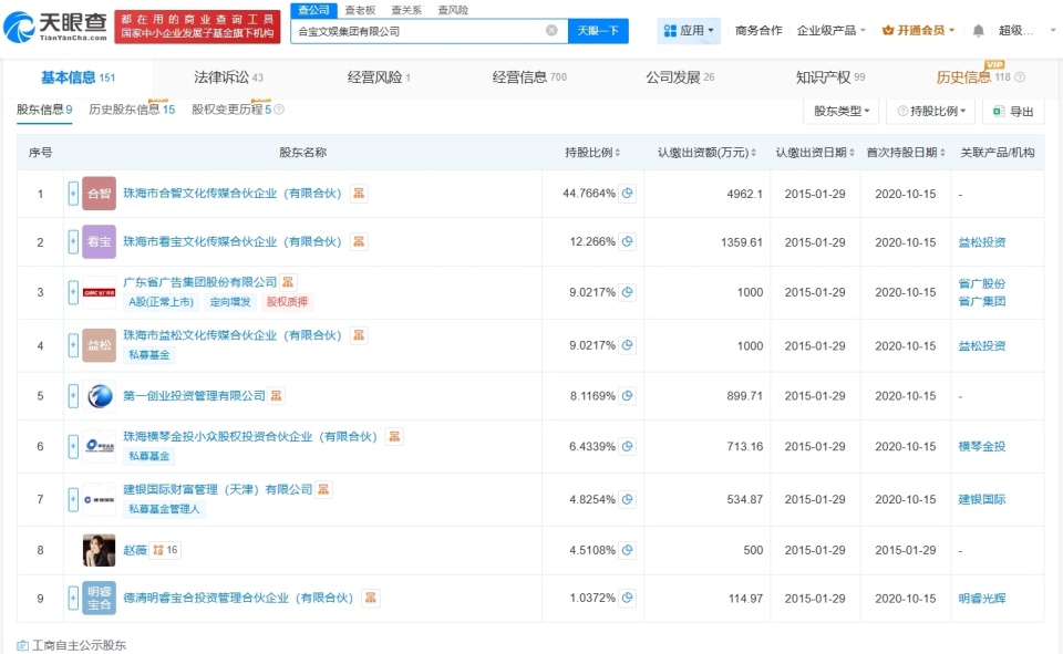
该公司成立于2015年1月,法定代表人为赵智,注册资本约1.1亿人民币,经营范围包括广播电视节目制作经营、电影发行、演出经纪等,由珠海市合智文化传媒合伙企业(有限合伙)、珠海市看宝文化传媒合伙企业(有限合伙)、赵薇等共同持股,其中赵薇持股约4.5%。
雷达财经讯,天眼查天眼风险信息显示,近日,合宝文娱集团有限公司新增1条失信被执行人信息,履行情况为全部未履行,具体情形为违反财产报告制度,执行法院为广州市海珠区人民法院。案件流程信息显示,此前,该公司已因此案被执行9801元,并被限制高消费。
该公司成立于2015年1月,法定代表人为赵智,注册资本约1.1亿人民币,经营范围包括广播电视节目制作经营、电影发行、演出经纪等,由珠海市合智文化传媒合伙企业(有限合伙)、珠海市看宝文化传媒合伙企业(有限合伙)、赵薇等共同持股,其中赵薇持股约4.5%。