中海首进通州!12.48亿元摘得九棵树住宅供地

11月27日,北京市规划和自然资源委员会更新,通州新地供应入市,此次新地吸引了中海和北京城建两家开发商,起拍价12.36亿元。

经过现场竞价,中海以12.48亿元摘得九棵树地块,溢价率约1%,成交住宅楼面价约为2.3万/平方米。

今年5月,中海曾与贝好家一同与招商签约合作进入通州市场(即招商·朝棠揽阅项目),此番拿地则是中海首次在通州独立拿地。

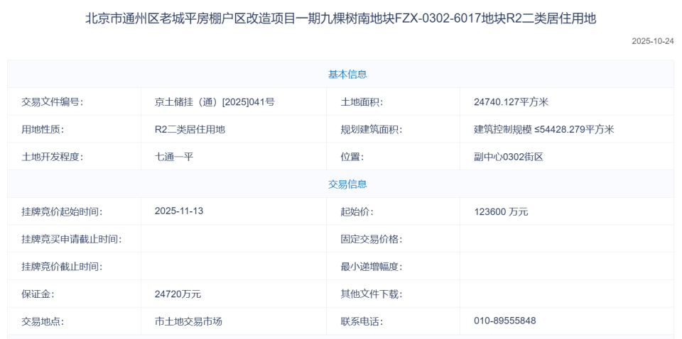
此次出让地块名称为:通州区老城平房棚户区改造项目一期九棵树南地块FZX-0302-6017地块R2二类居住用地。

图片

地块位于1号线/八通线九棵树站南侧约600米,占地面积为24740.127㎡,建筑控制规模为54428.279㎡。

容积率2.2,控制高度为45米,局部60米。

图片

此次供应的地块为单一的纯住宅用地,在“多规合一”中对建筑布局、体量和风貌等有部分要求。

鼓励采用围合式院落布局;总体形成东北高西南低的空间格局;宜采用高明度、低艳度、冷暖灰色系建筑色彩等。

图片

该宗用地所处位置属于通州老城区区域,配套成熟度比较高。

地块周边3公里范围内,可到达通州万达广场、北京通州领展广场、北京中医药大学东直门医院、通州医院、通州云景公园、潞河中学等。

图片
图片

九棵树地块3公里人群商业偏好

数据来源:埃力特大数据客研系统

依托1号线/八通线,地铁里程30分钟左右就可以到大望路、国贸等朝阳核心商圈,触达北京东部片区的重要产业区域。

按地块本身条件看,平整度高,比较方正不缺角,但稍微有一点西南偏角,如果按照围合式楼栋排布,部分位置靠里楼栋的采光条件可能会受影响。

按照规划看,地块西侧和南侧是公园绿地,未来还能够提供一定的景观资源。

图片

本身通州老城区次新项目较少,板块内楼龄在10年左右的K2玉兰湾、龙湖蔚澜香醍等属于板块标杆小区,目前挂牌价格在5.4万/平方米到5.6万/平方米。

图片

九棵树地块1公里住宅

数据来源:埃力特大数据客研系统

另外,同板块内目前有2个在售新房项目,一个是上半年入市的招商云璟揽阅,目前网签率接近8成,网签均价约为5.7万/平方米;另一个是中国铁建·花语璟云,网签均价也是约5.7万/平方米。

图片

(招商云璟揽阅11月25日网签数据)

从地块条件、配套条件和适配人群来看,此次出让的新地属于通州比较有吸引力的项目,如果在产品上有创新和迭代,预期表现会比较不错。

燃烧弹将持续关注后续项目设计方案情况,为买房朋友们带来更多动态。

获取更多市场信息,可关注「楼市燃烧弹」公众号

end.