国资委带头:440亿驰援国产大飞机!

图片

近日,民航业传来重大消息,国务院国资委携6家央企1家地方国企,联合对中国商飞增资440亿元,携手国产大飞机!

 

一、老爸带头,三大亮点

 

国务院国资委作为所有央企的老爸,牵头联手对商飞增资,号召力自然非同一般。

 

这次增资有三大特点:

 

一是增资金额巨大。

 

这场增资力度空前,中国商飞注册资本从约 501.01 亿元跃升至940.98亿元,增幅高达88%,创下成立以来单次增资规模纪录。

 

也是央企集团罕见的增资金额,这也说明了,高层对商飞发展的高度重视。

 

二是国资委明确控股地位。

 

从以前的股权结构来看,国资委持股比例低于50%,这一次增资之后,持股比例超过50%。

 

虽然前后不改国资委实控人地位,但通过形式上的控股,就是传递一个信号,上层对大国重器的重视,对航空制造业等高科技产业的支持。

 

更是进一步强化对中国商飞的战略管控力,凸显国家层面对国产大飞机事业的 “压舱石” 作用。

 

三是增资比例不一。

 

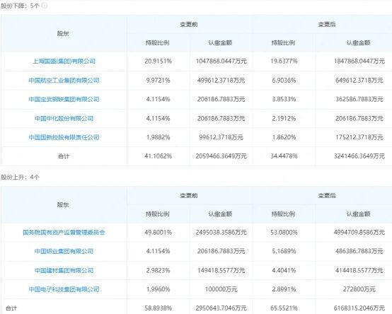
从股东动作看,此次增资呈现“核心引领、多方协同”的特征,9 家股东中有8家参与增资,具体出资与持股变化如下:

国务院国资委:增资249.97 亿元,持股比例提升至 53.08%,不仅成为本次增资额最高的股东,还突破 “50% 持股红线”,进一步巩固第一大股东地位,承担战略引领主力角色。

 

上海国盛:作为地方国资代表与区域协同方,增资80亿元,持股比例19.64%,第二大股东,以地方资本力量助力商飞在长三角区域的产业布局落地。

中国航空工业集团:作为航空制造核心配套方,增资15亿元,持股比例略有下降至 6.9%,持续为商飞提供制造端核心支撑。

 

中国电子科技集团:聚焦航电系统技术支撑,增资17.28亿元,持股比例2.9%,成为持股比例增长最显著的技术配套类股东,强化航电领域协同。

 

中国铝业集团:作为航空级铝合金材料供应方,增资28亿元,持股比例提升至5.17%,通过资本绑定深化材料供应合作,保障铝合金部件国产化稳定供应。

 

中国建材集团:主打复合材料与特种玻璃供应,增资26.5亿元,持股比例4.4%,进一步巩固在复合材料领域的配套地位,助力商飞轻量化技术升级。

 

中国宝武钢铁集团:承担高端钢材供应职能,增增资15.64亿元,持股比例微降至3.85%,虽比例小幅调整,但仍通过增资保障钢材供应链协同,支撑机身结构件生产需求。

 

中国国新:定位资本运营平台与社会资本引导方,增资7.56亿元,持股比例1.86%,将通过基金运作带动更多社会资本投向航空产业链。

中国中化:是唯一未参与本次增资的股东,持股比例2.19%,几乎不影响整体股东结构。

 

据业内分析,此举或与其聚焦化工主业、优化非核心资产配置的战略调整相关,对中国商飞的资金筹措与产业协同无实质影响。


图片

 

二、交付成绩单:国产大飞机突破前夜

 

在资本加持的同时,中国商飞既有机遇,也有挑战。

 

截至2025年11月,C919大型客机已累计获得超1200架订单,正式交付航空公司24架,覆盖东航、南航、国航等国内主要航司。

 

C909支线客机更是实现稳定量产,累计交付超150架,运营航线超400条,安全飞行超30万小时,成为我国支线航空市场的主力机型。


特别是在东南亚地区已取得显著进展,既有交付,又有合作航司运营。

 

更令人振奋的是,C929宽体客机项目已进入工程发展阶段,预计2028年前后实现首飞。此次增资将显著加快C929的研发节奏,为我国真正实现“大中小全谱系”民机自主可控奠定基础。

 

但与此同时,国产民机也受制于国外供应链,特别是发动机还是来自于欧美。

 

从某种程度来看,生产进度和规模化生产受制于国外供应链。

 

因此要突破欧美的供应链限制。

 

三、为何要此刻“加码”商飞?

 

这场百亿级增资绝非偶然,而是契合国家战略、产业周期与市场需求的关键布局,其必要性与意义体现在三个维度。

 

1.支撑技术攻坚:破解“卡脖子”

 

大飞机研制堪称 “工业皇冠上的明珠”,从发动机升级到航电系统迭代,每一步都需要持续的资金投入。

 

此次增资将重点用于 C919 改进型研发、C929 宽体客机关键技术攻关,以及复合材料、高端轴承等核心零部件的国产化替代。

 

充足的资本金将为商飞技术攻关提供 “弹药保障”,加速摆脱对外依赖。

 

2. 匹配产能扩张:应对交付高峰

 

随着订单量持续增长(目前C919累计订单超1200架),商飞正面临产能爬坡的关键期。

 

增资资金将用于生产基地的产能升级,推动C919 产能扩张。

 

同时,资金还将投向维修服务体系建设——建立覆盖全国的航材储备中心与维修基地,解决航司“后顾之忧”,这正是对国产大飞机产业化“产销服”全链条的精准赋能。

 

3.强化产业协同:构建自主可控的航空生态

 

此次增资股东涵盖航空制造、电子信息、新材料等领域龙头央企,绝非简单的资金注入,更是产业资源的深度整合。

 

这种“资本+产业”的协同模式,正在构建起自主可控的中国航空产业生态,为大飞机事业筑牢根基。

 

从2008年成立到如今注册资本逼近千亿,从C919首飞到规模化交付,中国商飞的每一步都印记着国家战略的支撑。

 

此次国资委携央企增资,既是对过往成绩的认可,更是对未来的期许——当更多国产大飞机翱翔蓝天,中国航空产业的“自主梦”正从蓝图变为现实。

 

相信中国大飞机!