还能复活?某上海新势力公司宣布预重整

图片


据全国企业破产重整案件信息网显示,上海集度汽车有限公司申请破产重整,经办法院为上海市第三中级人民法院。

图片

据极越汽车消息,上海集度汽车有限公司11月25日公告,公司于日前向上海市第三中级人民法院提交预重整申请,该申请已于2025年11月21日获正式受理。上海市第三中级人民法院同步指定北京市中伦(上海)律师事务所担任临时管理人,依法推进后续预重整相关工作。公司启动预重整程序,旨在引入新的战略投资人,盘活现有资产与资源,维护资产价值,并保障用户售后权益。公司将在临时管理人的监督下,维持核心业务平稳运转,依法保障用户合法权益。

图片

预重整是指在正式进入司法重整程序前,由债务人与债权人通过协商制定重整计划,并借助司法程序使其具有约束力的企业债务危机解决机制。其核心目的是识别企业重整价值与可行性,为后续正式重整奠定基础,从而最大化保护债权人、债务人等各方权益。

上海集度汽车有限公司于2021年11月成立,法定代表人为夏一平,注册资本为40000万美元,实缴资本为30952.5652万美元,该公司位于上海市,是一家以从事零售业为主的企业。股权信息显示,该公司由集度汽车(香港)有限公司全资持股。

图片

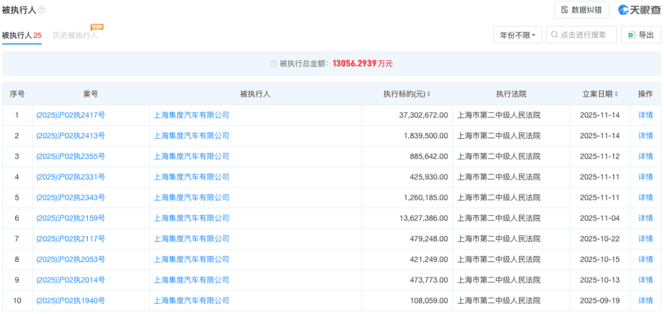
天眼查风险信息显示,目前上海集度汽车有限公司不仅存在多条被执行人,也面临诸多官司。截至发稿,上海集度汽车有限公司共存在2条失信被执行人,涉案总金额为46.968万元;25条被执行人,被执行总金额为13056.2939万元;3条限制消费令,涉案总金额为10189.491万元;4条终本案件,执行标的总金额为54757.469032万元。同时,该公司还存在52条开庭公告,其中开庭日期在2025年12月之后的共有7条。

图片
图片
图片

上海集度汽车有限公司与极越汽车其实是同一家公司,极越汽车的前身即上海集度汽车,由百度和吉利控股集团两大股东发起设立,后因缺乏生产资质被搁置。为解决汽车生产资质,集度汽车于2023年8月更名为极越汽车,而集度ROBO-01也变为极越01。然而,更名之后没多久,极越汽车便被曝深陷裁员风波以及资金链断裂等困境。

图片

2024年12月,吉利和百度发表关于极越汽车的联合声明,作为股东将积极协助集度管理层妥善处理相关事宜:第一时间解决员工社保缴纳、离职员工补偿问题;维护用户车辆正常使用、售后和维修保养;推进其他事宜的合理合法解决。此后,在有关部门的协调下,极越汽车按照“N+1”的标准为员工提供经济补偿。业内认为,极越汽车走到今天的田地与当前竞争激烈的新能源汽车市场环境有关,但更为主要的还是与极越汽车自身有关,包括品牌定位模糊、产品力不足等导致其市场表现不佳,此外,资金链断裂‌也是极越汽车倒下的主要原因之一,其在资金规划上没有做好充分的准备,没有预留足够的应急资金。

图片

目前极越汽车旗下已布局极越01和极越07两款纯电车型。11月23日,多名极越车主在社交平台反馈,极越汽车手机APP端显示车辆处于离线状态,无法使用远程控制、解锁等功能。对此,极越汽车发文回应,接到反馈后,技术团队第一时间启动应急响应机制,全力开展问题排查与修复工作。经技术团队连夜抢修,极越APP离线及车辆远程控制功能已全部恢复正常,可正常使用。