“最严新规”落地在即,充电宝市场迎来大洗牌

 该图片可能由AI生成图片

作者 |赵栀

编辑 | 趣解商业资讯组

据多家媒体报道,被业界称为“史上最严”的《移动电源安全技术规范》国家标准已进入落地倒计时阶段。目前标准基本已经定稿,预计会在12月份公示,并在明年2月份正式发布,同年6月开始实施。而新规落地,意味着现行3C认证也将全面失效。

图片图片来源:微博截图

这一国家标准计划由全国电子产品安全标准化技术委员会(TC588)执行,中国电子技术标准化研究院、欣旺达、华为等为主要起草单位。

此次新规在整机、电芯、线路板三大核心环节均提出突破性要求。有业内人士透露,预计新标准实施后,行业整体成本将提升20%—30%,成本增量主要来自两方面:一是符合更高测试标准的优质电芯采购成本上升;二是线路板新增LCD屏幕或联机模块带来的硬件升级费用。成本压力下,行业集中度有望显著提升。

面对这场生存考验,企业应对策略呈现显著分化。技术实力雄厚的头部企业正积极布局,抢占新一轮发展先机。相比之下,缺乏核心研发能力的中小厂商则陷入发展困境。

新规实施后,预计将有近七成现有产能,因无法满足新标技术要求,将被迫退出移动电源市场。

而新标准实施后,用户此前购买的合规充电宝仍可正常使用;具备3C认证的充电宝在乘机时也不受影响。

2025年爆发的充电宝大规模暴雷事件,是催生此次“史上最严”新规的重要推手。

今年6月,由于更容易发生爆炸现象,为了安全考虑,北京多所高校禁用罗马仕充电宝,相关话题登上了热搜。随后,罗马仕通过微博发布声明致歉,并宣布召回计划。

图片图片来源:微博截图

这些充电宝的主要问题指向电芯原料,电芯是组成电池的最小单元,而充电宝里90%是电芯。罗马仕表示,由于部分电芯原材料的来料原因,极少数产品在使用中可能存在过热现象,在极端场景下使用可能产生燃烧风险。

这一问题电芯通过供应链波及了众多知名品牌,包括安克创新、小米、倍思、绿联等。据估算,全球范围内召回数量超 200 万件。

事件爆发后,民航局发布通知,自6月28日起,禁止旅客携带无3C标识、标识不清晰、被召回型号或批次的充电宝乘坐境内航班。

市场监管总局则严格CCC认证管理,加强强制性认证目录产品的证后监督,今年以来,共对4071家企业发放工业产品生产许可证4216张,不予许可216张。CCC指定认证机构共撤销不能持续符合认证要求的CCC证书3.3万张。

11月11日,工信部就《移动电源安全技术规范》等2项强制性国家标准(征求意见稿)公开征求意见。

这场风暴彻底改变了充电宝行业的竞争逻辑和市场格局。

此次事件的焦点——罗马仕于7月6日发布停工停产放假通知称,随着市场环境的不断变化和公司业务的发展需要,经公司股东会研究决定,近段时间公司停工停产。停工时间为自2025年7月7日起持续6个月。负责充电宝召回事务的员工不在停工范围内。

9月22日,中国质量认证中心官网信息显示,罗马仕的多个快充移动电源类产品3C认证证书已于9月16日、17日被撤销,撤销原因显示为“认证证书暂停期限届满,持证人未提出认证证书恢复申请、未采取整改措施或者整改后仍不合格”。

 9月25日,据“央视新闻”,罗马仕公司累计召回充电宝16.7万件(占召回总量的34.1%),退款金额2283.7万元。

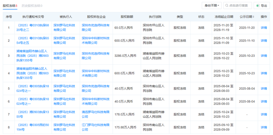
天眼查显示,2025年以来,罗马仕新增8条股权冻结信息,被冻结股权数额近5000万元,冻结日期多数到2028年。

图片图片来源:天眼查截图

有业内人士表示,消费者不再购买未申请3C的充电宝,意味着那些通过牺牲电芯、电路保护等核心安全部件成本来维持利润的杂牌产品,将陆续被清出市场。

罗马仕的倒下和众多杂牌军的退场,在中国充电宝市场撕开了一个巨大的口子。有业内人士对“定焦One”估算,罗马仕“退出”后,市场出现了约5%-8%的份额真空;加上被清退的杂牌,超过20%的市场空间等待被重新瓜分。

“中国银河证券研究”表示,在此次事件中,绿联是受益者。2025年前三季度,绿联实现营业收入63.64亿元,同比增长47.80%;归母净利润4.67亿元,同比增长45.08%。

其中,第三季度公司实现营业收入25.07亿元,同比增长60.44%;归母净利润1.92亿元,同比增长67.32%。

图片图片来源:绿联科技三季报截图

小米尽管也受到事件波及,召回了部分产品(召回14.7万台充电宝),且有两款产品的3C认证被暂停,但其基本盘优势明显。

今年双十一期间,小米移动电源品类全渠道累计销售额突破1.8亿元。据媒体报道,2025京东618的战报中,小米旗下的酷态科在充电宝品类成交额排名第一,而小米主品牌的33W充电宝位列“最受欢迎单品”榜首。

这一轮充电宝危机,最大的警示就是,过度“内卷”和无休止的价格战最终会反噬整个行业。这种情况不是充电宝行业独有的,但这种模式最终伤害的是产品质量和安全,动摇的是消费者对企业的信任。

如今,随着新规落地,消费者也能获得更高安全保障和更具性价比的产品体验。