2025年国谈顺利落幕!港股通创新药ETF盘中翻红,连续4日累计揽金15亿元!机构:为什么2026年创新药仍将是投资主线?

今日(11.5),市场探底回升韧性凸显,100%创新药含量的港股通创新药ETF(159570)盘中翻红,盘初一度跌超2%,成交额已超27亿元!资金持续涌入,盘中巨幅揽金超3.6亿元,连续4日累计净流入15亿元!截至11月4日,港股通创新药ETF(159570)最新规模超211亿元,规模和流动性断层领先!

图片

截至14:15,港股通创新药ETF(159570)标的指数权重股多数飘红:信达生物、抗风生物涨超2%,百济神州石药集团翰森制药涨超1%,中国生物制药三生制药微涨。

图片

注:成分股仅做展示,不作为个股推介。

消息面上,据国家医保局消息,10月30日至11月3日,国家医保局组织开展2025年国家基本医保药品目录谈判竞价和商保创新药目录价格协商工作,120家内外资企业现场参与,其中参与基本医保药品目录谈判竞价的目录外药品127个,参与商保创新药目录价格协商的药品24个。后续相关技术、行政和法律程序完成后,新版基本医保药品目录及首版商保创新药目录拟于12月第一个周末在广州线上线下同步发布,明年1月1日起正式实施

本次国谈与往年的最大差异是,前3天进行国家医保目录的谈判,最后2天启动首次商保创新药目录“谈判”。在商保创新药目录谈判阶段,11月2日下午为内资药企申报药品的价格协商日,11月3日为外资药企申报药品的价格协商日。今年是首次引入创新药目录的一年,与乙类目录价格谈判不同的是,国家医保局在规则上创新了价格协商机制,协调药企与商保进行价格协商。价格降幅与目录究竟如何落地,成为药企最关切的问题。多位药企人士透露称,在创新药目录的价格协商环节,国家医保部门面对药企给出的降价建议区间是15%~50%。

开源证券点评,当前纳入医保+商保的创新药大多处于放量初期,随着医保支持创新药的政策红利持续释放,纳入目录的创新药收入有望快速提升,患者有望持续受益,同时相关创新药企也随之迎来弹性增长。(来源:开源证券20251102《集采+医保谈判稳步推进,关注相关投资机会》)

【机构:为什么2026年创新药仍将是投资主线?】

东吴证券认为,主要原因是创新药国际地位有赶超之势、BD出海井喷式增长、市值空间大及业绩进入扭亏盈利阶段等,新一代ADC+2.0 IO及小核酸等将是创新药重点方向。

1)国际学术地位重磅突破。2025年ASCO大会上,中国公司口头报告73项占大会总体16%,LBA占大会总体20%,其中ADC与双抗口头报告数据占比近50%;2025年ESMO大会上,国产新药LBA约21项,占大会总体超过18%,较2024年7项爆发式增长,说明中国学术影响力的提升;

2)创新药出海金额和数量再创新高。2025前三季度license-out交易共103笔超2024年全年数量,交易总金额达920.3亿美元,同比增长77%;TOP MNC从中国BD交易数量占全球总数量20%、总金额占比达到39%;

图片

3)市值空间大。24年全球创新药规模1.1万亿美元,假设2030年增长至1.5万亿美元,未来通过BD全球市占率达到30%,按照12%分成,20倍PE计算,可贡献7.8万亿元人民币市值,对应当前A+H股创新药总市值2.6万亿元人民币,还有200%市值空间

图片

4)国内商业化及BD出海驱使其实现扭亏盈利进入收获期。多元化盈利模式大大提高创新药企扭亏为盈的可能性,2025-2027年百济神州、信达生物、康方生物及泽璟制药等实现报表端扭亏为盈;

图片

注:上述股票仅做展示,不作为个股推介。

5)国内政策如医保谈判、商保等全力支持创新药。高层规划明确提出全力支持生物制造及创新发展,2025年医保谈判通过形式审查310个,较2024年249个明显增加。商保初步形式审查的目录外产品有121款,为创新药放量打开空间;

图片

6)新一代ADC+2.0IO及小核酸等为创新药战略性方向。

(来源:东吴证券20251104《2026年医药生物行业策略》)

【关注中国硬核创新药力量,新质生产力代表,认准港股通创新药ETF(159570)】

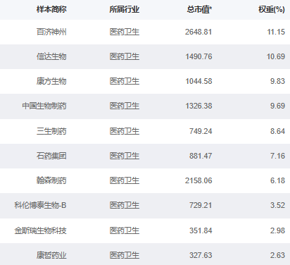
港股通创新药ETF(159570)标的指数100%布局创新药!截至10月,前十大成分股权重高达72.47%,高纯度浓缩港股通创新药精华!

图片

来源:国证指数官网,截至2025/9/30。成分股仅做展示,不作为个股推介。

港股通创新药ETF(159570)标的指数是弹性更高的创新药,截至7月末,2025年内涨幅超109%,港股医药类指数领先!

图片

底层资产是港股,可以T+0交易!

关注中国硬核创新药力量,新质生产力代表,认准港股通创新药ETF(159570),场外联接(A类:021030;C类:021031)!

风险提示:基金有风险,投资需谨慎。文中个股仅作为指数成份股客观展示,不代表任何投资建议。港股通创新药ETF(159570)属于中等风险等级(R3)产品,适合经客户风险等级测评后结果为平衡型(C3)及以上的投资者。本文中的任何观点、分析及预测不构成对阅读者任何形式的投资建议。本基金投资范围包括港股,会面临因投资环境、投资标的、市场制度以及交易规则等差异带来的特有风险。

港股通创新药ETF(159570)标的指数为国证港股通创新药指数,该指数近5个完整年度(2020-2024)的涨幅分别为88.80%、-21.59%、-25.60%、-22.80%、-10.50%。