王健林被起诉!身家一年缩水820亿元

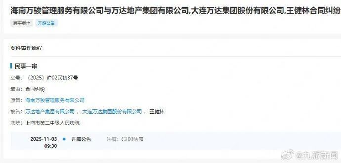
10月15日,据工商资料显示,近日,法院公开海南万骏管理服务有限公司起诉大连万达集团股份有限公司、万达地产集团有限公司、王健林合同纠纷案件开庭信息。公告显示,该案件计划于11月3日在上海市第二中级人民法院开庭审理。 

图片

资料显示,海南万骏管理服务有限公司由万科旗下深圳市盈达投资基金管理有限公司以及珠海横琴万骏投资集团有限公司分别持股70%、30%。

图片

不久前,王健林被“限高”又取消曾引发关注。

据天眼查,大连万达集团股份有限公司(以下简称万达集团)及其法定代表人王健林等被限制高消费,时间为2025926日。

图片

案件流程显示,相关案号为(2025)甘执恢249号,执行标的为1.86亿元,执行法院为甘肃省兰州市中级人民法院,被执行人包括武汉万达文旅置业有限公司、武汉楚河汉街文化旅游投资公司,万达集团以及万达地产集团有限公司。

中国执行信息公开网信息显示,该案件立案日期为今年716日。

9月29日,《每日经济新闻》记者查询了解到,当前中国执行信息公开网已经没有万达集团董事长王健林限高信息。

图片

图片

事实上,为缓解资金紧张,王健林自2023年就开启了“卖卖卖”模式。

万达集团官网显示,公司产业涉及商管集团、文旅集团以及投资集团三大板块。

其中,商管集团主要为全国万达广场的商业管理运营,但2024330日,太盟集团、中信资本等联合向大连新达盟投资约600亿元,获得约60%股权后,万达商管的持股比例已降至40%

文旅集团则涉及酒店管理、宝贝王集团、体育集团、文旅项目以及国际医院等。

其中,今年4月,王健林作价24.9亿元,将万达酒店管理公司(以下简称万达酒管)100%股权卖给同程旅行

万达酒管主要业务包括四个板块:酒店营运及管理服务、酒店设计及建设管理服务、投资物业租赁,以及海外买卖和租赁物业。

截至2024年底,万达酒管在营酒店共计204家,另有376家酒店已签约待开业。

宝贝王集团则在2020年以约4.2亿元出售其早教业务板块后,目前仍运营着超450家乐园门店以及IP业务;体育集团以及包含武汉中央文化区、延安红街等项目在内的文旅项目、国际医院等尚未发生变化。

投资集团则包括了住宅房地产、城市综合体以及万达酒店等业务。其中,最引人关注的就是核心资产万达广场

万达商管官网信息显示,截至2024年年底,万达集团在全国开业513座万达广场(包括轻资产运营),商业运营总建筑面积7090万平方米。

但今年521日,国家市场监督管理总局批准了由太盟、高和丰德、腾讯京东潘达、阳光人寿等机构组成的联合体对万达商管旗下48家目标公司的收购案,涉及全国39个城市的48座万达广场。

8月成立的苏州宽遇私募基金出资情况来看,这48座万达广场累计对应出售资金超200亿元。

而出售万达广场已成为近年王健林资金回笼的常态。

据每经记者不完全统计,从2023年出售上海松江万达广场开始至2024年,万达共出售的项目超过30个。今年以来,这一出售节奏进一步加快,仅年初就有7座万达广场被出售,叠加此次的48座,目前全国已有近百座万达广场所有权易主。

值得注意的是,513座万达广场并非全部都由万达集团自持参考公开可查的20233月末数据,万达集团自持的万达广场占比约60%据此来看,这意味着,留给王健林能出售的万达广场仅200座左右。

除此之外,王健林也在持续清空其拥有的其他资产。

今年7月,中国儒意2.4亿元收购万达旗下快钱金融30%的股权;2023年至2024年,中国儒意及旗下公司通过多次股权受让,获得了万达投资100%股权,并通过万达投资间接成为万达电影的实控人2024年,王健林还相继对美国传奇影业股权、英国圣汐游艇公司等进行转让。

柏文喜表示,万达集团虽然频繁出让万达广场等资产,不过回笼现金低于预期,很多交易是以资抵债,带来的增量现金有待观察。

据每经记者不完全梳理,截至目前,万达集团及王健林所拥有的资产包括大连新达盟40%股权、约200座万达广场,以及万达体育、万达宝贝王等。

图片

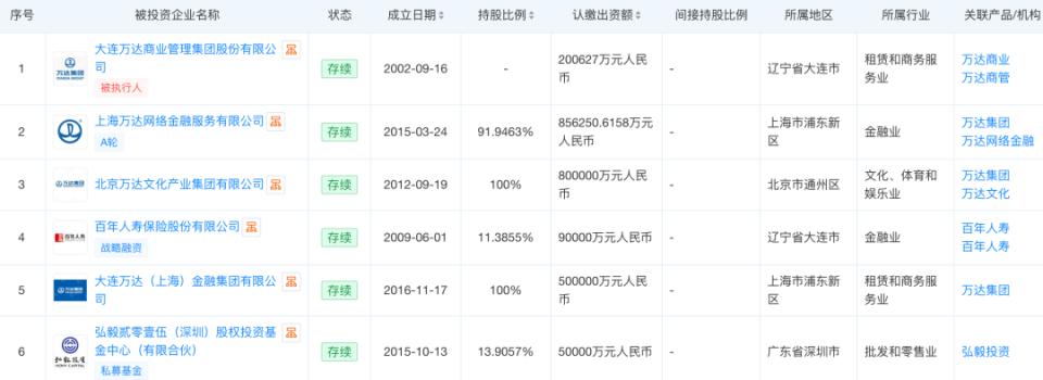
另据天眼查,目前万达集团对外投资仍处于存续状态的企业为24家,持股超过50%的为15家,包括上海万达网络金融服务有限公司、北京万达文化产业集团、万达产业文化有限公司等。

王健林所控制的企业有76家仍处于存续期间,对外投资的11家企业中则仅有6家显示存续状态。

根据最新发布的《2025新财富500创富榜》,王健林父子今年的财富为588.1亿元。与上年的1408.4亿元相比,短短一年时间里大幅缩水820多亿元,排名更是从上年的第9名急剧下滑至第51名。

编辑|何小桃 杜波

校对|程鹏

图片

每日经济新闻综合每经APP、公开消息

每日经济新闻