一只“臭虾王”炸出资本“天团”:50万学生午餐,成了谁的提款机?

问AI · 资本天团如何影响学生午餐安全?

凤凰网财经《公司研究院》

前不久,罗永浩与西贝的“预制菜大战”正打得火热,谁也没想到,战火竟烧到了上海中小学生的餐盘里。一位家长在孩子学校的午餐中,发现了一只发臭的虾仁——而供应方,正是日配送50万份学生餐的“隐形巨头”:上海绿捷。

一石激起千层浪。不少家长随后做出一个看似“跨界”却意味深长的举动:联名请愿,希望西贝也能参与上海学生餐的竞标。这背后,是长期以来对校园午餐“难吃、不健康、食材不新鲜”的积怨,终于找到了一个具体的爆发点。家长们反对的并非预制菜本身,而是有人用低质食材糊弄孩子。

图片

图片

图片

更令人意外的是,随着舆论发酵,这只“臭虾”竟牵出一张盘根错节的资本网络。表面普通的配餐企业,背后却闪现新希望刘永好家族、厚生投资、淡马锡等资本力量。他们通过复杂的离岸架构,将学生餐做成高利润生意——餐标18元,成本却仅有6到8元,中间的差距去了哪里?

从曾经的“隐形冠军”,到因瞒报食品安全问题被立案调查,上海绿捷的跌落揭示出一个严峻现实:当学生的午餐沦为资本逐利的工具,当股权架构成为责任逃避的屏障,食品安全又如何不被牺牲?

01

“隐形冠军”的翻车

在这场风波前,上海绿捷早已是上海校园配餐市场的“隐形冠军”。

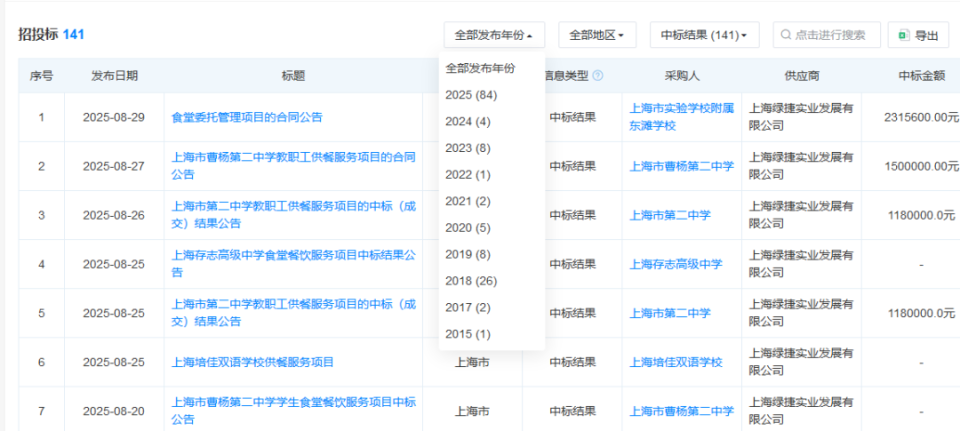
资料显示,上海绿捷成立于2014年,2017年便已服务331所中小学、日供36万份餐食,到2024年更是扩张至覆盖500多所学校及幼儿园,日供餐量突破50万份,占据上海近三成校园配餐份额。2025年8月单月,上海绿捷更是一口气中标27个项目,将上海市第二中学、华东师大附属外国语实验学校等名校纳入服务清单,中标公告里清一色写着“方案详实、预案齐全”,看似无可挑剔。

不过,这份“光鲜战绩”背后,藏着家长们常年积压的不满。“难吃”“不干净”“全是冻货”的吐槽从未断过,甚至有家长反映孩子餐盒里的素鸡发黏、豆腐发酸,多次反馈却石沉大海;有学生抱怨“饭菜天天一个味,油炸食品最多,根本不想吃”。

有细心家长统计,孩子一周午餐里,预制炸物占比超六成,新鲜蔬菜寥寥无几。这些不满在前不久“罗永浩大战西贝”的预制菜论战中被彻底激活,家长们终于找到了集中发声的出口:“我们反对的不是预制菜,是用劣质预制食材糊弄孩子!”

9月15日,上海静安区某小学的绿捷驻校经理孙某某在备餐时发现,3箱解冻焯水后的虾仁中,有一盆约18公斤的虾仁存在虫类异物。问题逐级上报至实际控制人张某某后,其指令对供应全市211所学校的相关菜品紧急下架销毁,但因通知延迟,已有50所学校完成供餐,多名学生食用后出现不适甚至呕吐。

虾仁炒蛋被撤下,次日,学校给学生补发了面包和饼干,但面包的配料表堪比“小作文”长度,添加剂多达十几种。

图片

补发面包的配料表

图片

而令人愤怒的是,上海绿捷对于此事,选择了“瞒报”。张某某授意总经理对外统一宣称下架原因是“虾肠外溢,有泥沙”,试图用“泥沙"掩盖“虫虾”“臭虾”的核心问题。直到9月18日上海市教委深夜通报送检留样,9月23日公安、市监、教委三部门联合发文,明确指出绿捷“涉嫌瞒报食品安全相关信息”并立案侦查、控制相关人员,这家企业才姗姗来迟地发布了一则道歉声明。

然而,上海绿捷这份道歉信再次令家长们吐槽纷纷,“一份道歉声明,仅仅48个字,没有整改方案,没有责任认领。”

图片

也有不少网友吐槽“比虾仁还敷衍”。

02

躲在离岸架构后的“大佬天团”

上海绿捷能在上海学校配餐市场占据一席之地,或许靠的不是厨艺,而是背后的资本靠山。

上海绿捷主要有两个阶段,一是2018年9月之前,二是2018年9月之后。

第一个阶段,主要是上海绿捷创始人张国华所掌控,张国华是上海海星集团的董事,这家公司是上海闵行供销社旗下的企业,成立于1993年。张国华还全资拥有上海饮料食品厂,上海市供销社曾和上海饮料食品厂合作过,一起卖过矿泉水,但后来关闭了。

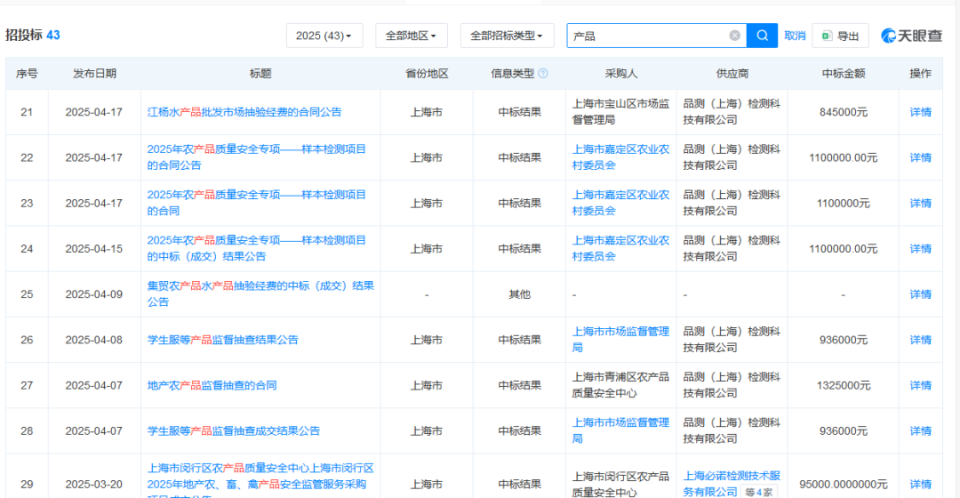
值得一提的是,在上海绿捷成立的同一年,一家名为品测(上海)检测科技有限公司(简称:品测检测)也在同年成立,此前该公司是由张国华妹妹张美华全资持有。一直到2022年以后,张美华持股比例降至20%。

图片

根据中标情况,不难发现品测检测主要经营校服、农产品、水产品等产品的检测。这也就意味着,张国华兄妹二人其实一直扮演着既当裁判又当选手的角色。

图片

虽然目前没有证据证实,上海绿捷所供应的食品由品测检测所检测的,但是两家公司的关系一直备受网友质疑。

2018年9月以后,上海绿捷逐渐卖给了澳大利亚的KGF集团,KGF花1.7亿美元分三步拿下绿捷全部股权。

图片

图片

而KGF的股权结构更耐人寻味,新希望董事长刘永好家族通过Ananta信托持股45.44%,厚生投资持股38.95%,淡马锡、ADM等国际资本也在列。董事会里,刘畅(刘永好之女)、新希望前副董事长王航等核心人物赫然在列。

图片

上海绿捷与刘永好父女的这层关系,被塞进了层层嵌套的离岸架构中:从开曼的KGF Asia,到香港的GreenExpress,再到BVI的控股公司,三道“套娃”让股权穿透难上加难。因此,也很难被外界猜出,上海绿捷的背景。

更有趣的是供应链的“家族联动”。上海绿捷监事葛均锋同时参股多家食品企业,其中威海味岛主营速冻炸物,而孩子们的午餐里恰恰充斥着炸鱼排、炸虾饼。这种“左手供料、右手配餐”的操作,难免让人怀疑是在“消化产能”。

03

刘永好家族试图打造的第七家上市公司

不过,对于资本来说,主营校园配餐的上海绿捷是不折不扣的“现金奶牛”。

根据KGF此前的招股书,不难发现,早在2017年上海绿捷营收就达5.6亿元,净利润率高达15.7%,比很多餐饮企业高出一倍多。更诱人的是,校园餐采取预付费模式,50万学生的餐费能常年沉淀2亿元资金,上海绿捷甚至用这笔钱买银行理财赚收益。

收购上海绿捷为KGF带来了可观的收益。2017-2018年,KGF总收入从8.497亿美元增至10.715亿美元,净利润从0.52亿美元飙升至1.16亿美元。

这一增长趋势在后续年份得以延续。

到了2023-2024年,KGF的总收入从18.707亿美元增至21.95亿美元,净利润从3470万美元增加到6040万美元,增幅高达74.1%。

上海绿捷的高管团队也透露出其新希望系的背景。公司现任董事长陶煦曾任正大集团财务主管,也是前新希望六和总裁。

靠着这波增长,KGF从港股冲刺到美股,试图打造刘永好家族的第七家上市公司。

更为惊人的是,天眼查信息显示,2025年1月以来,该公司有超过80条中标记录,超过过往年份总和,这种迅猛的扩张引发了对招投标过程的质疑。

据南风窗报道,一位家长直言:“上海现在是AB餐选餐,一餐18元”,但菜品质量令人失望。不过18元的单餐定价显然也不是完全流向了绿捷公司。

图片

上海绿捷某项目合同显示,其每餐成本仅6-8元,却要覆盖冷链运输、人工等环节。这种“既要马儿跑,又要马儿不吃草”的模式,倒逼企业压缩成本,最终牺牲的是餐食品质。

而资本的逐利性也埋下了隐患。

据前调查记者、微博大V邓飞爆料上海绿捷采买过期食材,然后给孩子们吃。其表示,食品安全信息追溯网页第三图显示:农家手工蛋饺,生产日期2024年12月2日,保质期7天,而进货日期2025年3月12日,然后制作出来送上海静安区某小学孩子吃。

图片

如今的上海绿捷一边被市属国企临时接管,一边面临立案侦查,也为KGF的上市之路也蒙上阴影。

这场由“预制菜大战"意外引爆的“臭虾风暴”,揭开的是资本入侵民生领域的典型困境:当50万孩子的午餐成了资本的“业绩筹码”,当离岸架构成了责任规避的“挡箭牌”,当预制菜沦为降本工具而非品质选择,食品安全的防线难免失守。

参考资料:

《争议中的上海绿捷,“校园团餐背后的资本巨兽”》阿尔法工厂研究院

《“学校饭菜有异味”,上海家长急了》南风窗