游泳冠军赛:覃海洋落后A标0.03秒,男子200蛙排名第一晋级

男子200米蛙泳半决赛 覃海洋一骑绝尘 断层第一晋级决赛

北京时间5月21日晚,2025年全国游泳冠军赛,男子200米蛙泳半决赛。此役覃海洋稳定发挥,以2分10秒35的成绩排名第一晋级,但没有能够达到世锦赛A标,仅相差0.03秒。

图片

晋级名单

1、覃海洋

2、董志豪

3、刘俊杰

图片

世界纪录:2分05秒48-覃海洋【2023福冈世锦赛】

赛会纪录:2分07秒55-覃海洋【2023全国冠军赛】

世锦赛A标:2分10秒32

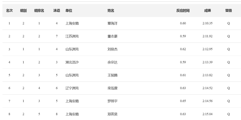
1、覃海洋、董志豪、刘俊杰分列前三晋级决赛,还有余宗达、王骏腾、栾泓霖、罗扬宇和郑英昊分列第四到第八晋级。

2、预赛阶段没有选手达到世锦赛A标,且成绩差距有点大。本场半决赛覃海洋非常接近A标,仅差0.03秒。

3、覃海洋是世界纪录、赛会纪录的保持者,此前在预赛阶段轻松拿到第一晋级,本场半决赛覃海洋的成绩有明显提升。

4、覃海洋在巴黎奥运会状态欠佳,当时半决赛游出2分09秒96排名第十,直接被挡在巴黎奥运会200蛙的决赛之外。

5、董志豪也参加了巴黎奥运会,当时在决赛游出2分08秒46,排名第4与奖牌擦肩而过。

图片

预赛回顾

预赛阶段争夺中,覃海洋游出2分13秒32排名第一,刘俊杰2分14秒82排名第二,王骏腾2分14秒97排名第三。预赛阶段的成绩整体都不算快,覃海洋与世锦赛A标也相差3秒。

图片

半决赛第1组

本组比赛王博任、穆云鹏、余宗达、刘俊杰、罗扬宇、罗一鸣、李念和宋一飞出战,刘俊杰以2分12秒95的成绩排名小组第一 ​​,余宗达、罗扬宇分列小组第二、第三。

半决赛第2组

本组比赛刘雨坤、管铮豪、刘嘉昊、覃海洋、王骏腾、栾泓霖、董志豪和郑英昊出战。

此役覃海洋出战第4泳道,出发反应时间0秒60,完成100米转身用时1分02秒01,以2分10秒35的成绩完成比赛,预赛总排名第一晋级决赛。

此外,本组董志豪排名第二,王骏腾排名第三。

决赛时间:5月22日 20:22

比赛场地:深圳市大运中心游泳馆