三年业绩猛增300%!张江这家芯片独角兽启动IPO
芯师爷
2025-01-09 17:30
发布于广东
芯师爷官方账号
出
品 | 张通社
文字|袁益
编辑
|吴晓晴
张江又一芯片独角兽完成IPO辅导备案。
近日,
英韧科技股份有限公司
(以下简称“英韧科技”)
在上海证监局完成IPO辅导备案
。
英韧科技作为无晶圆厂(Fabless)企业,专注于研发设计。其核心业务是固态硬盘(SSD)主控芯片,作为SSD的“大脑”,负责数据交互和闪存颗粒管理。此外,公司还提供固态硬盘和存储系统整体解决方案,构建一站式服务生态。
公开资料显示,
公司总部位于上海张江
,曾先后多次荣获潜在独角兽企业、专精特新“小巨人”企业、高新技术企业等国家级荣誉。
7年9款产品落地
研发团队实力雄厚
英韧科技成立于2017年6月,
创始人吴子宁
本科毕业于清华大学电子工程系,后在斯坦福大学获得硕士及博士学位,毕业后去了美国芯片制造商Marvell。
吴子宁在Marvell工作了17年,期间担任首席技术官,并领导了SSD存储控制器、硬盘控制器、无线互联和中央研发团队,全程参与了全球存储行业向SSD的产业升级。离职前,他已晋升为这家全球知名公司的首席技术官(CTO),成为存储芯片设计领域的领军人物。
随着2016年人工智能产业的爆发,数据量呈指数级增长,其中智能存储的AI芯片,让吴子宁看到了新机会。之后,吴子宁回国并于2017年6月正式成立了英韧科技。
英韧科技的创业团队大部分毕业于斯坦福、哥伦比亚、清华大学等世界一流院校,在Marvell、东芝、NVIDIA、Cisco等国际顶尖公司工作过,
行业
平均工作经验超过15年,经手的芯片出货量多达几十亿颗,团队的专业涵盖集成电路设计、软件、固件、算法等各个领域,此外还发明过数百项专利并发表过多篇论文专著。
据公司总经理刘刚回忆,当时,主流存储技术正好面临赛道更换,也就是从机械硬盘转向固态硬盘,同时数据传输接口也从SATA向更高速的PCIe切换。技术的转型削弱了大公司的传统优势,为创业公司提供了机遇窗口。同样重要的是,中国作为全球最重要的存储市场,为本土企业发展提供了广阔空间。基于此,这群曾在大公司主导多个“从1到10”项目的“老兵”回到国内,扎根在最适合集成电路产业发展的张江,希望能够从零开始,一圆自己的创业梦。
过去7年间,英韧科技以不同寻常的频率和节奏,相继发布9款存储控制芯片和一系列存储模块产品,连续4年获得“中国芯”存储芯片领域的奖项,近3年营收一直呈翻番增长。他们甚至7年搬了5次家,目的就是寻找合适的空间,来容纳快速扩容的员工队伍——
在其员工构成中,研发人员的比例高达70%
。
连续3年增长100%
营收爆发式增长
本次IPO辅导备案的消息,并没有给市场透露更多有关英韧科技的消息,即使在市场关心的财务数据等问题上,公司近几年也并未在任何场合和平台上透露过自己的核心经营数据。
不过,在2023年初的一次行业会议上,英韧科技销售副总裁韩炳冬曾透露,
在过去三年中英韧科技连续实现了100%的营收增长
。增长点包括了SATA、PCIe4.0的企业级固态硬盘,以及消费级PCIe4.0等多个细分市场;英韧的企业级SATA方案满足长尾市场对成本和供应稳定性的需求。
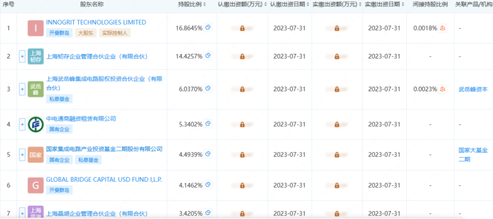
从股权结构来看,
英韧科技没有控股股东
,公司由INNOGRIT TECHNOLOGIES LIMITED持股16.61%,上海韧存企业管理合伙企业(有限合伙)持股14.21%,此外,其他股东包括国家大基金二期、上海集成电路产业基金等投资机构。英韧科技董事长为吴子宁,总经理为刘刚。
业务方面,英韧科技成功研发并覆盖了从SATA到PCIe 5.0的各代次产品,展现出强大的产品研发迭代能力。英韧科技产品广泛应用于企业级、消费级和工业级市场,覆盖笔记本、数据中心、云计算、工业控制等多个领域,具有广泛的市场覆盖和深入的行业渗透。同时,公司也是大陆首家进入国际PC OEM市场的主控厂商,已获授权专利逾百项,其中海外授权专利逾80项。
未来发展方面,英韧科技在产品计划和市场策略上都有着明确的规划。英韧科技表示:“在主控方面,英韧科技预计将在2025年一季度发布一款新品,充分配合长存最新代次颗粒的性能优势,为用户提供更好的体验。
在企业级SSD方面,英韧科技将重点关注QLC NAND和大容量技术,紧跟市场趋势,与更多服务器厂商合作,将深度定制的企业级和数据中心固态硬盘解决方案进行复制与拓展,与客户一起充分展示我国存储产业链发展的稳定与可靠。”
行业复苏缓慢
研发能力再加码
尽管英韧科技并没有进一步披露核心数据,但依然可以从其所处的赛道,来对其上市前景窥探一二。
根据公开资料,英韧科技的主要产品是固态硬盘(SSD)主控芯片,目前全球固态硬盘主控芯片厂商,主要可以分为三类:第一类为NAND原厂自研自用SSD主控芯片厂商,第二类为非NAND原厂自研自用SSD主控芯片厂商(主要为群联电子),第三类为独立SSD主控芯片厂商。
根据CFM闪存市场数据,2023年全球SSD主控芯片市场中,独立SSD主控芯片厂商的市场份额有所上升,为46%;NAND原厂自研自用SSD主控芯片厂商市场份额占比约39%,非NAND原厂自研自用SSD主控芯片厂商市场份额占比约15%。而英韧科技所处的赛道就是第三类——市场份额正在扩大的独立SSD主控芯片厂商。
从整体市场来看,根据CFM闪存市场数据,全球SSD主控芯片出货量主要受PC整机及零售渠道SSD市场需求影响。2023年度,下游需求疲软导致工业级、消费级SSD主控芯片出货量较2022年略有下降。
另一方面,根据CFM闪存市场数据,2023年SSD主控芯片总出货量约3.63亿颗,较2022年较为稳定。其中消费类SSD主控芯片出货量占比为84.24%,企业级SSD主控芯片出货量占比为13%,工业级SSD主控芯片市场整体出货量较少。
在存储芯片领域,英韧科技面临着激烈的竞争。联芸科技作为科创板新贵,产品布局多元,而得一微虽曾申报科创板后撤回材料,但也展示了市场的吸引力。
英韧科技则聚焦固态硬盘主控芯片,以高稳定性、高性能为特点,切入消费级、企业级、工业级等多领域,与对手形成错位竞争。
对于自己身处的赛道,英韧科技有着清醒的认知。面对2024年存储行业的缓慢复苏,公司方面指出,公司积极响应头部服务器商和垂直行业用户的需求,为其提供深度定制的企业级及数据中心固态硬盘解决方案。
这些方案不仅充分发挥了英韧自研主控和长存颗粒的性能优势,还推动了国产自主可控的固态硬盘全器件供应链和整盘生产链的培育,为未来的市场变化做好了充分准备。同时,在复杂的国际形势和国内市场变化中,英韧科技以国际领先的主控芯片迭代研发能力为核心,保持了强大的竞争力。
不仅如此,英韧科技重视海外市场的开拓,能够针对不同地区经济群的发展过程,提供有特色的产品与服务。未来,英韧科技将继续保持主控及固态硬盘同步发展的产品策略和“立足国内,放眼海外”的市场策略,以应对市场变化。
而对即将到来的2025年,英韧科技表示将继续大规模投入研发资源,保障从芯片设计到生产的能力,为新颗粒进行固件定制与性能优化,以及固态硬盘整盘国产化设计与生产的全栈能力。同时,英韧科技将继续以主控芯片为技术载体,为上游颗粒厂商和下游服务器厂商及垂直行业客户提供三方合作的产品方案,努力成为我国存储产业链独立发展的稳定支柱。
-END-
本文内容仅供交流学习之用,不构成任何投资建议,部分图片来自网络,且未能核实版权归属,不为商业用途,如有侵犯,敬请与我们联系info@gsi24.com。