中百集团14天9板背后:业绩连年亏损,永辉超市清仓,同业竞争解决承诺四次延期

界面新闻记者 | 郭净净

12月23日,中百集团(000759.SZ)盘中一度走出“地天板”。最终收跌6.41%,报7.88元/股。

12月以来,中百集团股价走势“跌宕起伏”,累计已涨超90%。其中12月2日至19日,中百集团14个交易日内收获了9个涨停板。

图片

12月23日,因“日价格振幅达到22.16%”且“日换手率达到41.25%”,中百集团本月第8次登上龙虎榜,当日成交额22.63亿元,成交量2.7亿股。

图片

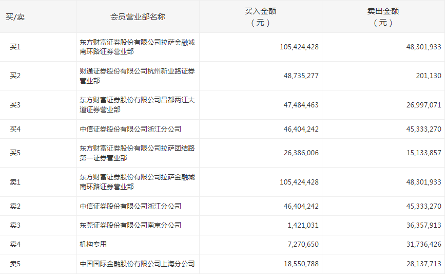
12月23日龙虎榜显示,中百集团异动成交额营业部中,前五买入额合计2.74亿元,卖出额合计1.9亿元。其中,东方财富证券股份有限公司拉萨金融城南环路证券营业部以1.05亿元位居买入榜第一名,同时以4830.19万元居卖出榜第一名。该营业部近期是中百集团龙虎榜的常客,位居12月19日龙虎榜第五大卖出营业部、12月18日龙虎榜第二大买入营业部及12月10日龙虎榜第五大卖出营业部。

图片

据东方财富Choice数据,12月以来,中百集团获主力资金净流入3.71亿元,其中12月17日主力净流出2.01亿元,12月23日主力净流入5711.38万元。

图片

永辉超市持股11年后清仓中百集团

12月18日,中百集团此前的第三大股东永辉超市(601933.SH)一则公告揭开中百集团交易大幅波动的一个因素。

永辉超市公告显示, 旗下全资子公司重庆永辉 12月3日至12月17日期间,通过集中竞价方式累计出售中百集团6710.1287万股,占其总股本的9.87%,出售金额约4.4亿元,出售前公司持有中百集团股权的账面价值为2.79亿元,初始投资成本为4.86亿元,本次出售将增加2024年投资收益约为1.61亿元(未扣除相关税费),累计确认投资收益约为-0.46亿元。

至此,永辉超市将持有11年之久的中百集团股份全部清仓。“主要是为了聚焦主业,回收非核心战略相关的投资。”永辉超市相关人士对界面新闻表示。

最近一年,除了中百集团外,永辉超市还抛售其他投资资产。2023年12月,该公司以约45亿元出售所持万达商管1.43%股份,截至2024年7月27日收到前三期万达商管股权转让款共8.91亿元,剩余待收转让款约36.39亿元。

2023年底,永辉超市出售红旗连锁10%股份,预估转让价约8亿元,转让后永辉超市仍持有红旗连锁11%股份。

2024年4月,永辉超市出售永辉云金科技65%股权,已收到转让款3.78亿元。

上述交易完成支付后,永辉超市将合计回收资金超过60亿元。

根据分期付款计划,永辉超市今年下半年还将收到第四期、第五期万达商管转让款合计8亿元。不过,永辉超市10月11日披露,公司尚未收到该转让款项,购买方大连御锦未按照约定履行付款义务,已构成违约;将向上海国际经济贸易仲裁委员会提起仲裁,追究大连御锦、王健林、孙喜双、大连一方集团有限公司的法律责任。

界面新闻了解到,2013年,永辉超市处于上市扩张期。当年11月,该公司买入中百集团0.34亿股股份,持股4.99%。此后,永辉超市持续购入中百集团股份,甚至曾于2019年3月计划通过要约收购方式将其所持中百集团的股份比例从29.86%提升至40%。当时,中百集团大股东武商联的持股比例仅为34%。若永辉超市成功要约,其将成为中百集团的第一大股东。

遗憾的是,永辉超市筹谋已久的要约收购并未如预想般顺利,最终“屈居”第二大股东。永辉超市彼时还称,公司支持武汉国资作为中百集团的实际控制人,永辉超市不谋求中百集团的实际控制权。

随着市场大环境改变,2022年,永辉超市逐步收回对外投资,并开始持续减持中百集团。

据了解,永辉超市成立于2001年,2010年在A股上市,是中国大陆首批将生鲜农产品引进现代超市的流通企业之一。到2024年6月,其开业门店合计943家。2021年至2023年及2024年前三季度,该公司分别亏损39.44亿元、27.63亿元、13.29亿元及7786.57万元。

近期,名创优品以62.7亿元入主永辉超市并取得其第一大股东之位。9月23日,永辉超市宣布,牛奶有限公司、北京京东世纪贸易有限公司和宿迁涵邦投资管理有限公司(系京东世贸的一致行动人)拟通过协议转让的方式向广东骏才国际商贸有限公司(简称“骏才国际”)分别转让其所持有的永辉超市21.08%、4.05%和4.27%的股份。本次交易完成后,合计持股29.4%的骏才国际及其实控方名创优品将与永辉超市携手向品质零售模式转型。

今年以来,各大百货超市“学习”胖东来模式备受市场关注。5月至今,胖东来团队先后帮扶永辉超市多个门店进行调改。目前,包括胖东来帮扶调改和“学习胖东来”自主调改,永辉超市全国开业调改门店约23家;该公司预计春节前将有超40家调改门店开业。

永辉超市相关人士对界面新闻表示,“我们目前调改门店的品质、口碑、客流、销售都有比较大的提高”。据永辉超市官微12月17日文章,杭州永辉超市临平万达店自主调改后恢复营业4天销售额640万元,相比调改前增长332%。

成为“胖东来概念股”和“名创优品概念股”的永辉超市自今年9月底以来大幅拉升,9月23日至12月23日期间三个月股价累计涨幅超过160%。

中百集团第一大股东同业竞争解决承诺已延期四次

12月4日、10日、15日,中百集团连续发布三份股票交易异常波动暨风险提示公告。

12月15日异动公告称,中百集团通过市场信息和投资者提问关注到,投资者对公司免税商品经营资质、门店自主调改情况、同业竞争承诺、子公司员工职务侵占情况等关注较高。

中百集团称,近期公司经营情况正常,内外部经营环境未发生重大变化。资料显示,中百集团是以商业零售为主业的大型连锁企业,拥有大卖场及综合超市、社区超市、24H便利店、购物中心、电器专卖、智慧物流、食品工厂、零售科技、塑料制品生产等多种业态。

近年来,中百集团连续亏损。财务数据显示,2021年至2023年及2024年前三季度,公司分别亏损5138.99万元、3.58亿元、3.38亿元及3.32亿元。

2023年12月20日,中百集团披露,当年7月22日,全资子公司中百仓储超市发现其财务人员邵某某存在职务侵占资金嫌疑,立即向公安机关报案;因犯罪嫌疑人逃到境外,为保证信息源不断掉,立案侦查全部秘密进行。10月13日,公安机关将窜逃到境外的相关犯罪嫌疑人全部抓捕到案。根据初审,邵某某发现并利用供应商结算系统漏洞,针对生鲜非标品采购与结算的特殊性,通过虚假勾对验收单据、伪造审批人签字、虚增供应商等隐蔽手段,恶意侵占公司巨额资金。

彼时,中百集团初步估算侵占资金金额累计约2.19亿元,预计导致公司其他应收款原值增加约2.19亿元,应付账款增加约2.19亿元,初步预估其他应收款计提坏账准备约2.1亿元,减少2023年利润总额约0.5亿元,调减以前年度利润总额累计约1.6亿元。中百集团12月15日称,目前公司正在积极配合公安机关加大力度追赃挽损。

中百集团自5月29日全面部署中百仓储超市公司参与胖东来帮扶调改学习项目的各项工作。就门店自主调改情况,中百集团称,公司组织专班参与同行门店调改学习,并于7月份启动自主调改实践,截至目前,中百仓储关山光谷店等8家大卖场已重新调改开业,结合门店情况,调改工作还将持续进行。

另据中百集团官微“中百之声”12月19日文章透露,7—11月,中百超市“调改店”销售额同比提升超20%,来客数同比提升超30%;截至目前,中百超市“调改店”数已超80家。

针对市场关注的免税商品经营资质情况,中百集团回应称,为优化公司业务结构,进一步拓展业务范畴,公司于2020年7月向政府相关部门递交了关于支持公司申报免税品经营资质的请示;目前暂无进展,如有新的进展公司将按照信息披露的相关规定及时予以披露。

就同业竞争承诺,中百集团表示,公司分别于2024年10月9日、10月25日召开第十一届董事会第八次会议、2024年第四次临时股东会,审议通过了《关于第一大股东延期承诺的议案》;延期后的承诺为:武汉商联(集团)股份有限公司(简称“武商联”)将自股东会审议通过本项议案之日起5年内,并力争用更短的时间,在符合法律法规及相关监管规则原则下,综合运用资产重组、业务调整、委托管理等方式实现两家公司分业经营,尽快解决两家公司同业竞争问题。

界面新闻了解到,这已经是第一大股东武商联第4次延期承诺。2007年,武商联成立时曾就解决武商集团、中百集团和武汉中商三家上市公司同业竞争问题承诺:“在条件成熟时,按照市场规则择机逐步对三家上市公司进行资产重组,优化业态和资源配置、通过整合逐步解决上市公司之间的业态交叉竞争状态”。

武商联于2014年规范承诺一次,2019年延期承诺一次。因疫情等因素影响,武商联于2021年7月变更承诺:“自股东大会审议通过本项议案之日起,武商联将积极推进,加大武商集团和中百集团分业经营力度,在3年内通过资产重组等方式最终解决两家上市公司的同业竞争问题”。2024年8月5日,武商集团、中百集团股东会审议武商联延期承诺的议案,武商集团股东会审议通过,中百集团股东会审议未通过。

中百集团还指出,武商联基于对公司未来发展前景的信心和长期投资价值的认可,自增持计划公告披露日(2024年7月31日)起6个月内增持公司股份,增持股份数量不低于公司已发行总股本的1%且不超过2%。截至10月30日,武商联累计增持公司股份668.02万股,占公司总股本的0.98%,其增持计划尚未实施完毕。

12月23日,仍有投资者在互动平台追问中百集团“武商集团旗下的超市业务要全部注入给贵公司”?或“公司有考虑入股或者收购武商集团?”对此,中百集团回应称,公司重大事项严格按照有关法律法规的要求履行信息披露义务。