
贵州水司楼上演“变形计” 改建全新度假酒店。图片来源:视觉中国
楚小强/发自北京
但其实,在贵州省独山县的深山中,也有一座被当地誉为“小布达拉宫”的巍峨建筑——天下第一水司楼。这座99米高的庞然大物,声称没有用一颗螺丝钉,而是以全木质框架榫卯结构建造,其中使用了当地水族、布依族、苗族等少数民族的建筑元素。传统的建造手法,加之规模上举世无双,让水司楼具备了独特的民族特色,当地甚至还为其申报了3项吉尼斯世界纪录:世界最大牌楼、最高水族建筑、最高琉璃陶建筑。“世界之最”的荣光之下,水司楼却有着不堪回首的过往。作为曾经的扶贫重点县,水司楼是独山县举债支撑起的庞大工程,力图将其打造成当地的标志性建筑。然而,雄心勃勃的背后,争议也从未间断。最终,水司楼也因资金流断裂、建造不合理等原因中途烂尾,一度成了独山县的一块“心头病”,其盘活改造工作长期备受关注。直到近期,这一烂尾项目被改造成现代豪华酒店的消息不胫而走,原先木质琉璃风格的民族建筑,已被钢筋混泥土及玻璃墙幕取代。追溯背后的接盘者,是酒店业大佬徐曙光旗下的格美集团。据多家媒体报道,改造后的水司楼,新面孔为“紫林山豪利维拉酒店”。此前,水司楼的盘活之路一波三折,多家企业入驻后又中途终止。如今“起死回生”,并改头换面为高档酒店,不禁让人好奇,这次的接盘者格美集团究竟是何来头?最大“烂尾”牌楼改成高档酒店
水司楼改造前后对比。图片来源:格林酒店集团官微
10月17日,山海新财经通过格林酒店集团(格美集团旗下酒店集团)官网的酒店预订发现,“紫林山豪利维拉酒店”已出现在搜索结果中。详情介绍页显示,这家酒店为“高档型”,“价格200元起”,伴有“2024年装修”的说明字样。酒店地址为:贵州省独山县影山镇净心谷景区。与水司楼的地址一致。
不过,当拨打电话进行预订时,格林酒店集团工作人员对山海新财经表示,“这家酒店在我们的系统中显示还在筹备中,具体开业时间暂时不清楚。”据中国新闻周刊日前报道,独山县委一位官员透露,这一项目(水司楼改造为紫林山豪利维拉酒店)的竣工和运营时间还不确定。不过后续会给公众一个交代。事实上,水司楼有着不堪回首的过往,其是独山县原县委书记潘志立主政时遗留的项目,它的“烂尾”,不仅仅是一个“世界之最”建筑物的失败,更是整个独山县不愿对外提及的“伤疤”。毕竟对于并不富裕的独山县来说,当初举债数亿元打造的这一所谓标志性建筑,外界看到的更多是主政官急功近利、华而不实的面子工程,让独山县本就有限的财政收入雪上加霜。潘志立也为自己主政期间的所作所为付出了应有代价,其最终于2020年以受贿罪、滥用职权罪获刑12年。
烂尾后盘活一波三折
潘志立落马后,作为他“不顾民生盲目举债”的典型项目,水司楼的资产盘活工作备受关注,当地也一直为此努力招商引资,希望得到妥善处置。水司楼是独山县净心谷景区子项目之一,烂尾1年后,被当时尚未退市的洪涛股份于2017年4月拿下,合同暂定金额4.5亿元。洪涛股份原本计划用1年时间完成工期,但进场施工后,因后续建设资金没有到位,且投资规模过大与实际需求不符,独山县影山镇政府将该项目列入转建项目。洪涛股份在2019年年报中曾披露,彼时水司楼大酒店项目完工了47.81%,当期确认收入265.86万元,累计确认收入1.97亿元,回款6000万元,应收账款余额1.55亿元。
洪涛股份之后,据媒体报道,贵州南方卓越投资运营管理(集团)有限公司、贵州酒店集团等均染指过水司楼改造项目。其中,贵州酒店集团因测算该项目存在较大亏损风险,于2021年8月终止了合作。随后的2023年8月,贵州省公共资源交易网发布的一份招标公告显示,净心谷酒店(水司楼)提升改造项目设计施工总承包(EPC)已由独山县发展和改革局批准建设,据此对该项目的施工进行公开招标。招标信息显示,项目建设地点为独山县影山镇净心谷景区,占地面积为0.73万平方米,总建筑面积为7.46万平方米。其中包括车位260个,桥梁3座......招标合同估算价为1.5亿元。招标文件还透露,该项目的建设资金为非政府投资,政府投资比例为0%;招标人为贵州鑫影文旅投资有限公司(以下简称“贵州鑫影”);资金来源于企业100%自筹,资金情况已落实。企查查显示,贵州鑫影是独山县国有资产和金融业发展服务中心全资控股的子公司,后者的另一个身份是独山县债务化解中心。
上述招标公告披露2个月后(2023年10月),黔南州交通建设、华诚博远工程技术集团两家公司中标。前者是贵州省黔南州国资局全资子公司,后者是由自然人吴峥实际控制的民营建筑公司。2024年1月,独山县县长王裕民在作政府工作报告时提出,“从盘活思路和运营路径上破题,年内净心谷酒店建成投用,净心谷景区实现运营。”
新接盘者是何来头?
不过,到了今年1月18日,水司楼改造项目又传出新的消息,酒店业大佬徐曙光的格美集团成了新的接盘者。彼时,格美集团旗下的格林酒店集团在官微发布一则资讯,透露出净心谷项目是格美集团布局贵州文旅产业的重要一步,改建之后将成为集酒店住宿、餐饮、会务、休闲娱乐、康养于一体,拥有365间豪华客房的净心谷豪利维拉酒店。项目计划在2024年8月开业。这则资讯还提到,水司楼是净水谷景区的核心板块,因设计、建造不合理沦为了闲置需盘活资产。格美集团响应贵州省政府号召,联合国际知名设计团队,将水司楼打造成当地文旅标志性建筑,推动当地旅游业发展。在此之前,格美集团董事长徐曙光曾于2023年10月和2024年1月,两次率队前往独山县考察调研,并与当地达成合作意向。徐曙光在当时的座谈会上表示,独山是一个旅游资源丰富、生态环境优美的地方,具有发展文旅康养产业的优势和潜力。格美集团将继续做好前期策划,在文旅康养、高端品牌酒店、地方特色美食等领域与当地开展深度合作。
格美集团、格林酒店集团董事长、CEO 徐曙光 图片来源:大美独山官微公开资料显示,徐曙光1964年出生于山东省乳山县,毕业于北京工业学院(现北京理工大学),后考入美国南加州大学,拿到应用数学与电脑工程的硕士学位。早在美国时,徐曙光就有一段房地产从业经历,其1997年在美国创建了太平洋房屋建设公司,为人生积累了原始资本。2004年回国创业,成立了格林酒店集团。10年后,格林酒店集团已跻身全国酒店前五强。2017年,为拓展业务版图,谋划多元化布局,徐曙光创立格美集团。收购大娘水饺,投资鹿港小镇、家有好面等餐饮公司,后又布局银杏教育、格美康养文旅等,其已将集团业务扩至涵盖酒店、餐饮、数字智造、文旅康养等多个领域。格美集团成立的第2年,徐曙光的核心资产格林酒店集团于2018年在美股成功上市,成为国内继如家、华住、7天之后第四个登陆美股的连锁酒店品牌。作为实际控制人,徐曙光无疑是上市最大的受益者。当年,徐曙光以105亿元财富首次登上胡润百富榜,排名第353位。截至2023年末,徐曙光拥有格林酒店集团A类普通股5658.93万股,持股比例达84.7%,拥有94%的投票权,对公司有着绝对控制权。格林酒店业绩剧烈波动
随着全球经济下行,叠加行业竞争及疫情冲击,上市后的格林酒店集团表现并不亮眼,业绩经常剧烈波动。据wind数据显示,2020年至2022年,格林酒店集团连续3年出现净利润负增长,增速分别为-40.97%、-55.06%、-347.77%,其中营业收入和净利润双双下降的2022年,公司甚至亏损了2.91亿元。
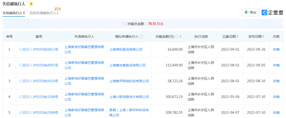
2023年,格林酒店集团扭亏为盈,营收和净利润取得大幅增长。但酒店门店数量的增长并不尽如人意,其2023年末门店数仅增长179家至4238家,其中主力品牌格林豪泰酒店出现门店数量下滑的现象,从2226减少到2220家。在经济型酒店的黄金时期,格林豪泰酒店曾是格林酒店集团比较有竞争力的产品,主打下沉市场。依靠这个单品牌,格林酒店集团迅速跻身国内酒店集团前五强,并最终成功登录纽交所。除了酒店的门店增长疲态,餐饮门店的增长也在2023年承压,从上年的261家减少为194家。被寄予厚望的大娘水饺,门店数量曾一度达到450家,如今却滑坡明显。不仅如此,此前投资的家有好面,自2023年4月以来已多次沦为“失信公司”,甚至在今年7月还被上海市市场监督管理局列为“异常经营”企业,原因是未按规定期限公示年报。不过,在这之前,徐曙光已于2023年8月从家有好面的董事名单中退出;在格美集团旗下多家公司担任董监高职务的张燕,也不再担任家有好面的法定代表人。回顾2018年赴美敲钟上市之时,格林酒店集团当时的发行价达14美元,公司总市值近100亿元。如今上市6年,截至2024年10月16日收盘,公司股价已跌至2.97美元,总市值缩水八成。
一并缩水的还有老板的身家。2021年胡润百富榜上,徐曙光的财富数字跌至55亿元,与公司刚上市时相比已发生腰斩,名次也从353名下降至1297名。2022年至2023年,徐曙光已连续两年无缘于胡润百富榜。