2块1进货卖到39元的养生茶,背后是真假“同仁堂”之战

本文来源:时代周报 作者:王晨婷
某电商平台上,一间“南同四海滋补养生旗舰店”售卖的标价39元的“南京同仁堂 红豆薏米茶”品类下,已有100万条售后反馈。另一间“南同四海自营旗舰店”售卖的单价39.6元的同仁堂“菊花枸杞决明子茶”和59元的“玉米须桑叶茶”售后反馈均已超过300万条。以此保守测算,南同四海的以上几个商品,在该电商平台的销售额合计已超过亿元。
图片
近日,一家柴记商贸“再度”发起商标注册申请,拟注册名为“南同四海”的商标,已进入公示期。一年前,该公司第一次申请要注册这个商标,被有关部门驳回。
天眼查显示,申请“南同四海”商标的柴记商贸,与南京同仁堂、北京同仁堂,并无股权关系。而其网店的首页,“南同四海”的标识与“南京同仁堂”并列平行。事实上,仔细观察其售卖的产品,“南同四海”标识,与商品上南京同仁堂的“乐家老铺”商标,外观与背景花纹相同,仅中心的四个文字不同。
图片
南同四海网店售卖的同仁堂红糖姜枣茶包装上,可以看到:产品的“总经销商”是南京同仁堂乐家老铺健康科技有限公司,该公司背后南京同仁堂药业只占5%的股权,剩余95%股权归属一家沈阳的民营商贸公司。生产商是亳州市金正邦科技有限公司,与南京同仁堂也无股权关系。
时代周报记者在某渠道平台上发现,按件或按盒批发的桑叶茶、批发价为3.7元/盒。某企业为南京同仁堂代工的玉米须茶,5-199盒批发价为7.8元/盒,大于1000盒批发价直降到5.5元/盒。时代周报联系卖家,卖家方面表示,如果量更大,价格还可以再便宜几块钱。
2020年,南京同仁堂因几家贸易公司在某电商平台上违法使用南京同仁堂商标售卖养生茶将其告上法庭。法律文书上显示,其中一家贸易公司销售的桂圆红枣枸杞姜茶月销量9500+,累计评论27815条。网上卖价是39.9元。
上述贸易公司对桂圆红枣枸杞姜茶的采购单价是2.1元,
另外该贸易公司还销售了赤小豆芡实薏仁茶、冬瓜玫瑰荷叶茶等。赤小豆芡实薏仁茶、冬瓜玫瑰荷叶茶的采购价分别为2.1元、2元,卖家是一家已经获得南京同仁堂产品经销权的百年合纵大健康药业有限公司,据法律文件中称,百年合纵为南京同仁堂上述三款产品负责全国的区域销售和服务工作。
此外,在另一电商平台一搜南京同仁堂,可以看到各种五花八门的贴牌产品,如大力丸、壮阳药、美白、祛斑等等,来自各种工厂店、头发养护店、肌肤护理中心、草本经营店。巨大的毛利,衍生出各种渠道的经销、代理、贴牌商,这背后核心还是源自“同仁堂”的品牌价值,和消费者对同仁堂的口碑认可。
322年前,北京前门外大栅栏街路南,一家药铺在此开立。以“同修仁德,济世养生”为意,取名“同仁堂药室”。
后来有部叫作《大宅门》的电视剧,以同仁堂的历史为原型。
创始者乐氏家族或许想不到,同仁堂在三百多年后会变成庞大的医疗商业帝国,并在如今的电商时代,以各种衍生产品在互联网开花结果。而当年分销商最后做成独立品牌的戏码,如今也正在互联网上重复上演。
三个同仁堂
国内被认定为老字号的同仁堂只有三个:北京同仁堂、天津同仁堂、南京同仁堂。
一切还是得从乐家的“宅斗”故事说起。
乐家第10世的乐平泉锐意经营,同仁堂在他手中盛极一时。乐平泉生有四子,即乐孟繁、乐仲繁、乐叔繁、乐季繁,后人分别称之为大房、二房、三房、四房。乐平泉和他的母亲许氏去世后,同仁堂由四大房共管。
那是清末民初,在庞大的封建家族里,“共管”意味着无尽的勾心斗角。
图片
乐氏族谱
1929年,大房乐笃周(乐孟繁的孙子)到南京开设同仁堂分号,所有资金、药材都由北京同仁堂直接拨付,这也是如今的南京同仁堂前身。
早期南京同仁堂一度经营良好,甚至有超过本家之势。但也正如《大宅门》里的剧情,这一做法违反了“京外别无分号,只可用乐家老铺的名号”的族规。触怒了其他三房的“大房”管理人因此被赶下台。
实际上,根据《同仁堂叙述史》记载,由各房支子孙各自开设药铺的模式,被乐家各支沿袭下来。在南京同仁堂之前,就已有多有实践,只是不以“同仁堂”为字号。
如另一家中华老字号宏济堂由三房长子乐达聪(又号乐镜宇)于1907年在山东济南创办,以金牌阿胶为核心产品。乐达聪正是《大宅门》里陈宝国所扮演的白景琦原型,剧中他在济南创办的“泷胶庄”原型就是宏济堂阿胶厂。
图片
(图源:影视截图)
四房长子乐达仁于1914年在天津创办了达仁堂,如今以速效救心丸而闻名;大房长孙乐佑申在1921年创办乐仁堂,如今隶属于隶属于津药达仁堂集团。
截至1949年,乐家四大房子孙开设的药铺除同仁堂外共30余家,分设在天津、上海、长春、西安、长沙、福州、香港等地。但在此后大部分并未被保留下来。
天津同仁堂的来历则更为复杂。根据其官网介绍,天津同仁堂的前身起源于1644年创立的张家老药铺,其官网称最早在1788年,张家老药铺成为北京同仁堂的分销商。历史上曾使用京都同仁堂张家京药铺、京同仁堂和记等名称开展药品经营活动,其炮制的药酒一度是主打产品之一。背后的运营方,一直是张益堂的家族,后来加入了天津的本地资本。
1956年,天津京同仁堂和记,正式更名为“公私合营天津同仁堂制药厂”,开始使用独立的同仁堂地域品牌。
从如今的投资关系来看,三个同仁堂之间并无关系。
北京同仁堂曾以侵权为由将天津同仁堂告上法庭;对于南京同仁堂,北京同仁堂也曾在对投资者的回复中明确表示“两者没有任何关系”。
目前,同仁堂集团由北京国资100%控股。天眼查显示,在层层关系穿透后,南京同仁堂目前的实际控制人是青岛市国资委,最终受益股份是51%。
图片
南京同仁堂实控人是青岛国资委(图源:天眼查)
天津同仁堂则为民营企业。持股41.36%的张彦森是天津同仁堂的实控人,他同时也是狗不理集团的董事长。2023年12月,天津同仁堂的负责人由张彦森变更为他的侄子张营,但张营在今年4月也已经退出管理层。
商标之争
三个同仁堂的共同之处在于,公司在股权上与同仁堂品牌的创始人乐家已没有关系。
2013年5月,乐氏家族的第十四代乐觉心(二房后人),创立乐氏同仁药业科技有限公司。同年,乐氏同仁收购河南三门峡莘原药厂,并开建占地200亩的乐氏同仁药厂。2015年,一家乐氏同仁老药铺在北京开业。
乐家同仁药铺,是否可以拥有同仁堂的知识产权?也是一笔糊涂账。
2016年,北京同仁堂将乐氏同仁告上法庭,称后者商标的主体识别部分文字“樂氏同仁”与“同仁堂”在文字构成、呼叫方式、整体识别效果等方面较为接近,构成近似商标。但在两次审理后,北京知识产权法院并未支持北京同仁堂的主张。
但在之后乐氏同仁与国家知识产权局的相关案件中,法院并未支持乐氏同仁的主张。法院认为,“樂氏同仁”与“同仁堂”在“人用药、中药成药、消毒剂”“人用药、药茶”等商品类目上,构成近似商标。
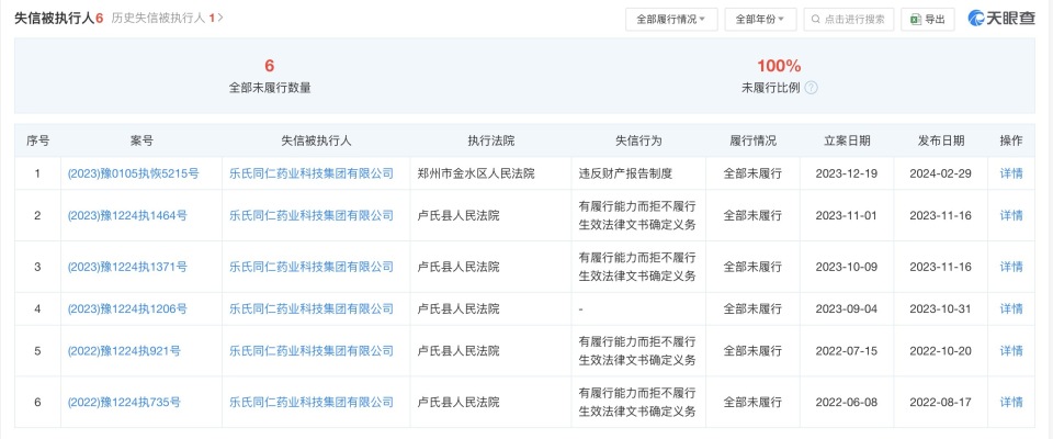
根据天眼查显示,乐氏同仁药业科技集团有限公司在今年已被列为失信被执行人,不过这与商标争议并无关系。另外,乐觉心并不是公司法人,但仍是公司董事,最终受益股份只有19.8%。天眼查显示,乐氏同仁背后还存在增资纠纷。
图片
乐氏同仁的失信记录(图源:天眼查)
北京同仁堂在2021年也曾因商标、字号被侵权,将“天津同仁堂”诉诸法院。
北京同仁堂第十五代传人、同仁堂文化传承中心主任乐拯当时表示,根据北京同仁堂的历史记录和传承家谱信息,在同治、光绪年间,出现假冒同仁堂案件后,北京同仁堂便已公开声明“同仁堂只此一家别无分号”。
天津同仁堂声明称其字号、企业名称等都经合法批准。案件审理至今未有进展。
图片
天津同仁堂的“津同仁”商标(图源:天眼查)
在康德智库专家、上海永盈律师事务所律师潘雪晴看来,老字号商标争议往往涉及悠久的历史渊源,法院在审理时会考虑品牌的历史传承、使用习惯以及市场认知度等因素。
“两家同仁堂虽然现今归属不同公司,但历史上存在交集,天津同仁堂的前身曾使用过与北京同仁堂相似的字号。此类案件之所以审理时间较长,主要因为涉及的历史问题复杂、证据收集困难以及双方争议较大。加上商标争议案件需要经过多个法律程序,包括立案、调查取证、开庭审理、判决等阶段,每个阶段都需要耗费大量时间和精力。”潘雪晴告诉时代周报记者。
根据2006年商务部认定的第一批“中华老字号”,北京同仁堂(字号:同仁堂)、天津同仁堂(字号:天津同仁堂)、南京同仁堂(字号:南京同仁堂)均有入选。而从商标来看,北京同仁堂拥有商标“同仁堂牌”,天津同仁堂的商标为“太阳”,南京同仁堂的则为“乐家老铺”。
去年11月,商务部等5部门发布《关于公布中华老字号复核结果的通知》,三家同仁堂都保住了自己的“老字号”。
但老字号也不意味着就能“躺平”。商务部同时将长期经营不善,或者丧失老字号注册商标所有权、使用权的55个品牌,移出中华老字号名录。其中就有与苏州稻香村陷入“南北之争”的天津稻香村。
养生茶乱战
改革开放后,企业的资本化浪潮中,北京与天津同仁堂开始了IPO尝试。
北京同仁堂资本化最为成功。
1997年,同仁堂股份在上交所上市;2000年,同仁堂科技在香港联交所上市;2001年,中国北京同仁堂集团公司改制为国有独资公司;2013年,同仁堂国药在香港联交所上市。
眼下,同仁堂集团第四个IPO项目——同仁堂医养瞄准了港交所。
图片
(图源:同仁堂医养官网)
2015年12月,天津同仁堂曾在新三板挂牌,股票代码津同仁堂(834915.OC),但于2017年终止挂牌。
2018年,津同仁计划在上交所上市,保荐机构为民生证券,审核排队两年多后,津同仁以调整上市计划为由撤回上市申请。2021年,津同仁改道深交所创业板,保荐机构仍为民生证券。也正是在天津同仁堂这次提交招股书的两个月后,北京同仁堂将其告上法庭。后因商标纠纷等各种原因,天津同仁堂再次折戟IPO。
南京同仁堂目前尚未传出IPO消息。
(北京)同仁堂(600085)财报显示,2023年营业收入约178.61亿元,同比增加16.19%;归属于上市公司股东的净利润约16.69亿元,同比增加16.92%。
北京同仁堂的优势在于制药和零售两条腿走路。零售业务方面,年报显示,截至2023年末,同仁堂商业共设立零售门店1001家,2023年内新增门店59家,其中新设62家,闭店3家;医药工业方面实现营收110.79亿元,同比增长12.60%。
图片
(图源:同仁堂集团官网)
北京同仁堂的大单品是安宫牛黄丸。但在原料大涨的背景下,单品支撑能力受到考验。今年6月,同仁堂国药(03613.HK)宣布,港版一粒装安宫牛黄丸价格已从之前的1060港元上调至1280港元,折合人民币约1189元,涨幅超过20%。
安宫牛黄丸也是南京同仁堂的核心单品。2021年,南京同仁堂药品板块总体营收17.5亿元,其中安宫牛黄丸突破7亿元,即占到了40%。
电商平台上,南京同仁堂和北京同仁堂的安宫牛黄丸(图源:网络截图)
另据申报材料,2020年至2022年,津同仁(天津同仁堂)营收分别是8.18亿元、10.12亿元、10.86亿元,同期净利润分别是1.61亿元、1.91亿元、2.07亿元。,报告期内,天津同仁堂的收入和毛利主要来源于肾炎康复片、血府逐瘀胶囊和脉管复康片。
庞大的贴牌体系与产品背后,显示出南京同仁堂在营销渠道方面的放大。
营销一直是南京同仁堂布局的重点。2013年,南京同仁堂深化改革,创新营销模式,在短时间内完成组建了3000多人的专业销售团队。数据显示,2013-2018年,南京同仁堂复合增长率达到70%以上。2021年南京同仁堂仅药品板块总体营收就达17.5亿元,虽然离北京同仁堂尚有较大的距离,但已将天津同仁堂甩开。
上文仅凭电商渠道售卖带有“同仁堂”品牌的一系列养生茶,总营收(预估)就已过亿的柴记商贸背后,对于中医药老字号来说,非药健康板块是值得探索的新增长点。
日常靠咖啡续命的打工人小王最近开始尝试养生茶。她告诉时代周报,“在同事推荐下,在外卖平台上买了一盒同仁堂的清热养肝茶,感觉口味调配得不错,喝热茶也比较舒服。后面又在电商平台追加购买了几盒不同口味的。”
“养生茶”早已成为几家同仁堂争夺的新战场。
早在2015年,北京同仁堂就登陆京东众筹,用互联网思维卖养生茶,当年总产值就预计达到2000万元。又在2019年开设“知嘛健康”新零售品牌,在健康餐食板块将药食同源日常化、生活化,制作枸杞拿铁、熬夜水等国潮养生饮品,至今在全国开设了多家门店。
天津同仁堂和摩提工房联合,推出过一个茶饮品牌“彦悦山”,首家门店于2017年开在上海,但现在5家门店已经全部关闭。
图片
天津同仁堂参与创立的彦悦山已经均歇业关闭(图源:网络截图)
相比北京同仁堂、天津同仁堂的自营渠道,南京同仁堂在养生茶品类似乎授权了百年纵横、同仁堂乐家老铺健康科技有限公司、亳州市金正邦等经销商和代工方,由此衍生出“南同四海”背后一批主打养生茶的商贸公司,在电商渠道上已经跑得更远。
在中国商业联合会专家委员会委员赖阳看来,随着医疗技术的进步,药品不断从草药升级到分子药品,再到基因治疗药品,传统中药更多地走向养生保健功能,许多企业面临相应的转型。中医的养生调理原理广受欢迎,如何调配口味时尚、兼具养生功能的茶饮产品成为企业获取市场销售的好机会。
“例如可口可乐最初也是药品,后来转型为时尚饮品。中药企业在转型中需要探索产品与口味、功能之间的平衡,注重更贴近年轻人的时尚化设计,并且保证品质稳定性。”赖阳对记者说。
另外,值得一提的是,乐家四大房子孙开设的药铺中,也有一些保留至今,并已上市或在冲刺上市中。
乐达仁于1914年在天津创办的达仁堂,以速效救心丸为核心产品。2001年在上交所上市,现市值约250亿元。第一大股东为持股42.99%的天津市医药集团有限公司。
乐达聪于1907年在济南创办的宏济堂,以金牌阿胶为核心产品。2016年9月14日,宏济堂在新三板挂牌,一年后终止挂牌。2021年9月,宏济堂开启上市辅导,但以撤回辅导备案告终。今年1月29日,宏济堂在山东证监局再次进行IPO辅导备案,又一次开启冲刺上市之旅。