详解 | 悬架系统能量回收技术

图片


作者 | 北湾南巷

出品 | 汽车电子与软件




传统车辆悬架系统通过将机械振动能量转化为热能来消耗能量,造成大量能量浪费。近年来,具有能量回收功能的悬架系统因其在振动衰减性能和减少能量消耗方面的改进而受到广泛关注。本文讨论了能量消耗量和能量回收潜力,回顾了能量回收悬架的研究与发展,总结并评价了能量收集方案及其特点。研究表明,结合振动衰减性能与能量回收效率的再生悬架具有广阔的应用前景。

 



#01

悬架系统分类


图片

乘用车领域,市面上最常见的被动式悬架多采用螺旋弹簧+液压减振器的结构形式,被动式悬架在汽车在行驶中无法依据路面状况随时调节悬架的刚度和阻尼。

 

图片

被动悬架


半主动式悬架,顾名思义,就是部分性能可调。可以是采用连续阻尼控制减振器(CDC)或磁流体变阻尼控制减振器(MRD)替代传统减振器而让悬架阻尼大小变得可调,也可以是采用空气弹簧替代传统螺旋弹簧让刚度变得可调。

 

图片

图片

图片

半主动悬架(空簧+传统减振器)


主动悬架(Active Suspension)是一种高度先进的汽车悬挂系统,它通过电子控制单元(ECU)和执行器来实时调节悬挂的性能,以适应不同的驾驶条件和路况。主动悬架系统的主要特点是能够根据实时数据自动调整悬挂的刚度和阻尼,以提供最佳的驾驶体验。


一、主动悬架系统的构成:


1. 电子控制单元(ECU):ECU是主动悬架系统的核心,负责处理来自各种传感器的数据,并根据这些数据决定如何调整悬挂设置。


2. 传感器:传感器包括加速度计、陀螺仪、轮速传感器等,用于实时监测车辆的运动和路面状况。


3. 执行器:执行器是主动悬架系统的关键部件,包括电动或液压执行器,用于调整悬挂的刚度和阻尼。


4. 控制算法:ECU使用复杂的控制算法来处理传感器数据,并决定如何调整悬挂设置。


5. 实时调整:主动悬架系统能够实时响应路面变化,如颠簸或不平,自动调整悬挂硬度,提供平稳舒适的乘坐体验。


6. 适应不同驾驶条件:主动悬架系统可以根据不同的驾驶条件自动调整悬挂设置,如城市驾驶、高速公路行驶或越野,以提供最佳的性能和舒适性。


主动悬架系统的构成展示了这一技术在提高车辆性能、舒适性和安全性方面的重要作用。随着技术的不断进步,主动悬架将继续在豪华车型、高性能车型和电动车型中发挥重要作用。


主动式悬架,支持刚度和阻尼同时可调。


二、主动悬架的工作原理:


1. 实时监测:主动悬架系统配备有各种传感器,如加速度计、陀螺仪和路面高度传感器,用于实时监测车辆的运动和路面状况。


2. 控制算法:系统中的电子控制单元(ECU)使用复杂的控制算法来处理传感器数据,并决定如何调整悬挂设置。


3. 执行器:主动悬架系统使用电动或液压执行器来调整悬挂的刚度和阻尼,以适应监测到的条件。


三、主动悬架的优势:


1. 提高舒适性:主动悬架能够实时响应路面变化,如颠簸或不平,自动调整悬挂硬度,减少车身震动,提供更加平稳舒适的乘坐体验。


2. 增强操控性:在高速行驶或转弯时,主动悬架可以自动增加悬挂硬度,减少车身侧倾和俯仰,从而提高操控性和稳定性。


3. 适应不同驾驶条件:主动悬架系统可以根据不同的驾驶条件自动调整悬挂设置,如城市驾驶、高速公路行驶或越野,以提供最佳的性能和舒适性。


4. 减少维护需求:由于主动悬架能够有效减少路面冲击对车辆的损害,因此有助于延长车辆的使用寿命,并减少维护需求。


5. 与车辆系统的协同工作:主动悬架系统可以与其他车辆系统(如导航系统、自动驾驶系统)协同工作,提供更加集成和智能的驾驶体验。


主动悬架的这些特性使其成为现代汽车悬挂技术中的一个重要创新。随着技术的不断进步,我们可以期待主动悬架在未来汽车中发挥更加重要的作用。


四、主动悬架的典型案例:


1. Audi A8

 

图片

图片

奥迪在2018年通过其A8车型商业化了配备齿轮的电动机驱动技术(Adcock,2017年)。这是唯一一款在量产汽车上可用的主动悬挂系统。该系统如图所示,由一个高齿轮比的电动机组成,其杠杆臂直接连接到车轮。通过改变电动机的旋转方向,系统可以对车轮施加正向或负向力。系统通过使用串联弹性配置来保护,避免来自路面的反向驱动力,其中在齿轮电动机和车轮之间安装了一个弹簧。尽管这种组合非常可靠且强大,但高齿轮比、电动机反转和串联弹性配置的结合导致带宽较低(Adcock,2017年)。


2. ClearMotion(Nio 天行悬架)

 

图片

电磁液压驱动技术自2007年以来由ClearMotion公司开发。该系统如图所示,由四个小型伺服泵组成,这些伺服泵直接在标准减震器中调整油压,以控制施加在车轮上的力(ClearMotion,2018年)。尽管结构紧凑,但用于汽车主动悬挂应用的电磁液压执行器的带宽较低,需要通过控制算法(如机器学习)进行补偿,以尝试预测路面轮廓,而不是直接对干扰做出反应。该策略是映射每条道路上的每个颠簸,将信息保存在云数据库中,然后向车辆发送实时命令以相应地做出反应。这使得该技术更像是一种“主动”悬挂系统,依赖于软件和与庞大且最新的云数据库的实时连接才能正常工作。


3. 梅赛德斯-奔驰的E-Active车身控制:


图片

图片

E-Active车身控制是一种电液悬挂系统,具有可变阻尼,旨在实现优化的行驶舒适性。该悬挂由以下部分组成:气动系统、四个电液控制的减震器以及由一套传感器协调,用于扫描道路表面的额外摄像头、控制单元,以及由48伏特网络驱动的液压泵。上述所有组件的作用是为您提供最佳的舒适性以及在最具挑战性的驾驶情况下的额外安全性。


值得一提的是,比亚迪的云辇系列智能车身控制系统是该公司自主研发的创新技术,代表了智能底盘技术的重要进步。云辇系列由四个不同级别的系统组成:云辇-C、云辇-A、云辇-P和云辇-X,其中云辇-C、云辇-A、云辇-P计划应用于比亚迪的量产车型,而云辇-X作为尖端的概念产品,目前装备在仰望U9工程车上,展示了该技术的未来方向。

 

图片

云辇技术的核心在于一个集成的架构,这个架构由感知层、决策层和执行层组成。感知层通过各种传感器获取路况和车身状态信息,决策层对这些信息进行处理并输出控制指令,而执行层则根据不同车型的需求实现具体的功能。

 

图片

云辇-C系统,即智能阻尼车身控制系统,提供了类似CDC(连续阻尼控制)悬架技术的功能,通过电磁阀控制减震器阻尼,实现无级调节。与传统CDC技术相比,云辇-C在扫描频次和响应速度上都有显著提升,为驾驶者带来更加舒适和操控性更强的驾驶体验。云辇-C预计首先搭载在比亚迪的旗舰车型EV上。

云辇-A系统,智能空气车身控制系统,是云辇-C的升级版,采用电磁阀减震器与多腔空气弹簧的组合,不仅能够调节阻尼,还能调整车身高度和刚度,提供高达150mm的高度调节范围,极大提升了乘坐舒适性和车辆操控性。

 

图片

云辇-P系统,智能液压车身控制系统,采用主动式液压减震器,具备快速响应和高负载能力。这种系统不需要空气弹簧,通过液压油的充放来控制减震器的伸缩,实现了超过5吨的举升能力和一键调平功能,为车辆提供了卓越的越野性能。

 

图片

云辇-X系统,作为概念性产品,展示了云辇技术的高级功能,如悬架系统的快速响应和举升能力,以及潜在的未来应用。云辇-X在云辇-P的基础上进一步提升,利用先进的传感器和控制系统,为自动驾驶和驾驶辅助系统提供了强大的支持。

 

图片

总体而言,云辇系列不仅展现了比亚迪在智能底盘技术领域的创新能力,还预示着未来汽车在安全、舒适、操控和越野性能方面的重大突破。随着技术的不断成熟和应用,云辇系统有望为消费者带来更加丰富和卓越的驾乘体验。




#02

悬架系统能量回收的背景介绍


车辆悬架系统的主要功能是支撑车身重量、隔离车架与路面扰动,并保持车轮与路面的接触。悬架系统的两个关键组件是弹簧和减震器。传统减震器设计用于将振动能量转化为热能以衰减振动,然而,这些被消耗的能量实际上来自燃料或电能,导致大量浪费。

 

图片

随着绿色制造理念的兴起,尤其在汽车工业中,减少能量浪费和提高能源效率成为关键课题。悬架系统是车辆能量消耗的重要来源,回收悬架系统的振动能量并将其转化为电能用于供电是一个可行的解决方案。因此,能量回收悬架应运而生。这种系统不仅能转化并存储能量,还能提高车辆的燃油效率。




#03

车辆悬架的能量回收方案介绍


传统车辆悬架系统在行驶过程中消耗大量能量。研究表明,车辆行驶时仅10%-20%的燃料能量用于有效驱动。悬架系统振动能量的损失是能量消耗的重要来源之一。例如,研究指出四个减震器在13.4米/秒的速度下行驶在崎岖道路上时,总功率损耗约为200瓦。


研究表明,悬架系统中潜在的能量回收量是显著的。再生悬架系统能够收集并存储振动能量,用于悬架的主动控制或供电。例如,研究估计在高速公路行驶时,每个悬架的平均再生功率可以达到100瓦,占驱动功率的约5%。通过实施再生减震器,车辆的燃油效率可提高约10%。


根据工作原理,再生悬架系统可分为机械再生悬架和电磁再生悬架。


一、机械再生悬架


机械再生悬架是一种悬架系统,利用车辆行驶时产生的动能,通过机械装置将其转换为电能或其他形式的能量,并再利用这些能量。


这种类型的悬架系统通常由以下几个关键组件组成:


1. 机械装置:机械再生悬架系统中的核心是机械装置,它位于车辆的悬架系统中,负责收集车轮运动产生的动能并将其转换为其他形式的能量。这些机械装置通常设计成与车轮或悬架系统直接连接,以便有效地捕获车辆的运动能量。


2. 发电机或电机:机械装置通常与发电机或电机相连,用于将机械运动转换为电能。当车辆运动时,机械装置的运动会驱动发电机或电机产生电能。这些发电机或电机可以是传统的旋转式发电机,也可以是一些新型的线性发电机,根据设计需要选择合适的类型。


3. 能量存储系统:机械再生悬架通常还包括能量存储系统,用于存储由发电机或电机产生的电能。这些能量存储系统可以采用电池、超级电容器或其他形式的储能设备。存储的电能可以在需要时用于供电给车辆的电子设备、驱动电机或其他系统。


机械再生悬架系统的工作原理如下:


1. 能量收集:当车辆行驶时,悬架系统中的机械装置会受到车轮运动的影响而产生运动。这种运动可以是车轮上下运动、转动或其他形式的机械运动。机械装置将这些运动转换为机械能,例如转动能或线性运动能。


2. 能量转换:机械装置将机械能传递给发电机或电机。发电机或电机将机械能转换为电能,通常通过磁场与导体相对运动的方式产生电流。这样就产生了电能,可以用于供电或存储。


3. 能量存储和再利用:由发电机或电机产生的电能被存储在能量存储系统中。这些储能系统可以在需要时释放电能,供给车辆的其他系统使用。例如,在加速或行驶过程中需要额外电力时,储能系统可以释放能量,以支持电动驱动系统或其他电子设备的运行。


机械再生悬架系统利用了车辆运动过程中产生的动能,实现了对能量的再生利用,提高了车辆的能源利用效率。它适用于各种类型的车辆,包括传统内燃机车辆和电动车辆。


机械再生悬架(Mechanical Regenerative Suspension)的具体应用案例主要集中在汽车行业,尤其是高性能车辆和节能车辆上。


以下是一些已知的应用案例:


1. GenShock 系统:


  • 应用领域:汽车悬架系统


  • 合作伙伴:ZF Friedrichshafen AG 和 Levant Power Corporation


  • 功能:该系统利用车辆行驶时悬架的上下运动来产生电能,通过一个电动泵和液压系统将这种机械能转化为电能,并将其存储在车辆的电池中。


  • 优势:不仅提高了车辆的行驶平稳性和舒适性,还能回收能量,提高能源效率。


GenShock是一种由Levant Power公司开发的创新主动悬挂系统,它能够从道路颠簸中回收能量,并通过紧凑的电动机、电子控制单元和电液齿轮泵将这些能量转换为电力,辅助汽车的电力系统。这项技术不仅提升了乘坐舒适度,还允许车辆在通过坑洼路面时自我供电,甚至实现无需千斤顶的轮胎更换。

 

图片

图片

GenShock系统的工作原理是,当车辆驶过不平路面,减震器的移动会驱动电动机产生电力,这些电力可以直接用于汽车的电气系统,从而提高能源利用效率。与传统减震器不同,GenShock通过电液执行器控制减震器内部的压力,根据路面类型调整减震效果,并通过连续阻尼控制(CDC)系统提供与豪华车相媲美的舒适性和跑车的动态操控特性。

 

图片

图片

此外,GenShock技术在军事市场上首次亮相,一些卡车公司已经开始测试该系统,并根据初步结果预期能够实现高达90%的投资回报率。这项技术的应用前景广阔,不仅适用于民用车辆,还可用于卡车、军事和越野应用,有望在多种路况下提供卓越的性能。


总之,GenShock技术通过回收原本浪费的能量,不仅提升了乘坐体验,还显著提高了能源效率,具有巨大的市场潜力和应用价值。


2. Audi 的eROT系统:


  • 应用领域:乘用车悬架系统


  • 功能:利用电动旋转阻尼器代替传统的液压阻尼器,通过车辆的颠簸运动发电。


  • 优势:提高了车辆的舒适性和动态响应,同时还能回收部分能量用于车辆的电气系统。


奥迪e-ROT(electromechanical rotary dampers)技术是一种创新的悬挂系统,它通过水平安装的电动机吸收因路面颠簸产生的动能并转换为电能。与传统液压减震器不同,e-ROT系统利用与车轮相连的杠杆来吸收动能,并通过齿轮系统将此动能传递给电动机,进而产生电力。这些电动机不仅与汽车的48伏电气网络相连,还通过DC转换器与12伏主电气系统相连,实现了电能的有效管理和利用。

 

图片

图片

e-ROT系统在不同路况下的能量回收能力显著,从平坦路面的3瓦到崎岖路面的613瓦不等。这种能量回收不仅提高了燃油效率,还有助于减少二氧化碳排放,平均每公里减少约3克,相当于每100公里减少燃油消耗约0.7升。此外,e-ROT技术通过电子控制,实现了悬挂系统的压缩和反弹行程的独立调节,提供了更加舒适的乘坐体验,同时省去了传统垂直减震器,为车辆设计提供了更多灵活性。

 

图片

e-ROT技术的应用前景广阔,不仅适用于传统汽车,还特别适合混合动力和电动车辆,展现了汽车悬挂系统在节能和环保方面的潜力,为未来汽车悬挂技术的发展开辟了新的道路。这项技术是汽车悬挂系统领域的一次重大创新,它不仅提升了乘坐体验,还通过能量回收为汽车的环保和节能做出了贡献。


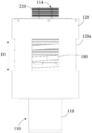
二、电磁再生悬架


电磁再生悬架是一种先进的汽车悬架系统,利用电磁感应原理来提供更加智能和自适应的悬架控制。这种悬架系统可以根据车辆的速度、路面状况和驾驶方式等因素实时调整悬架刚度,以提供更好的悬架性能和乘坐舒适性。


下面是电磁再生悬架的一些关键组成部分和工作原理:


1. 电磁感应器:安装在车辆的悬架系统上,用于感知车辆的运动状态和路面状况。这些感应器可以检测车辆的加速度、转向角度以及路面的凹凸不平程度等信息。


2. 电磁执行器:这些装置通过控制电流来调整悬架系统中的电磁场,从而改变悬架的刚度和高度。通过改变电磁场的强度和方向,电磁执行器可以使悬架系统对不同的路面条件做出实时响应。


3. 控制单元:这是悬架系统的核心,负责接收来自电磁感应器的信息,并根据预设的算法和驾驶模式来调节电磁执行器的工作。控制单元通常集成了各种传感器和算法,以实现对悬架系统的精确控制。


4. 能量回收系统:电磁再生悬架还可以利用车辆的运动能量来回收电能,以供悬架系统和其他车辆系统使用。这种能量回收系统可以通过在车辆制动时将动能转换为电能来实现。

 

图片

电磁再生悬架的工作原理如下:


  • 当车辆行驶在不同的路面上时,电磁感应器会感知到路面的状况和车辆的运动状态。


  • 控制单元会根据这些信息来调节电磁执行器的工作,以使悬架系统适应当前的路面条件和驾驶方式。


  • 在遇到颠簸路面时,电磁执行器会增加悬架的刚度,以减少车辆的颠簸感和悬架的下沉。


  • 在行驶在平整路面时,电磁执行器可以减小悬架的刚度,提高车辆的舒适性和操控性。


  • 同时,能量回收系统可以在车辆制动时将动能转化为电能,并存储起来以供日后使用。


总的来说,电磁再生悬架通过利用电磁感应和能量回收技术,实现了对车辆悬架系统的智能控制和能量利用,提高了车辆的悬架性能、乘坐舒适性和能源利用效率。

 

图片

在实际应用中,Bose公司、ZF和大众集团以及舍弗勒集团等都开发了各自的电磁再生悬架系统。例如,Bose公司通过对称排列的双电机与滚珠丝杠结合,平衡了输出力,减少了电磁力波动的影响,图a,b。而舍弗勒集团则采用无刷直流电机和滚珠丝杠,通过离心制动器有效控制电机速度,防止过载,图c。

 

图片

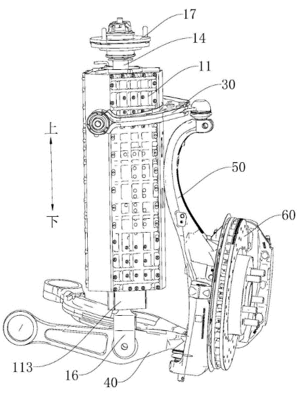
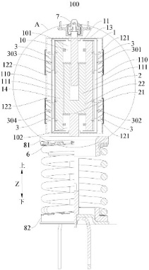
特别地,比亚迪的云辇-Z系统是一个典型的例子,云辇-Z系统的结构和技术确实是令人印象深刻的。它的核心是两个六棱形大筒子,内部藏有直线电机等组件。这些组件通过特殊的设计和布局,能够提供灵活的磁力调节,甚至可以控制车辆的高度和起跳。这种设计虽然复杂,但通过多项专利的申请和公开说明,比亚迪展示了其对系统的深入研究和工程实践。

  

图片

图片

至于耐用性,云辇-Z系统采取了多项措施来确保其稳定性和可靠性。例如,预留了冷却系统的安装位,采用强制液冷系统以带走系统产生的热量,设计了散热风道和强制冷却系统等。此外,比亚迪还为系统设计了降温模式,并在直线电机组件中使用了永磁体,即使断电也能保持一定的互斥力。此外,云辇-Z系统仍然保留了物理结构的弹簧和液压减震机,作为双备份,以确保在断电情况下仍能提供基本的支撑和稳定性。

 

图片

综合来看,云辇-Z系统不仅在技术上相当先进,而且在设计上考虑了多种情况,以确保其性能和可靠性。虽然并不完美,但这种系统的出现为汽车行业带来了新的可能性和发展方向。


云辇-Z 是比亚迪仰望U7汽车上搭载的一套先进减震系统,它利用了多项技术来实现高度的可调节性和减震效果。


根据提供的专利信息,我们可以对云辇-Z的结构和功能进行一些分析:


1. 结构设计:云辇-Z的外观为两个六棱型大筒子,这些筒子内部包含了减震系统的核心组件。

 

图片

图片

2. 内部组件:根据专利CN117879255A和CN117662655A,云辇-Z的内部由两个独立的组件构成,包括直线电机结构和上下限位件。

 

图片

3. 直线电机:专利CN117674493A显示,云辇-Z使用的是永磁直线电机,配合电磁组件,能够实现磁通量的快速调节,从而调整车高和控制车辆的起跳。

 

图片

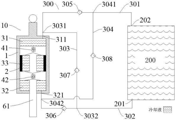
4. 耐用性和散热:云辇-Z设计了多套散热系统以保证其稳定性和耐用性。专利CN117803675A和CN117879262A提到了预留的冷却系统安装位,CN117656742A则展示了强制液冷系统,通过液压油带走热量。此外,CN117869525A的专利还提到了散热风道和强制冷却系统,以及CN117791910A提到的热管技术,这些都是为了确保系统在高负荷下也能稳定工作。

 

图片

图片

5. 断电后的可靠性:专利CN117869503A提到了云辇-Z的降温模式,而CN117674493A中提到的永磁体即使在断电情况下也能保持一定的互斥力。此外,云辇-Z系统可能还包含物理弹簧和液压减震机作为双备份,确保即使在断电情况下,车辆也不会完全失去减震功能。

 

图片

6. 玩法:云辇-Z的可调节性为车辆提供了多种玩法,例如根据路况调整车高,或者在需要时控制车辆起跳,增加了驾驶的乐趣和车辆的适应性。

 

图片

综上所述,云辇-Z不仅在技术上先进,而且在设计上也考虑了耐用性和散热问题,确保了系统的可靠性。断电后虽然可能无法提供最佳性能,但车辆仍具备基本的减震功能。这些特性使得云辇-Z成为一个创新且实用的汽车减震系统。




#04

再生悬架系统的市场需求


再生悬挂系统作为一种新兴的工程创新,通过回收车辆行驶时由于路面不规则性而产生的振动能量,将其转换为电能,为混合动力和电动车的电池组提供额外的电力。


再生悬挂系统市场预计在2032年之前将显著增长,得益于电动汽车销量的大幅增加,特别是在欧洲和美国市场。随着电动车的普及,研究和开发方向也在向提高能量产出转变。由于再生悬挂系统组件成本较高,预计最初将在高端电动车中部署,随后逐渐扩展到其他车辆类型。

 

图片

欧洲市场因汽车产业的强劲和可持续政策而具有巨大潜力,预计到2032年市场估值将达到9.51亿美元;而美国市场预计将占据北美市场91%以上的份额,且电动汽车销量在2021年翻倍,超过50万辆。技术方面,电磁子领域预计到2032年将占据92.1%的市场份额,显示出其在再生悬挂系统中的重要性。主动再生悬挂系统因其提高车辆动态性能的潜力而受到关注,可能成为未来发展的趋势。

 

图片

电动车制造商正寻求提高车辆行驶范围的成本效益方法,再生悬挂系统通过收集车辆的动能,有助于实现这一目标。开发人员致力于制造能够使电动车行驶范围翻倍的再生悬挂系统,公司正在去除悬挂系统中的传统组件以减少损失并提高效率。在成功试验和实施后,原始设备制造商和行业领导者可能会寻求战略合作伙伴关系和合作,以获得技术专长并加速产品开发。

 

图片

目前,再生悬挂系统技术仍处于研发和原型阶段,面临高成本和商业化挑战。然而,随着设计和耐用性的持续创新,预计未来十年乘用车部分将显著扩张,尤其是在高端电动汽车中。此外,随着制造商实施先进技术,能源消耗也在增加,而通过再生悬挂收集的能源可以用来补充车辆的能源需求,这为技术发展提供了新的方向。

 

图片

行业竞争格局中,奥迪、Guident、Intertronic Gresser GmbH、Levant、SoftWheel和ZF Friedrichshafen AG等是再生悬挂系统的主要开发商。这些公司正在积极研发新技术,并通过收购和合作来扩展产品线和获取技术专长。例如,Guident获得了用于制造高能量密度电磁再生减震器的专利;SoftWheel宣布了一种新技术,可以为电动汽车收集能量和吸收冲击;奥迪开发了利用减震器运动发电的原型悬挂系统eROT;Intertronic Gresser GmbH获得了为混合动力和电动汽车设计的“发电悬挂系统”的专利。




#05

总   结


能量回收悬架在提高车辆燃油效率方面具有巨大潜力,但实际应用中仍面临诸多挑战。再生悬架的设计需要平衡能量收集效率与振动隔离性能。未来的研究应着重开发更高效的能量收集装置和优化控制策略,以实现再生悬架的实际应用。


通过对现有技术的评估与总结,可以看出再生悬架系统在提升车辆整体性能方面具有重要意义。结合绿色制造理念,再生悬架的发展前景值得期待。




参   考:

3.Audi working on a new, innovative suspension tech | Autodeal

4.Audi eROT - Auto Tecnica

5.Dojazd aj komfort zvýšia elektromechanické tlmiče od Audi - TopSpeed.sk

7.如何看待比亚迪新发布的云撵-X全自动控制系统?- 知乎 (zhihu.com)

10.Regenerative Suspension System Market Analysis 2032 (factmr.com)



/ END /