苹果多项专利公示!涵盖智能穿戴设备、配件等多个领域

近期,苹果多项专利公布,涵盖智能穿戴设备、配件等领域。

爆料显示,苹果计划在Vision Pro 头显的手势和眼球追踪的基础上,继续探索更多的头部控制方案。

图片

根据专利描述,Vision Pro 头显佩戴者可以通过倾斜或转动头部,来移动屏幕上的滑块,未来或将用于调整音量和亮度等。

此项专利一旦正式应用,预计会为一些双手不便的 Vision Pro 头显用户带来全新的操作体验:佩戴者只需要移动头部和观察事物,就能控制苹果 Vision Pro 头显进行相关操作。

图片

对于另一款智能穿戴设备——Apple Watch 智能手表,爆料显示苹果计划为其新增自然手势智能购物和信息收集等功能。

图片

根据专利描述,用户在购物时只需要抬手指向某件商品,就能获得关于该商品的售价、产地、保质期等相关信息;观看画作时,随着用户指向,系统会自动描述该画的更多细节;用户指向某个地标时,Apple Watch 会记录用户指向位置,并提供相关信息。

也就意味着,基于该项专利,未来使用Apple Watch或将更加高效便捷。

图片

虽然苹果的轻量级 AR 眼镜目前还处于早期研发阶段,不过相关爆料显示其已经为这款智能穿戴设备获得了相关专利。

图片

专利显示,苹果计划在 AR 眼镜中嵌入全新的位置传感器,通过该传感器来测量显示器和波导管的相对位置,从而降低或者消除图像扭曲、变形等情况。

此外,苹果还计划为其新增一些用于传输的设备组件,或将主要用于收集用户周围环境信息。

虽然苹果智能穿戴设备还处于研发初期阶段,但是相关专利已经提前出现了。由此看来,苹果对这款轻量级 AR 眼镜的市场前景或保持着乐观状态。

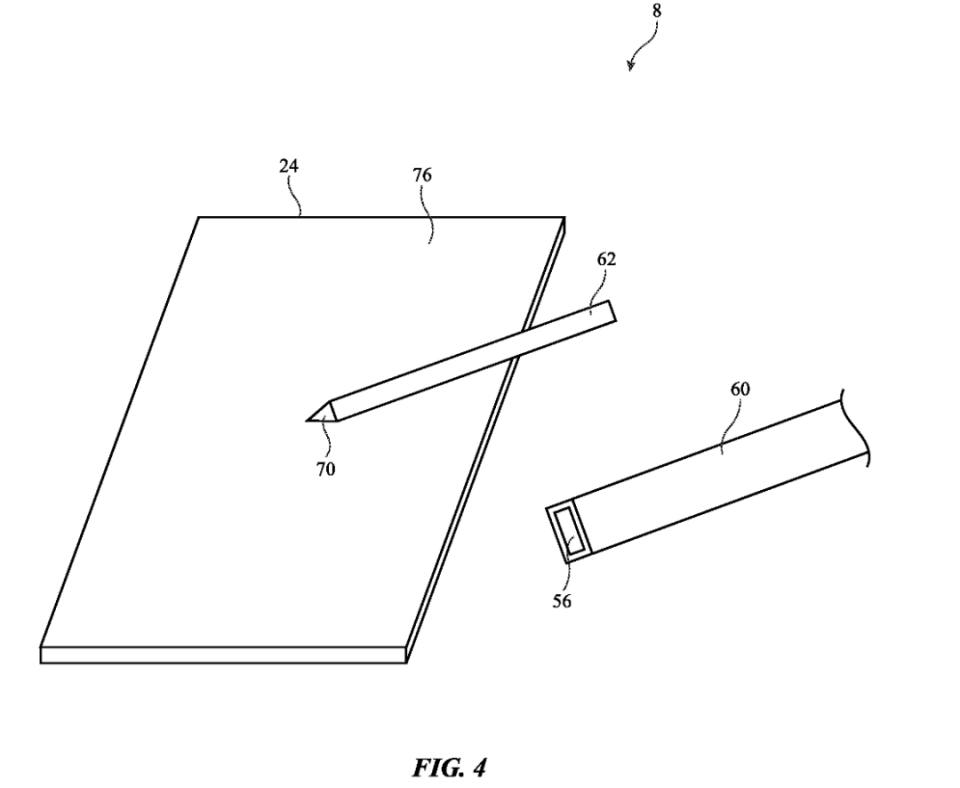
对于Apple Pencil,爆料显示苹果或将不再满足于现有的应用场景,计划扩展至更多领域。

图片

相关专利显示,苹果计划为Apple Pencil 机身增加触控传感器,并提供一个集成多个传感器的专用笔套。

据苹果公司构想,用户可以通过切换笔套来体验触控、续航等额外功能。用户或将可以通过更换 Pencil 模块,来适配多种使用场景。

图片

在相关专利中,苹果计划通过Apple Pencil 的可拆卸笔套与 Vision Pro 头显或其他设备进行交互。

根据苹果的构想,未来基于笔套内部触觉、压力、运动等传感器,用户或将可以通过Apple Pencil 进入Vision Pro 的3D空间,进行书写、绘画等操作。

图片

此外,该专利还计划未来将笔套扩展到非 Apple Pencil 的产品中,或将可以通过一些日常用品,就能支持用户控制 Vision Pro 或其他设备。

总的来说,苹果可能希望通过增加Apple Pencil的未来适用场景,来实现多个苹果设备间的相互联动,带来不同的操控体验。

图片

虽然苹果的多项专利已经流出,不过未来的实际应用还是个未知数,一切要等相关设备正式发布才能确定,大家可以保持关注。