营收下滑,不良率连续两年超50%,战伟宏治下华澳信托挑战重重

图片
文|恒心
来源|博望财经
随着年报的发布,这家民营系信托背后的“巨雷”再也遮不住了。
据华澳信托近期发布的年报显示,2023年实现营业收入6035万元,同比下滑53.95%;实现利润总额-4.03亿元,实现净利润-4.31亿元。值得一提的是,这已是华澳信托继2022年亏损9.67亿元后的连续第二年大额亏损。
营收的下滑与华澳信托业务“停滞”密切相关。据财报显示,2023年华澳信托有13个信托项目清算结束,但未有新增信托项目。
但最令市场震惊的,还要属华澳信托惊人的坏账。2022年,华澳信托自营不良资产高达52.27亿元,2023年末进一步增至52.3亿元,同时华澳信托自营资产不良率也高达55.34%,已连续两年超过50%。这个数据,在整个金融行业也算是高的了。
而之所以华澳信托的不良率突然暴增,源于其信托资产主要集中于房地产行业。在近年来房地产行业整体经营艰难、融资环境恶化的大背景下,华澳信托自然也好不到哪去。
虽然华澳信托深知自身所处的风险,曾在2022年年报中明确表示,“面对房地产暴雷引发的行业困境,公司积极应对,根据不同风险主体的具体特征分别采取有针对性的风险化解方式,包括现金清收、诉讼保全、抵押物处置、补充增信、资产转让、非标转标等”,但经过一年时间的检验,效果并不明显。
此外,华澳信托极高的不良率背后也涉及诸多诉讼案件。据天眼查显示,截至5月16日,华澳信托相关司法案件有714条信息,其中被列为被告的司法案件信息有375条。此前更有投资者起诉华澳信托产品暴雷。
图片
压力重重下,华澳信托新任董事长战伟宏接过担子。2023年11月,华澳信托第四届董事会2023年第五次临时会议同意选举战伟宏为新任董事长。
01
自营贷款本息已全部逾期,不良率连续两年高达50%以上
公开资料显示,华澳信托是由北京融达投资和重庆财信集团共同出资组建的一家非银行金融机构,成立于1992年,前身为昆明国际信托投资公司,2009年更为现名,目前业务涵盖基础设施、房地产、供应链金融、消费金融、环保、能源、文化产业等多个领域,横跨货币市场、资本市场、实业市场三大市场,遍布上海、北京、重庆、深圳等160余个省市。
都说“不要把所有鸡蛋放在一个篮子里”,但华澳信托却逆其道而行。
深挖华澳信托业务结构可知,是以房地产为特色的传统业务为主,2023年末信托资产管理规模同比减少23.26%至230.78亿元,其中以发放贷款和垫款、债券投资为主,占比分别达53.75%、43.89%。
图片
再从行业集中度来看,华澳信托主要投向房地产和工商企业等实体经济领域。其中,投向房地产类的信托管理规模为98.80亿元,占其信托业务分布首位,占总规模的42.81%;投向工商企业类的信托管理规模为63.54亿元,占比27.53%。
图片
自营方面,2023年末华澳信托自营资产规模为40.35亿元,资产运用以其他应收款和债权投资为主,分别占62.59%、17.57%。但值得注意的是,华澳信托的自营贷款只有两个贷款对象,分别为浙江禹汇商贸有限公司、宁波豪程石化有限公司,贷款本息已经全部逾期。
正因如此,2023年华澳信托自营不良资产高达52.27亿元,自营不良率高达55.34%,由此带来坏账准备大增,2023年末其他资产减值准备同比增长21.15%至19.45亿元。
图片
惊人的坏账也给华澳信托带来业绩上的倒退。
2023年,华澳信托实现营业收入同比下滑53.95%至6035万元,其中利息净收入为-4085.12万元,手续费及佣金净收入1.01亿元;实现净利润-4.31亿元,已连续两年大额亏损。
展望2024年,华澳信托短期内仍无法解决业绩承压问题,毕竟信托业务已接近停滞状态。财报显示,2023年华澳信托有13个信托项目清算结束,未有新增信托项目。
02
大额诉讼被曝出,实控人日子过得也不好
除了业绩上的苦恼,华澳信托还涉及多起诉讼,涉及世茂、宝能、佳兆业等诸多暴雷地产公司。
华澳信托在年报中披露,在重大未决诉讼事项中,华澳信托作为被告,先后因债权转让合同纠纷被兴业资管、自然人许奕以及上海迈动建筑设计起诉,诉讼标的合计逾3亿元。
此外,华澳信托还披露了年度内终结的诉讼事项,作为被告,同样因债权转让合同纠纷被自然人陆莺、宋晶先后起诉,主要判项为:华澳信托向原告支付债权转让款;原告可以案涉质押物折价、拍卖、变卖所得价款优先受偿。
值得注意的是,华澳信托的实控人重庆财信集团对上述两起案件承担连带清偿责任。本来还想着重庆财信集团能伸出援助之手来帮帮华澳信托,但没想到前者的日子过得也不是很好。
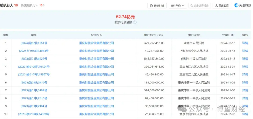
据天眼查显示,截止5月16日,重庆财信集团所持华澳信托股权已被司法冻结,重庆财信集团的被执行人信息合计19条,被执行总金额高达62.74亿元。另外,因重庆财信集团“未按执行通知书指定的期间履行生效法律文书确定的给付义务”,该集团及法定代表人卢生举被依法限制高消费行为。
图片
事实上,重庆财信集团早已流动性紧张。此前恒丰银行重庆支行向重庆第一中级法院提起强制执行申请,冻结了重庆财信集团所持有的财信发展3.99亿股股份,对此恒丰银行重庆分行认为,“重庆财信集团出现流动性困难,发生其他业务违约及诉讼情况,故宣布财信集团及旗下公司与恒丰银行重庆分行存在的6笔余额44.4亿元融资贷款提前到期”。
尽管现状诸多不利,但战伟宏毅然决然得选择挑起大梁。2023年11月,华澳信托第四届董事会2023年第五次临时会议同意选举战伟宏为公司董事长。据悉,战伟宏曾任原银监会非银行部工作,此后去了中融信托、浙金信托任职。2019年末去了大业信托担任总经理,后又到华澳信托。
主打“小而美、精而专”的华澳信托如今挑战重重,新任董事长战伟宏如何“自救”尚需市场给出答案,我们拭目以待。