最便宜个股*ST保力锁定退市:最后一个交易日大涨22%、上市14年亏超75亿元

界面新闻记者 | 郭净净
5月16日,或许是*ST保力(300116.SZ)A股最后一个交易日。
当日,该股却罕见大涨22.22%,到当日收盘涨停板仍未打开,最终股价报收0.11元/股,市值最终锁定在4.9亿元。此前一日(5月15日),*ST保力报收0.09元/股,成为A股历史上首次收盘价低于0.1元的个股。
图片
5月16日晚上,*ST保力公告称,从2024年4月16日至5月16日,该股票收盘价连续二十个交易日低于1元,已触及《深圳证券交易所创业板股票上市规则(2024年修订)》第10.2.1条规定的交易类强制退市情形,公司股票将被深圳证券交易所终止上市交易。
该股票将自2024年5月17日(周五)开市起停牌。深交所将自公司股票停牌之日起五个交易日内,向*ST保力发出拟终止其股票上市的事先告知书。
注定退市,散户却疯狂抢入
吊诡的是,注定要退市的*ST保力却在最近三个交易日成交量激增。界面新闻了解到,5月14日、5月15日、5月16日,*ST保力成交额突然翻数倍至6.97亿股、4.1亿股、4.41亿股,成交额0.8亿元、0.4亿元、0.47亿元,日换手率分别是16.99%、10.01%、10.75%。
图片
*ST保力近期连续登上龙虎榜。深交所官网显示,5月9日至5月14日,该股票收盘价格跌幅偏离值累计达到-58.26%,这期间,该股票累计成交量7.97亿股、成交额9726.05万元,而单5月14日这一天其成交量便达6.97亿股、成交额0.8亿元。
而*ST保力龙虎榜显示,5月9日至5月14日期间,自然人投资者累计买入金额9721.94万元,市场占比99.96%;累计卖出金额7784.22万元,市场占比80.03%。相对来说,机构投资者、深股通则主要是卖出,机构投资者累计买入额4.11万元并累计卖出1808.51万元,深股通则净卖出133.33万元。
图片
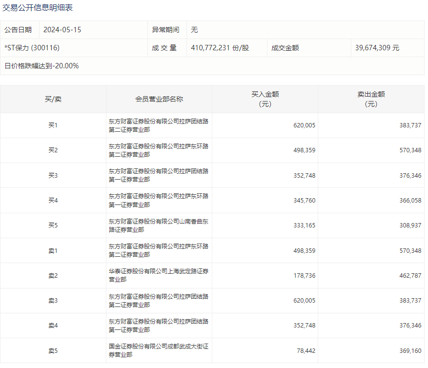
*ST保力5月14日龙虎榜显示,以散户大本营著称的东方财富证券“拉萨帮”交易活跃,占据前五大买入营业部榜单。其中,买一、卖四东方财富证券拉萨东环路第二证券营业部买入119.41万元并卖出68.53万元。
图片
5月15日,东方财富证券“拉萨帮”继续占据*ST保力前五大买入营业部榜单。其中,买一、卖三均为东方财富证券拉萨团结路第二证券营业部,该营业部买入62.00万元,卖出38.37万元,净买入额为23.63万元。买二、卖一均为东方财富证券拉萨东环路第二证券营业部,该营业部买入49.84万元,卖出57.03万元,净卖出额7.20万元。买三、卖四均为东方财富证券拉萨团结路第一证券营业部,该营业部买入35.27万元,卖出37.63万元,净卖出额2.36万元。
图片
显然,散户是买入*ST保力的主力军。界面新闻注意到,有投资者在股吧发帖表示,“买入1万,博重新上市,一旦上市至少10元,100倍收益。以小博大。”另有市场投资人士对界面新闻表示,“买这股的部分散户可能存在博傻心态”。
部分投资者或许在期待这些个股退市后进入老三板的交易性机会。不过,界面新闻统计相关新三板退市股情况发现,截至2024年5月16日的198只退市股中,2024年以来近14只股价上涨,148只股价均下滑,占比74.75%。同时,自退到新三板挂牌以来,前述198只退市股中有约60只股价上涨,另外138只退市股到新三板挂牌交易以来股价走低,占比近七成。
图片
可以看到,即便是从A股退市、转账新三板,退市股的股价表现也不甚理想。
界面新闻了解到,截至2024年3月31日,*ST保力股东户数仍有11.89万户。
融资76亿元,*ST保力上市14年以来累亏超75亿元
*ST保力前身为坚瑞消防,公司于2010年9月2日在深交所创业板上市。
总体来看,*ST保力通过A股市场获得直接融资额约76亿元,其中首发IPO募资约4亿元,定增融资约72亿元。然而,上市近14年以来,*ST保力仅三次分红,累计现金分红数是1976.55万元,上市以来分红率是-0.26%。
图片
2016年,坚瑞消防以52亿元收购动力锂电池企业沃特玛100%的股权并配套募资不超25亿元,评估增值率469.62%。彼时介绍,沃特玛成立于2002年,是国内最早成功研发磷酸铁锂新能源汽车动力电池、汽车启动电源、储能系统解决方案并率先实现规模化生产和批量应用的之一。收购后,上市公司进入动力锂电池以及新能源汽车租赁、销售、运营、维护等新领域,并于2016年10月31日更名为坚瑞沃能。
收购沃特玛后,*ST保力业绩大幅拉升。2016年,该公司实现营业收入38.2亿元,较上年同期增长557.03%,实现归母净利润4.25亿元,较上年同期增长1102.98%。
随着业绩激增,*ST保力在资本市场的表现迎来“高光时刻”,一举成为当时的新能源牛股。从每股股价来看,按照前复权计算,公司股价曾一度达到13.52元/股。
然而,重组后第二年(2017年),这家上市公司便走入低谷。2017年,该公司当年实现营业收入96.6亿元,较上年同期增长152.88%;巨亏36.84亿元。受国家新能源产业政策补贴调整、子公司沃特玛业务扩张增速过快、应收账款回款较慢,资金链紧张等综合因素的影响,子公司沃特玛2017年实现的净利润未达到盈利预测值,后续未来盈利预估与预期也会存在较大差异,公司对收购沃特玛时所形成的商誉计提全额减值。总计下来,该公司计提2017年度各项资产减值准备共计51.91亿元。
2018年,*ST保力开始陷入债务漩涡。2018年4月,该上市公司称,公司目前已经出现债务逾期的情况,当时公司整体债务221.38亿元,其中公司逾期债务19.98亿元,主要为应付票据和银行借款,面临债权人的权利主张,公司面临偿债风险,对日常经营造成影响。
随后4月9日,*ST保力公告称,截至2018年3月,公司及子公司沃特玛应付票据账面余额为100.09亿元,其中,应付票据逾期15.58亿元;沃特玛已到期应付账款金额为21.79亿元。经公司与供应商多方沟通和协调,决定通过存货销售和固定资产销售将上述公司对供应商的应付债务进行抵扣,所涉及的金额共计18.48亿元。
2019年12月,*ST保力进入破产重整,并于2020年4月完成破产重整。沃特玛被剥离上市公司体系,公司也更名为保力新。
不过,该上市公司仍无法走出亏损泥潭。2018年,*ST保力继续亏损39.25亿元。2019年,该公司扭亏为盈,当年盈利2.95亿元。但2020年至2023年,该公司再次开始亏损,分别亏损1.71亿元、1.33亿元、1.87亿元、1.88亿元。2024年一季度,该公司继续亏损2450.63万元。统计下来,该公司上市以来累计实现净利润是-75.21亿元。
图片
随着业绩走弱,*ST保力股价也大幅下降,至今已较高位跌超99%。。
2023年,*ST保力实现营业收入1.36亿元,其中扣除后营业收入仅0.92亿元;归母净利润亏损1.88亿元,且连续多年大额亏损。2023年年报披露后,4月29日,深交所曾向*ST保力下发了年报问询函,要求其说明是否存在虚构交易事项、虚构收入等情形。
年报显示,根据公司、公司破产管理人与常德新中喆投资管理中心(下称“常德新中喆”)于2019年12月25日就重整投资事项签署的《重整投资补充协议二》约定以及公司经审计的2020年、2021年、2022年三年财务报告,常德新中喆应支付公司业绩补偿8.28亿元,但截至年报出具日,常德新中喆累计仅支付给公司8200万元,与承诺履行金额差异较大,目前公司董事会已审议通过启动司法程序来最终确定业绩补偿的金额,并向业绩承诺人追偿。
5月16日,*ST保力回复年报问询函称,常德新中喆及高保清所持有的主要资产账面价值已无法覆盖其剩余应履行的业绩补偿金额,其已不具备实际履约能力。公司已向西安市中级人民法院递交了民事起诉状,请求法院判令常德新中喆及高保清支付业绩补偿款7.35亿元及利息损失,但鉴于法院尚未正式受理,存在不予受理的风险,同时也存在后续判决结果不确定性,法院判决生效后业绩承诺人仍无法履约的风险。