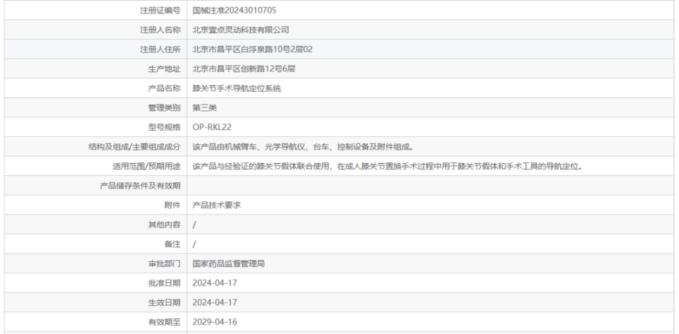
2024年4月17日,爱康医疗(01789)发布公告称,公司的膝关节手术机器人系统(膝关节手术导航定位系统)获国家药品监督管理局(NMPA)上市批准(医疗器械注册证编号:国械注准20243010705)。
公告显示,爱康医疗此次获批的膝关节导航定位系统由机械臂车、光学导航仪、台车、控制设备及附件组成。该系统在术前三维手术规划至术中全流程辅助方面均有涵盖。在手术过程中,机械臂将实时引导膝关节截骨、软组织平衡和假体植入,能够有效提高手术的精准性,避免手术误差,为医生带来更好的操作体验,同时为患者带来更好的愈后效果。被誉为是推动智能化骨科领域发展的新利器。据了解,其带有机械臂的机器人系统,核心特点是体积小、效率高、安全精准,且患者都能在术前得到属于自己的定制化手术方案,例如术中机械臂辅助精准截骨,可减少不必要的骨量丢失,有助于加快术后康复速度,减少并发症的风险,惠及广大患者。
可以说爱康膝关节手术机器人真正做到了从临床角度出发,满足医生的实际需求,简化了术中操作,降低了手术时间,在膝关节手术中发挥着重要作用。
爱康医疗是一家拥有20余年发展历程,集技术研究、产品开发、规模化制造、专业化营销为一体的香港主板上市跨国集团型高新技术企业。
公司拥有骨科金属增材制造、VPS等离子真空喷涂与HA喷涂、骨科智能装备、骨科全流程个性化诊疗四大平台型技术;同时拥有亚太地区规模最大的骨科植入物增材制造基地,也是全球前两大骨科植入物增材制造基地之一。
在过去的几年中,爱康医疗基于3D ACT技术先后完成了人工寰枢椎(人工椎体)、全颈椎、多节段胸腰椎、人工肘关节、人工腕关节、全膝关节、人工全骶骨等多项个性化设计假体置换,为外科医师提供了基于精准医疗理念的解剖重建解决方案。
作为国内骨科行业的技术引领者,爱康医疗已形成从骨科3D打印产品到手术导航及机器人系统的数字化骨科一体化解决平台。目前,在髋关节领域,VTS可视化智能辅助系统以及iBot髋关节手术机器人系统在上市后的临床应用中赢得了广泛医生认可,特别在应对复杂髋关节手术及翻修手术方面表现出色。VTS可视化智能辅助系统
其中,VTS可视化智能辅助系统于2023年1月获批,据爱康医疗介绍,VTS可视化智能辅助系统是首款国产关节置换可视化智能辅助系统,填补了业界相关技术和产品空白。

VTS是凭借医工交互进行术前规划与可视化实时监控的解决方案,旨在提升全髋关节置换术的手术性能和临床疗效。该系统将3D打印数字化制造技术与可视化智能辅助技术相结合,适应髋关节置换术中复杂的工作环境,从术前CT数据处理、3D手术规划,到术中的实时可视化追踪及髋臼假体植入等全流程进行辅助。
iBot机器人
iBot机器人在可视化智能辅助系统(VTS)的基础上引入机械臂,增加工具把持的稳定性,减少人为误差,进一步提高手术精准度和便捷度,使得每个患者都将得到属于自己的定制化手术方案,术中更加精准的植入,从而使更多患者获益。
据悉,iBot系统在术中使用灵活方便、实时指导术者磨削,为临床解决了术前盲目性和术中经验性等主要手术困难,提高手术质量和假体远期生存率。该系统搭载的自主研发机械臂智能算法,简化机械臂辅助手术流程,解决了机器人辅助手术耗时长的痛点,为医生提供更佳的手术体验。而此次获批的膝关节导航定位系统是继VTS可视化智能辅助系统和iBot髋关节导航定位系统之后,该公司数字骨科产品线中的又一颗新星。同时也标志着公司的机器人布局更加完善,形成了从骨科3D打印产品到手术导航及机器人系统的数字化骨科一体化解决方案平台,后续市场协同效益值得期待。