艺培机构生存难,下一个跑路的会是谁?

近期,成都一家名为“火烈鸟艺术学校”的培训机构被爆疑似圈钱跑路。 
据家长汪女士称“这一次他们(机构)从10月份就开始做活动了,利用双11的活动,让家长大量续费。”
据不完全统计,双十一活动期间,家长缴费金额超30万元。
但是11月14日,该机构在大量售课后,突然发出了停课通知,宣布闭店。
图片
家长们对于通知中提到的“因老板债务问题需要闭店数日,从11月15日暂时停止校区运营至11月20日”表示难以接受:钱交了、课买了、店又关了……怎么上课?怎么退钱?
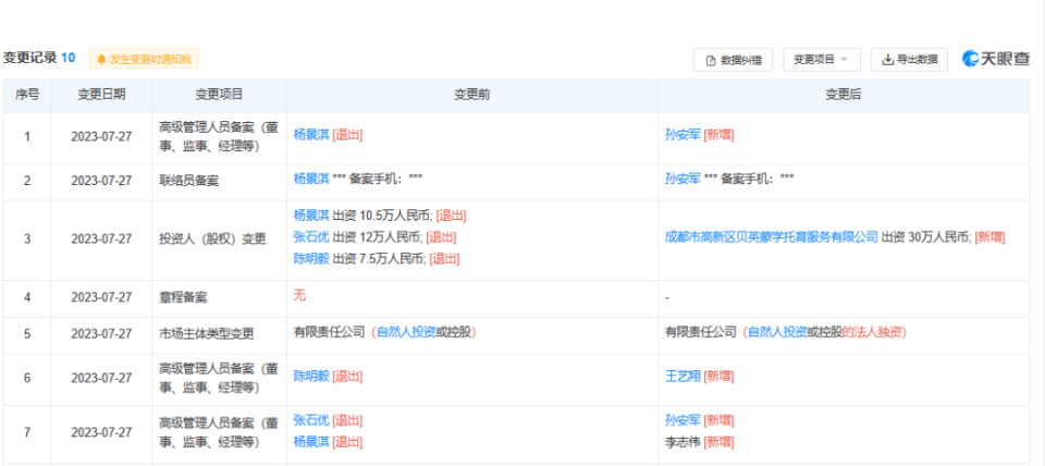
据悉,该机构经营主体的法人在几个月前发生了变更。
图片
闭店风波发生后,机构的工作人员给出了退款转课方案:双十一活动缴费在一周后退款;课时较少无法退款的,每节课再支付20元转课到其他机构。
但是家长表示并不能接受“一周之后退款,这不是和稀泥吗?”
家长的诉求其实很简单,退钱或者正常转课,但是该机构一直不想退费。目前双方未达成协议。
不免有家长质疑:已经经营不善、资金不足了,为什么还要大量售课,这不是诈骗吗?
先收割,换上没有偿还能力的法人,再关门。
一招金蝉脱壳,让家长们有苦无处说。
又是熟悉的套路。
双减后,学科类教培机构几近“团灭”,加之体育美育被纳入中高考新政,艺培行业热度一路飙升。据报道,2021年国内艺术类、体育类培训机构新增 3.3万余家,同比暴增99%。
老艺培人有句口头禅:“赔6放6”。意思是艺培行业只要连续赔6个月,再坚持6个月,一定就要放弃了。
艺培行业的现实如此残酷,背后有什么原因呢?
一、开店速度过猛,导致市场严重饱和
同一赛道玩家变多了,竞争自然会激烈。过快扩张、财务结构不够健康直接导致机构只具备低抗风险能力。
开店的速度曾经有多疯狂,关店的速度就有多迅猛。
艺培处处都是门槛,赚钱哪有那么容易。
二、对该行业产生认知偏差
只看到身边的艺培生意红火,就认为是门好生意,盲目加入,忽视了面临着倒闭和艰难维持的机构并不在少数,具有一定片面性。
三、“伤敌一千,自损八百”的价格战
高端艺培机构数量下滑,中小艺培机构却开遍了大街小巷。面对同行的同质化竞争,有不少中小机构搞起低价课包活动,利用名师课来做引流,但是也导致了直接店面利润空间一压再压。
自10月15日,教育部颁布实施《校外培训行政处罚暂行办法》已有一段时日,教育学者陶凯龙认为:目前出现的大量非法教培机构违法违规学科类培训在办法实施先期一定时间内会大量存在,原因就是有高额的回报率加之对从业人员对国家打击非法学科类培训认识不足,随着重视程度提升,地方教育执法部门加大力度执法,这种现象会逐步减少,但根本上不会完全杜绝和消失,转入半公开和地下(民房一对一或一对多)会增加处理难度,主要是一些家长需求和教培市场的高额回报利益所致。
陶凯龙表示:打击非法教培需要全社会共同努力,积极协调好各部门形成执法合力,对教培机构加大监督检查、设立黑白名单等级、宣传等力度,一些违法典型进行公开曝光,加强对于家长家庭教育的引导和宣教,减少内卷和焦虑,完善举报监督机制,通过征集群众有奖举报奖励、手机随手拍以及新闻媒体舆论监督、人大以及司法监督的的力量,形成全社会共识与良好风气,让教育回归本质,以立德树人的素质教育为根本,切实贯彻好“双减” 政策,还学生一个快乐健康的时光。