恒大背锅:浙江女律师代理烂尾楼官司,被对方捶头住进了ICU

11月2日下午16点40分左右,在浙江嘉兴桐乡市的街头,一名男子拿着一把榔头追着一名身着职业装的女子捶打。
在他向该女子头部锤击若干次后,被周围的路人合力制服。
受伤女子头部多处骨折,被送进医院ICU抢救,目前已无生命危险;而行凶男子也被警方控制。
图片
究竟有何深仇大恨,让该男子下此狠手?
这涉及一起烂尾楼官司!
图片
受伤女子是浙江六和律师事务所执业律师娄某某,而行凶男子是对方当事人曹某某。
曹某某,36岁,河南人,在当地按揭购买了一套住房,烂尾了。后来启动保交楼程序,但曹某某认为没有达到入住条件,还是烂尾楼,向法院起诉开发商要求赔偿。
图片
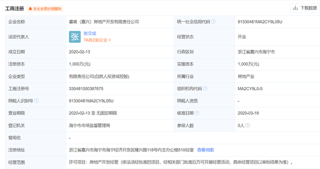
有人说这是恒大开发的楼盘,然而查阅工商资料发现:被告睿奥(嘉兴)房地产开发有限责任公司的股东穿透下去,并没有恒大。
图片
其中,持股35%的二股东广州恒富瑞通投资合伙企业(有限合伙),虽然注册地在广州,名字中也有个“恒”字,但与恒大也没什么关系!
恒大这回替别人背了一次锅!
这家开发商聘请了娄某某为代理人,与曹某某打官司。
在法庭上,娄某某提出了两种方案:
1、曹某某收楼,但要继续还贷款。
2、曹某某拒收楼,已经缴纳的首付和月供,以及开发商的违约责任都将转为普通债权。后续开发商可能申请破产,那么曹某某一分钱都拿不到。
图片
睿奥(嘉兴)房地产开发有限责任公司于2020年3月成立,注册资金仅1000万,很可能就是针对某个楼盘专门成立的项目子公司。
房企设立项目子公司的目的,就是与母公司风险隔离,遇到麻烦选择破产就能把责任撇清。
曹某某只有两个选择,要么住进烂尾楼,要么一无所有,当然接受不了。
虽然他在庭审中表现得比较平静,但内心早已起了波澜。
庭审结束后,曹某某到附近的超市买了一把榔头,捶打了女律师!
图片
他的遭遇得到了很多网友的同情,却难逃法律的制裁!
而娄律师,是在庭审结束后不久受伤的,视同下班途中受伤,属于工伤。
如果她购买了社保,自然会得到赔偿!
如果没有购买,或者赔偿额不够支付医药费、误工费等损失,律师事务所是否要负责任?
早前有案例判定,非授薪律师与律师事务所之间不构成劳动关系,律师事务所没有义务赔偿。
被代理的开发商呢?这要看双方的合同约定。
不过,这毕竟是一起意外事件,双方可能都没预料到,不会在合同中对此进行很详细的约定。
也就是说,开发商也没有义务赔偿娄律师的损失。
剩下的只有曹某某的民事责任了!
但曹某某属于弱势群体,根本没有赔偿能力,否则也不会干出这么不理智的行为。
目前,这起有关烂尾楼的民事纠纷还没判决。
如果判定达到交楼条件,曹某某收楼后还欠银行一大笔钱,仍然是负资产。
如果判定没有达到交楼条件,开发商要退钱并且赔偿曹某某。
开发商可能会迫于舆论压力,不选择破产而退楼赔钱,曹某某就有钱赔给娄律师了。
但赔偿也不是这么好拿的,对方肯定要求她签谅解协议!
这样一来,娄律师除了要违心地出具谅解协议,还以一种很荒诞的方式输掉了代理官司。