一边剥离天津城投置地,一边加码广州项目,华润置地的心思仍放在南方

图片
近期,华润置地(01109.HK)动态频发。
一方面,华润置地联合南沙交投、广州城投发展,以约75亿元的总代价拿下广州天河区、南沙区两个项目的建设权。
二级市场方面,截至7月5日港股收盘,华润置地股价报收33.75港元,跌1.03%,成交额为2.11亿港元,当前公司总市值约2406.69亿港元。
图片
75亿元“加注”广州南沙
7月4日下午,广州土拍迎来一个“小高潮”。
位于天河区东圃岐山路AT1010008、AT1010010地块(以下简称“吉山仓地块”)成功出让,由广州市润合咨询有限公司以成交价约45.05亿元摘得,折合楼面价约22828元/平方米。
天眼查信息显示,广州市润合咨询有限公司成立时间不满一年,控股股东为华润置地,公司分别由华润置地持股70%、南沙交投持股20%、广州城投发展持股10%,注册资本为90亿元。
图片
根据出让公告,吉山仓地块位于天河区和黄浦区的交界附近,属于二类居住用地+公交站用地,占地面积约11.14万平方米,计容面积约19.73万平方米,需配建中小学、建设金额为30亿元的广州市重点工程(项目)以及建设市政道路用地、绿地用地。同时,公告要求该地块竞买人须具有大型体育综合体建设的成功经验。
要说明的是,公告中提及的“广州市重点工程项目”即为南沙全民文化体育综合体,该项目位于南沙二十一涌,建设内容包括综合体育场、综合体育馆、游泳跳水馆、运动员中心及市政基础配套设施,要求于2025年6月30日前完成项目竣工验收合格。
图片
从公告要求似乎就能看出,这是为华润置地“准备”的项目,原因有两个方面。其一,项目的出让金额较高,合计约75亿元,当前环境下能一口吃下的房企并不多。另公开数据显示,今年上半年,华润置地在全国范围内的权益拿地金额、全口径新增货值均位列行业第一,分别为439亿元、927亿元,足以见得其对拿地的信心。
其二,华润置地在基建方面的建树颇丰。以深圳为例,位于南山区的深圳湾体育中心就出自华润置地之手,该场馆不仅具备承办体育赛事的功能,还能承接商业演出活动,平时还可以为市民提供体育活动场地,几乎没有“空置期”,是难得的可以盈利的体育馆。
值得一提的是,今年4月份,广州国资委曾对外表示,广州城投拟联合华润置地、南沙交投共同投资、开发、建设南沙大型城市综合体项目。彼时提出的“南沙大型城市综合体项目”,就是此次华润置地拿地所需配建的项目。
24亿元“退出”天津城投置地
华润置地与地方城投的合作由来已久。
钛媒体APP发现,近几年来,华润置地曾与天津城投、合肥城投、广州城投等等地方性城投公司合作开展项目,在大部分合作进展顺利的情况下,其与天津城投的合作却以“分手”告终。
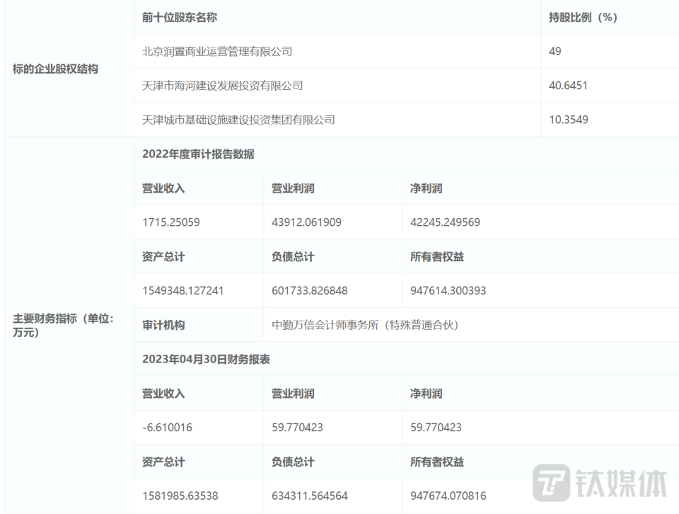
今年6月1日,全国产权行业信息化综合服务平台披露,天津城投置地投资发展有限公司(以下简称“天津城投置地”)49%股权挂牌转让,转让底价约23.8亿元,转让方为北京润置商业运营管理有限公司,是华润置地的全资子公司。
图片
全国产权行业信息化综合服务平台披露信息显示,天津城投置地49%的股权转让已于6月30日完成,但并未显示接盘方信息。
2018年底,天津城投置地混改正式落地,华润置地向其增资79.34亿元以获得49%股权。同时,天津城市基础设施建设投资集团持有天津城投置地51%的股权。而天津城投置地成立的目的主要是在津业务拓展,加大优质项目投资等。
但牵手不到五年,华润置地便与天津城投置地分道扬镳,其最主要的原因或许与业绩有关。
全国产权行业信息化综合服务平台挂出的信息显示,2022年,天津城投置地的营收约1715.25万元,净利润约4.22亿元,总资产约154.93亿元,总负债约60.17亿元,所有者权益约94.76亿元。
图片
而根据天津城投披露的审计报告,天津城投置地2022年度的营收约50.58亿元,净利润约2.52亿元,总资产约215.21亿元,总负债约135.07亿元,计算得出的所有者权益约80.14亿元。
图片
不难发现,在披露的多份报告中,天津城投置地2022年度的营收、净利润以及净资产等均存在差异,其原因或许是全国产权行业信息化综合服务平台挂出的信息并未根据天津城投的合并报表数据。但不得不承认的是,天津城投置地的经营情况并不乐观。
据了解,当初华润置地入股天津城投置地一方面是计划拓展天津市场,另一方面则是基于后者较为不错的盈利表现。2015年-2017年,天津城投置地的营收分别为17.9亿元、21.6亿元、31.9亿元,总利润分别为4628.82万元、3.5亿元、2.8亿元。
但进入2018年后,公司业绩便开始略显不振,在华润置地资金注入之前,即2018年1月-9月,天津城投置地的营收约9.7亿元,总利润为亏损1.1亿元,净利润为亏损1.4亿元,公司总资产约213亿元,总负债约164亿元。
虽然2022年,公司实现4亿多元的净利润,但营收仅有1700多万元,同时2023年前4个月,天津城投置地的营业收入变为-6.61万元,净利润约59.77万元,而截至2023年4月末,公司的资产总计约158.2亿元,负债总计约63.43亿元,所有者权益约94.77亿元,或许是因为业绩的状况才最终导致华润置地的“退出”。(本文首发于钛媒体 APP,作者|陈伟纳)