演员House遭官媒痛批!笑果被立案调查 脱口秀为何频出“事故”?

凤凰网《风暴眼》出品
“就算让我重选,我还会做同样的选择,也肯定不后悔。因为不论如何,做脱口秀也比我在银行的工作快乐一万倍。都少了,一千万倍吧。”
去年11月,因参加《脱口秀大会》而小有名气的脱口秀演员House(李昊石)在接受媒体采访时,表示自己从不后悔辞掉原来在银行的工作,去做脱口秀的决定。
如果现在再让House重新选择,不知道他是否会做出不同的选择。
近日,由于在一场脱口秀演出中发表不当言论,House陷入舆论的风口浪尖,遭官媒痛批,演艺生涯可能就此终结。其所属公司笑果文化也被立案调查。
事实上,这已经不是笑果文化第一次出现因演员“不当言论”而登上热搜的情况。此前李诞曾因“躺赢职场”的微博广告文案陷入争议。杨笠也多次被指用“性别对立”制造话题。
而近年来随着脱口秀节目的爆火,资本涌入的同时,争议也越来越多。脱口秀演员的段子和“冒犯”的边界在哪里?行业能否持续发展?这也成了脱口秀行业一个无法回避的问题。
图片
House遭官媒痛批,曾带火一只股票
近日,笑果文化脱口秀演员House(李昊石)在进行一场脱口秀表演时,其中的一个段子被指侮辱人民子弟兵。随着事件的传播发酵,“笑果”等词条也冲上热搜。
5月15日下午,笑果文化官方微博发布声明称,已无限期停止脱口秀演员House(李昊石)的一切演艺工作。笑果文化称,因李昊石在演出中有不恰当的比喻,引起了观众争议,对此公司向社会大众表示真诚的歉意。
与此同时,House也在微博致歉,称在演出中使用了非常不恰当的比喻,给观众造成了不好的感受和联想。“我将为此承担责任,停止一切演艺,深刻反省,重新学习。”
图片
据媒体报道,北京市文化执法总队表示,5月15日上午通过网络巡查已获知此事,并已对相关公司进行立案调查。上海文旅部门也已介入进行调查。
而House涉嫌侮辱人民子弟兵的行为也遭到了官媒的痛批。解放军新闻传播中心旗下的知名账号“钧正平”发声:“低格调的搞笑,无底线的放纵,博眼球的娱乐,不知止的欲望,对文艺有百害而无一利!”
图片
人民日报也针对此事发表评论:“脱口莫脱轨,玩梗须有度。片面追求笑果而不惜踩线,就陷入了误区。心有所畏、言有所戒、行有所止,这应是职业底线,更该成为行业共识。价值观立得端,言行才不会跑偏。”
图片
知名媒体人胡锡进则表示,希望公众给涉事演员和笑果公司一个反省并且真正做出改进的机会,不至于现在就下一个永久封杀涉事演员的结论。“另外,鉴于脱口秀是高度市场化的行业,对House和笑果处罚程度也可更多由市场来决定。总之,我们的社会需要立场和原则很坚定,同时也要有必要的容错空间。”
图片
根据公开资料以及House之前接受媒体采访时透露的信息,在讲脱口秀之前,2014年大学毕业的House在一家银行工作了3年,2017年初辞职。辞职后House去旅游了一段时间,后来阴差阳错地讲起了脱口秀。
2020年,House第一次站上《脱口秀大会》的舞台,却没能闯过首轮竞技。在此之前有一年多的时间,还未出名的House为了挣钱生存,表演脱口秀的同时在一家外贸公司上班。
凤凰网《风暴眼》了解到,去年9月,在综艺《脱口秀大会》第五季的一期节目中,House曾凭借一段讲投资的段子火了一把,其本人和段子中的上市公司一度登上热搜。
节目中,House分享了一段自己炒股的经历:决定用3年赚的12万元炒股,计划在2年之内实现财富自由,但到第四天,12万元就只剩下2.5万元,并点出该支股票的代码。
此举遭到股民的质疑,节目中直接点名股票,可能存在荐股等违规行为。9月13日,节后开盘首日,该支股票开盘涨停,后涨幅回落至1.2%。
这也引起了上交所的注意。当日,其发布通报称该股票走势异常。当事公司发布公告称,公司生产经营未发生重大变化。上交所依规对拉抬股票开盘价等异常交易行为采取了自律监管措施。
随后,笑果文化对节目后期进行处理,消音股票代码及在屏幕打出提示字幕:股市有风险,投资需谨慎。
House曾表示,自己最根本的创作理念之一就是只讽刺和吐槽强者。“喜剧是弱者向强者‘复仇’的唯一方式。当我们遭遇不公、面对荒诞的时候,可以通过喜剧的方式去反击。”
凤凰网《风暴眼》了解到,目前House的个人微博已被禁言。在笑果官方微信小程序的演员名单中,已搜索不到House(李昊石)的个人主页。其原定于5月19日至27日在苏州的演出也已取消。
除House外,笑果此前也有多名艺人遭到处罚。
2020年6月23日,上海市公安局官方微博披露了笑果文化旗下脱口秀演员卡姆(真名:艾某)容留他人吸毒被拘捕的详情。卡姆在自己家中与其朋友陈某、李某某等人一起吸食大麻,均已被行政拘留。2020年5月11日,警方因涉嫌容留他人吸毒依法对卡姆处以刑事拘留,同年6月23日,卡姆被虹口区人民检察院以涉嫌容留他人吸毒罪批准逮捕。
除卡姆外,2021年2月24日,李诞在其个人微博发布一条Ubras品牌女性内衣的微博广告,因广告涉及侮辱女性,最终笑果文化因“发布广告妨碍社会公共秩序或者违背社会良好风尚”被上海市奉贤区市场监督管理局予以行政处罚,具体内容为罚款20万元,没收广告费用,责令停止发布。
在今年2月份,同样是笑果文化的知名演员孟川,其个人社媒被封禁了,至今未解。官方给出的理由是“违反法律法规”。
笑果文化估值超40亿,李诞称成功原因是运气好
此次,在House因不当言论登上热搜的同时,其所属的公司笑果文化也再次引发关注。
作为近年来新兴的一种喜剧形式,脱口秀备受年轻人喜爱,而笑果文化正是脱口秀公司中的佼佼者。
凤凰网《风暴眼》了解到,笑果文化的创始班底其实来自于《今晚80后脱口秀》。2012年,彼时担任东方卫视导演的叶烽找来王自健、李诞、王建国等人,推出了《今晚80后脱口秀》。2年后,该节目成为东方卫视的黄金节目。
2014年,叶烽等人成立了笑果文化。天眼查信息显示,笑果文化注册资本为208.13万元,总部位于上海,经营范围包括文化艺术交流策划、演出经纪、文艺创作与表演等。
目前,叶烽是笑果文化的法人以及实控人,持股比例为31.57%。2016年,李诞入股笑果文化并成为公司董事。天眼查显示,李诞目前持有笑果文化4.58%的股份。
图片
2017年,笑果文化与腾讯合作,推出第一季《吐槽大会》,总播放量超过15亿。作为主咖,李诞和池子两人也彻底出圈。乘着这股东风,笑果文化于当年4月和5月拿下A轮1.2亿元与A+轮1亿元融资。
随后,笑果文化趁热打铁于同年推出《脱口秀大会》,同样爆火。《吐槽大会》和《脱口秀大会》两档节目也成为国内现象级的综艺节目。
同时,笑果文化还拥有线下自营脱口秀剧场“笑果工厂”。以“脱口秀拼盘”、情景小剧、即兴互动等演出形式,其演出经常爆满,年轻人往往一票难求。
在笑果文化凭借脱口秀“出圈”的同时,资本也蜂拥而至。截至目前,笑果文化在6年的时间里已经获得8轮融资,估值达到40亿元。投资方包括腾讯、南山资本、泽时投资、CMC资本、游族网络等。
图片
从成立到爆火,笑果文化只用了短短三年,成功的背后有何秘诀?去年11月,李诞在接受凤凰网财经《封面》采访时表示,最重要的还是运气好,然后自己别放弃。
“你能做的就是,运气来的时候你还在‘桌上’坐着。就像段永平说的‘做对的事情,把事情做对’,我觉得全部的秘密就在这句话里了。”李诞说道。
在采访中,李诞还透露,脱口秀市场其实很小,赚钱多少可能还不是最重要的,比较重要的是把这个行业做起来。“我们一年的营收可能都不如一部电影的票房。所以它就是个小生意,但是挺好玩的。”
图片
实际上,笑果文化的发展也并非一直“高歌猛进”。其两大王牌节目《吐槽大会》和《脱口秀大会》这两年来也面临着“越来越无聊”“洗白大会”等的质疑,收视率和评分也有所下降。
去年,《吐槽大会第六季》就没能如约而至。在凤凰网财经《封面》的采访中,李诞透露,《吐槽大会第六季》之所以不做了,其实也是吸纳(大家的意见)。“大家觉得你们这个做得没什么意思,来了又不能真的吐槽,为什么还要做?我觉得大家说得很有道理。”
李诞表示,综艺节目就是这样,它是一把算一把。你这一季做得好,完全不意味着下一季也能做好。就是基金经理有一句话:过往业绩不代表未来的成绩,这个理念和做节目是一模一样的。
线下票房3年翻了20倍 笑果或开启资本运作前奏
通过《脱口秀大会》的铺垫,笑果已经形成了一个引进人才、输出内容、打造热门综艺,进而继续吸引人才的完整链条,运作模式已然成型。李诞虽是笑果最突出的标签,但也不再是唯一知名的标签。
此外,笑果文化也开始发力线下演出。据媒体报道,春节过后,笑果文化在上海、北京、南京等10个城市率先开麦,举办了超过65场演出。3月20日至4月28日,“笑果春日限定”演出也将覆盖全国19城,带来近200场演出。
至于为什么笑果文化如此重视线下演出,主要是因为这一市场增长太过于迅猛。笑果文化演出运营总监陆逸云曾表示,跟传统大剧场的戏剧、音乐剧相比,脱口秀、漫才、即兴喜剧等新业态飞速发展,成为疫情三年演出行业的重要变量。从2020年到2022年,整个脱口秀行业的线下票房翻了20倍,从最开始的2000万,涨到了4.8亿。
可见,线下是笑果文化走向扩张的关键一子。
作为行业的标杆性企业,随着脱口秀的爆火,笑果或许也在悄悄开启上市的前奏。
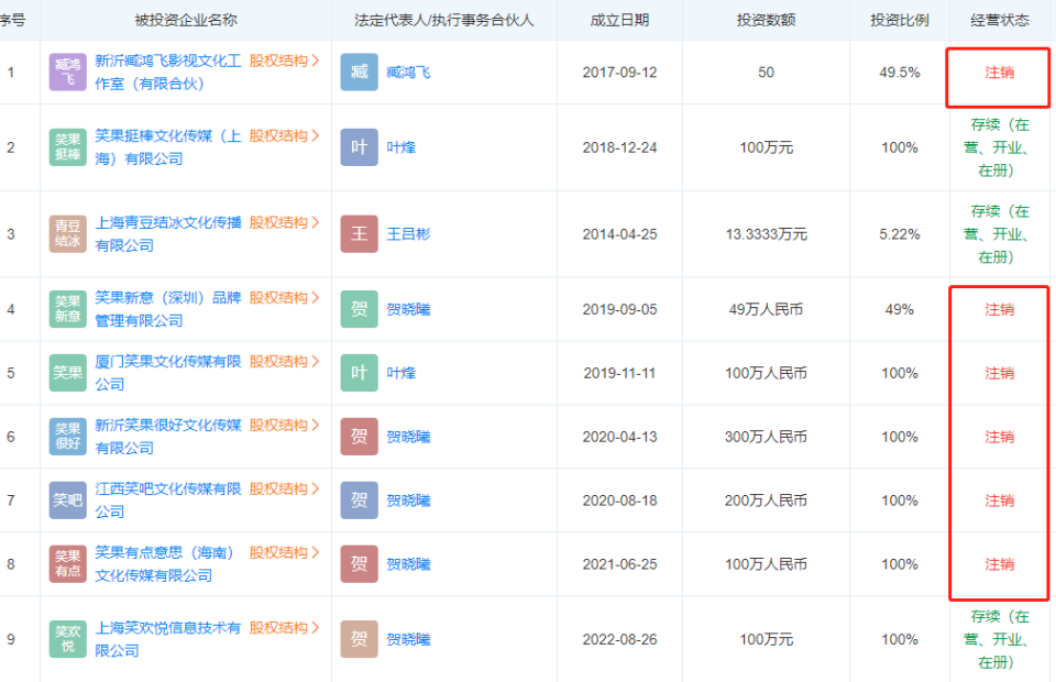
天眼查数据显示,笑果文化对外投资的企业共有9家,其中有6家已经注销。几家进行注销的公司中,最早的一家是新沂臧鸿飞影视文化工作室(有限合伙),公司于2021年1月22日进行了简易注销。最晚注销的是江西笑吧文化传媒有限公司,其于2021年11月16日进行了简易注销。也就是说,笑果文化投资的几家公司在2021年期间进行了大量注销。
图片
而在此期间,笑果文化此前控股的笑果演艺股权也发生了变更。
天眼查显示,2021年11月份,笑果演艺原股东笑果文化、郭凌虹退出,新增股东Fun factory(HK)Limited并全资持股,同时企业类型变更为有限责任公司(港澳台法人独资)。新股东Fun factory(HK)Limited于2021年8月6日在中国香港注册。
业内人士也在猜测,笑果或在为上市做准备。
不过,北京威诺律师务所主任杨兆全对凤凰网《风暴眼》表示,笑果的House事件,在社会上造成了比较广泛的社会负面评价。“相关执法部门也已经对公司展开调查。虽然调查处理结果还没有出来,但是这一事件肯定会对公司的整体估值或者上市产生比较大的影响。”