澎立生物IPO估值回落四分之一,五位战投预亏

图片
乐居财经 严明会 近日,澎立生物医药技术(上海)股份有限公司(以下简称“澎立生物”)发布首次公开发行股票并在科创板上市招股说明书。
据乐居财经《预审IPO》查阅,澎立生物是一家专业提供生物医药临床前研究CRO服务的企业,致力于为全球创新类生物医药企业、医疗器械企业提供符合国际标准的临床前研究CRO服务。
招股书显示,澎立生物募集资金为6.01亿元,约为发行后25%股权,从而计算出它的总市值约24亿元。若以2021年3740万元的净利测算,市盈率约64倍。由于2022年财报未出,初略估计净利在5600万元左右,市盈率约42倍。
这个价格,令一些后来的战投,已录得账面上亏损。
澎立生物引战,时间跨了四个年头,共经历6次股权转让、9次增资、1次股份制改造及1次注册资本币种变更。从2019年12月到2022年3月,估值从2.2亿元飙升至32.2亿元,涨了将近14倍。
但2023年3月份公布招股书时,澎立生物把估值降低至24亿元,缩水了四分之一。这在企业IPO过程中十分罕见。
图片
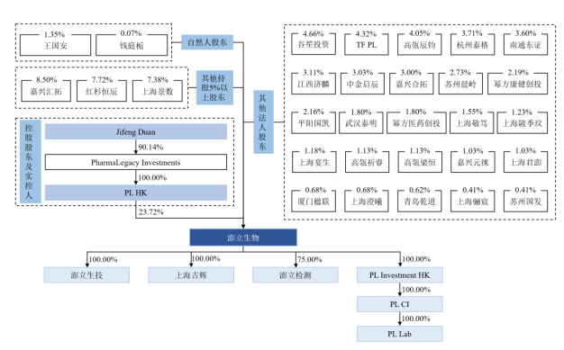
Jifeng Duan帮澎立生物引入了27个股东,里面包含了嘉兴汇拓、嘉兴合拓两个员工持股平台,分别持股6.22%和3.22%。
高于24亿元估值进入的战投,包括28亿元估值进入的中金启辰,32.2亿元估值进入的江西济麟、红杉恒辰、上海敬笃和青岛乾道。
从账面上看,它们是亏的。亏得最多的是,还是来自江西济民可信老板李义海,1个亿的投资,缩水了4000万元。
此外,红杉恒辰也在2022年3月增资时小亏了一点,投了5000万元,缩水了2000万元。它还在2021年10月从PLHK拿到0.5%股权、掏1.4亿元增资,当时估值分别为20亿元和22.65亿元。
综合测算下,红杉恒辰的账是平的。红杉恒辰的老板周逵,是红杉资本中国基金合伙人,也是红杉资本沈南鹏的搭档。
相关公司:澎立生物