发布声明后仍跌停,市值近一周蒸发185亿元,以岭药业跌落神坛?

12月19日,以岭药业大幅低开,午后触及跌停。截至收盘,报40.67元,成交额54.96亿元,换手率9.65%,总市值679.48亿元。值得注意的是,上周一(12月12日)收盘,以岭药业总市值为864.6亿元,近一周内以岭药业总市值已蒸发185.12亿元。
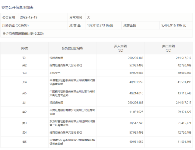
盘后龙虎榜数据显示,深股通买入2.90亿元并卖出2.45亿元,一机构净买入832.90万元。
图片
近期关于连花清瘟、以岭药业的相关消息接连不断。
12月18日晚间,公司发布声明称,近日,网络谣言称连花清瘟可造成肝损伤、肝衰竭,此类不实消息严重误导了广大民众,严重损害了连花清瘟的产品形象,造成了极其恶劣的社会影响。连花清瘟从组方用药历史、系统毒理学、临床研究及荟萃分析、上市后大规模人群中不良反应监测等多方面均证实有良好的安全性。连花清瘟药品说明书针对不良反应有明确体现。
声明称,相关媒体及个人捏造传播“连花清瘟可造成肝损伤、肝衰竭”虛假事实,对公司及产品商誉的失实言论和恶意诋毁,严重侵犯了该公司权益,公司保留通过法律手段维护自身合法权益之权利。