拓海直呼内行!1.6T排量/5秒破百/风箱阀门 最强卡罗拉登场!

丰田AE86相信连不关注车的朋友都有所听闻,其实这是一台诞生于1983年的第5代卡罗拉双门轿跑。
 
图片
也是从这一代开始,卡罗拉就从后驱变成了前驱,只有AE86是特殊的存在。
 
图片
如今的卡罗拉在大家印象里已经跟运动没有了关联,直到第12代在近日发布了GR卡罗拉,一下子就跟本田思域Type R门当户对了。
 
图片
GR卡罗拉是一台针对北美市场研发的高性能车,技术均取自丰田参加世界拉力锦标赛的赛车,连日本本土都没得卖,像1966年的初代卡罗拉诞生就是全球车一样。
 
图片
新车推出了Core普通、Circuit赛道、Morizo特别版3款。普通和赛道版只是设计、配置不同,而Morizo则在动力和轻量化上更极致,且限量2000台,需要在官网上抽签,名字代表着社长丰田章男。
 
图片
GR车型都会在日本的元町工厂专人专线生产,其早在1959年投产,是国家首个汽车整车工厂。皇冠、雷克萨斯LC、氢燃料电池车Mirai等高端车型都诞生于此,也是丰田保留人工化最大的一家,充分体现了匠人精神,有点AMG一人一机那味了。
 
图片
图片
当大家以为GR Yaris搭载代号G16E-GTS的1.6T 3缸发动机,最大功率272Ps、扭矩370N·m已经是极限时。
 
图片
丰田在GR卡罗拉身上经过带阀门的3个消声器让功率达到了305Ps,0-100km/h的加速时间仅5秒,比GR Yaris快0.5秒,跟思域Type R基本相同。
 
图片
而Morizo的扭矩更是被提升到了400N·m,加速踏入4秒俱乐部。
 
图片
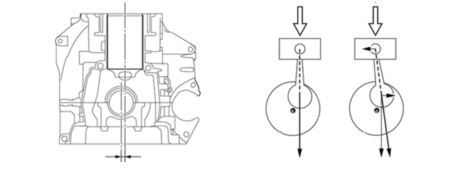
阀门在怠速时会打开增大排气声浪,当时速超过32km/h时关闭来保证低扭,而转速超高4500rpm会重新打开减少排气阻力。进气风箱里居然也有阀门,在高转时会打开来增加进气量。
 
图片
2-阀门、b-大进气路径
87.5mm×89.7mm的缸径行程、10.5:1的压缩比有利于拉力赛的发力区间,305Ps在6500rpm输出,算不上高转引擎,而是平衡了马力和扭矩。
 
图片
1-缸体
从性能角度来看,1.6L排量做成3缸能获得更好的动力,因为4缸会多了一套活塞连杆配气机构会增加机械损耗让效率降低,且有排气干涉问题影响动力和响应。
 
图片
1、2-配气机构
曲轴相对气缸偏移了10mm以减少活塞运动时对缸壁的摩擦。连杆使用了锻造工艺,曲轴活塞经过高精度加工来减重,边缘有DLC类金刚石涂层来加强和降低摩擦力,整机重量仅109kg。
 
图片
图片
对于3缸机的震动,丰田在曲轴上设置了4个平衡砝码,还在引擎的右边使用了液压机脚来优化。
 
图片
图片
e-平衡砝码
活塞有独立的喷油冷却,排气门使用了空腔注钠,铸铝缸体采用开放式水道,连缸盖也是铝合金材质来让发动机的散热更好。
 
图片
图片
6-排气门、1-液压机脚
小排量涡轮增压做大动力,发力区间都会比较靠后,所以丰田使用了阻力更小响应更好的滚珠轴承涡轮叶片。
 
图片
不过中冷器是赛车化的风冷而不是水冷式,也没有使用时下流行的VGT可变截面结构,还是传统的WGT涡轮。
 
图片
图片
7-中冷器、下-发动机冷却系统
所以GR卡罗拉的最大扭矩输出要在3000-5500rpm才会到来,Morizo的区间缩短至3250-4600rpm。这意味着日常市区开在涡轮未起压时,动力感受可能还不如一台思域好。
图片
图片
1-铝合金缸盖、3-机油冷却管路
好在发动机也配备了丰田的DVVT-iW(进排气门相位广角度连续智能调节技术)和D-4S燃油双喷射系统,能在奥托阿特金森循环之间无缝切换,在压榨动力的同时也能满足欧六b的排放和9.8L/100km的综合油耗。
 
图片
1-歧管喷射油嘴、2-缸内直喷油嘴
图片
 
既然GR卡罗拉继承了拉力赛车的技术,那自然少不了一套强悍的智能四驱系统,除了引擎,GR-FOUR也是丰田近20年来的唯一运动型全时四驱
 
图片
四驱提供了正常运动赛道3种模式,通过自家的JTEKT电控多片离合器,可以让前后轮的扭矩输出分别对应在60:40、30:70、50:50之间。
 
图片
也就是正常偏前驱来提高传动效率,运动偏后驱可以做到一些甩尾的动作,赛道4个车轮固定输出可以更稳,类似于福特福克斯RS。
 
图片
赛道版Morizo前后桥的托森式差速器还带有LSD功能,进一步让每个车轮都能把动力用满不浪费。
 
图片
运动赛道模式下,VSC车身稳定系统可以激活EXPERT模式来减少介入,只有在严重失控时系统才会干预。
 
图片
GR卡罗拉目前只配备了6速手动变速箱,短行程设计,且保留了机械手刹
 
图片
iMT功能开启后可以自动进行补油来匹配转速,这能减轻日常驾驶的负担和保护离合器,后续也有可能推出匹配爱信8AT的版本。
 
图片
考虑到使用场景,GR卡罗拉的变速箱齿比设定没有GR Yaris那么激进,Morizo在动力升级后,其1、2挡的齿比会有些区别。
 
图片
图片
 
GR卡罗拉基于美版两厢打造而来,也就是国内的雷凌,不过设计还是跟卡罗拉有很大区别的。
 
图片
Core普通版
前后保险杠的造型更加夸张,有着大面积的进气和散热中网,以及巨大的宽体设计。但这也导致其风阻系数达到了0.35Cd,比一些SUV还高,所以极速也被限制在了230km/h。
 
图片
车身尺寸比思域Type R小,轴距2640mm,前后轮距相比卡罗拉加宽了60和85mm。
 
图片
前LED雾灯旁集成了刹车冷却导流槽,翼子板气孔可以减少轮拱内的乱流,特别的3出排气还整合了扩散器
 
图片
Morizo特别版
赛道版Morizo还在引擎盖上增加了散热口,车顶换成了锻造碳纤维材质,大尾翼是赛道版的专属。
 
图片
18英寸轮毂在Morizo上才用了锻造工艺,由BBS生产,款式从15辐条减少到了10。后雨刷器也拆除,进一步减轻重量,且轮胎从235mm宽度米其林PS4升级为245mm的Pilot Sport Cup 2
 
图片
内饰相比卡罗拉只是多了一些红色缝线和GR铭牌点缀,不像豪华品牌的高性能版那样布满碳纤维饰板。
 
图片
仪表是专属的12.3英寸液晶屏,界面排布考虑到了主次信息,能显示功率G值涡轮压力换挡指示灯等,开机是GR动画。
 
图片
最大的不同是主副驾换成了两张织物运动座椅,赛道版为Brin Naub绒面。Morizo还用在了方向盘上,且升级了半桶型座椅,同样支持6向可调,不过为了减重取消了后排座椅,所以实际上是一台2座车,后面刚好可以多放一套轮胎备用。
 
图片
普通版只有6扬声器,红色刹车卡钳、8个JBL音响800W功放、无线充电、前排和方向盘座椅加热都要选装,Morizo则只保留2个扬声器来减重。
 
图片
图片
 
GR卡罗拉依然是基于TNGA-C平台打造,不过加强了车架和底盘的刚性,多用了6米的结构粘合剂,Morizo还增加了349个焊点后顶吧
 
图片
引擎盖和前门换成了铝合金材质,所以GR卡罗拉的重量为1470kg,Morizo减重了48kg,与高配的卡罗拉相近,但比思域Type R还是重一些。
 
图片
Circuit赛道版
底盘由GR部门来调校,优化了衬套的特性,前悬架依旧为麦弗逊结构,减震器采用了轻量化的支柱。由于后桥多了差速器和半轴,所以后悬架结构从E型多连杆变成了双叉臂式。
图片
后悬架
Morizo的悬架高度会再降低5mm,减震器从复筒改为单筒结构来提升运动性。前后防倾杆的粗细分别为26.5和24mm,转弯直径仅5.5m。
图片
刹车卡钳采用前4、后2对向活塞,刹车盘前通风、后实心均带有划线工艺,能更快地排出刹车粉保持刹车效果,直径分别是355mm、后297mm。
 
图片
图片
 
GR卡罗拉定位在GR 86和GR SUPRA之间。
 
图片
普通版的起售价在35900美元,比思域 Type R便宜一些,相当于一台2.4T汉兰达的价格,赛道版42900美元,与GR SUPRA接近,Morizo的起售价为49900美元。
 
图片
参考国产汉兰达的顶配价格为34.88万,所以GR卡罗拉来到国内如果卖36万左右是合理的,只是按照国内GR86 33.86万和GR SUPRA 49.9万起的溢价来看,新车的价格应该会超过40万元
 
图片
不过GR卡罗拉的产能有限,目前是优先供给美国市场,一年计划只有5000台,所以暂时还没有引进国内的消息。
 
图片
好在获得丰田WRC赛车真传的GR Yaris已经确认明年将会进来,虽然雅力士的级别低于卡罗拉,但地位却是GR家族里最高的,所以其售价预计也要到38万左右。
图片
图片
GR是丰田旗下的御用赛车部门,多年拉力赛经验让GR车型在极端环境下有着可靠的耐久性,这也是秉承了丰田一直以来的亮点,或许GR家族会成为最耐用的高性能车。而在如今纯电动化的时代,还有车企愿意专门研发,打造一台如此纯粹的车已经很难得,纯油时代的性能车很快将会成为绝唱。
图片