从草根出身到月销破万!这家新品牌凭什么本事完成逆袭?

大家好,我是电动车公社的社长。
“王侯将相宁有种乎?”这是2200多年前的秦朝,中国首次农民大规模起义时,陈胜对受尽苦难的农民们义愤填膺的喊出了这句话,激励他们去反抗压迫。
几个月前,哪吒汽车CEO张勇在接受媒体采访时,也说了同样的话。自2018年加盟哪吒汽车的4年以来,他一直都在咬着牙憋着一股气。
图片
哪吒汽车初入造车“江湖”时,很多人对它的未来并不看好,口碑和名声远远不如“蔚小理”。
不过,汽车作为实打实的工业产品,向来都是“以量论英雄”的。
就在去年下半年,小鹏、蔚来纷纷创下月销破万新纪录举杯欢庆时,哪吒像一匹“黑马”一样,神不知鬼不觉的追了上来!
去年11月到今年1月,哪吒连续3个月销量破万,让新势力第一梯队格局从“三人斗地主”变成了“四人打麻将”。
一眨眼的功夫,到了3月1号。作为一月一度的“新势力内卷日”,公社办公室里又一次不厌其烦的讨论起,谁才是这个月销量冠军?因为2月份有春节假期停工这个不确定因素的影响,我们纠结了2、3个小时也没出结果。
后来,我们干脆就把问题抛给了给广大网友,在微博上搞了一次猜销量的活动,最接近正确答案的附赠100元京东卡。(不出意外的话,以后公社每个月1号都会搞类似的有奖竞猜活动,欢迎大家来薅羊毛。)
图片
微博评论区,多数人还是在猜小鹏会夺冠,毕竟前几个月小鹏销量和第二名之间拉开了不小的差距。
随着哪吒最后一个公布成绩,排名基本尘埃落定。理想以交付量8414辆夺冠,而哪吒以交付量7117台居亚军。
对于哪吒而言,2月销量成绩不可谓不佳。可以说,哪吒乘胜追击,又往前走了一小步,距离夺冠已经近在咫尺了。
近几年新能源的造车热潮中,新势力并不罕见,但胜利终归属于少数人,有不少品牌经不住一轮轮内卷的洗礼而倒下。
那么,最初不被人看好的哪吒汽车,是凭什么本事活到现在,并冲到新势力第一阵列的?
01. 武侠精神
“或许是自己‘修为’还不够吧。”这是张勇初入哪吒汽车时,面临着没人、没钱、没资源的窘况时曾感叹道。
身为堂堂正正的哪吒汽车CEO,却在论“修为”,似乎与目前的科技时代有一些违和。据说“不务正业”的张勇一点也不喜欢看经营管理、财务统筹类的书,最喜欢看武侠小说。
“武侠小说里表面上都是些打打杀杀,其背后实际上是对于自身的一次次超越。”打抱不平、不屈不挠、干劲十足的精神内核,是他一直以来所追求向往的。这种精神始终伴随着他,同时也巧妙地贯穿了哪吒汽车的成长过程。
2000年,25岁的张勇成为了“北漂党”中的一员,入职福田汽车,没过几年便进入了管理层。自张勇带队后,福田汽车很快进入了发展快车道,从名不见经传,到2007年一举成为全球仅次于奔驰的第二大商用车生产企业。
在福田的10年时间里,张勇巧妙地结合了武侠精神中的“勇”,自创了一门营销“武功”,名为“土狼战法”:先从空隙中创造市场,再从老虎(强劲的竞争对手)嘴里拔牙。
图片
2010年初,张勇加入了奇瑞新能源,邂逅了他事业路上的挚友,奇瑞新能源的技术一把手:方运舟。
作为做技术出身的国家新能源汽车专家,方运舟已经在新能源汽车领域深耕多年,是奇瑞新能源成功跻身国家“863”计划的重要推手。
那时,新能源市场远没有现在这么火爆,甚至没人知道新能源汽车是什么,这种不利局势下,要开辟出新能源这个原本不存在的新市场,难度可想而知,但二人并没有退缩,而是并肩作战。
方运舟负责精进制造,张勇负责“带兵打仗”,掏出了绝活“土狼战法”。一年将QQ3电动版卖出了8000台,现在想想已经是很不错的战果了。
大概也是在这个过程中,二人产生的深厚兄弟情。(找不到方和张的合照,放另一兄弟周鸿祎吧
图片
2014年,怀揣着创业梦想的方运舟觉得时机成熟了,他不顾尹同跃的挽留,毅然决然地选择了离开干了16年之久的奇瑞新能源,去浙江桐乡创立了合众新能源。或许是挚友的离开,让张勇觉得继续留在奇瑞已索然无趣,于是跳槽去了北汽新能源
至此,二人分道扬镳。
后来,张勇依然凭借着屡试不爽的“土狼战法”,带领北汽新能源拿下了2017年全球新能源销量冠军。
但另一边,出来单干的方运舟就比较苦了,又要吭哧吭哧画PPT拉投资,又要花钱招兵买马,还要泡在厂里做技术研究......
在张勇迎来人生巅峰之时,他猝不及防地收到了挚友方运舟抛来的“橄榄枝”——合众缺一个CEO 。
这时的张勇,我想应该是有些许犹豫的。他明白,离开北汽新能源这个“温床”,加入合众,对他来说就相当于3年的努力打了水漂,一切将从头开始。
也许是武侠精神中的“义”的驱使,张勇最终选择了为兄弟两肋插刀,去迎接新的未知挑战。
图片
02. 从合众到哪吒
2018年,两位久经沙场的汽车行业“老兵”,在一家成立不到4年,几乎是“一张白纸”的创业公司重逢。
那时,合众汽车没有营销体系,没有产品上市,融资也不好融,公司从上到下只有500人,甚至没人知道他们是干什么的。
事实证明,方运舟请张勇回来是非常正确的选择,张勇有着丰富的品牌塑造功夫,成为了合众突破瓶颈的关键。
合众。合众人之力,格局不错,做公司名字可以,但做品牌就太平淡了,缺乏吸引力。如果我们有钱,合众品牌是可以搞起来的,但问题是我们没钱。”合众首款车型交车临近,张勇在一次内部讨论时说道,“一个品牌想要获得成功,名字非常重要,必须找到一个有记忆点的元素。”
虽然合众出身贫寒,但当时每个人都干劲十足,这股武侠精神中的“韧”劲,让张勇想到了中国古代神话故事中的一个角色——哪吒。
图片
作为一个流传了2000多年的神话形象,哪吒这个IP绝对是妇孺皆知,他敢于与命运做抗争的精神,也和合众汽车的发展方向不谋而合。于是,张勇决定在合众旗下成立新品牌——哪吒汽车。
“把哪吒这个‘熊孩子’当品牌形象,未免有些太儿戏了吧!”
“想不通,哪吒与汽车或者与出行有什么关联?要体现速度的话还不如叫风火轮汽车呢?”
一辆车都没交的合众汽车,却提前改了品牌名字,这波操作在外界看来着实是有点“迷”。有不少人劝张勇换掉名字,但张勇却坚决不换。或许,张勇动用了“未卜先知”这个神功,个前知道了哪吒这个IP一定会火吧。
命运就是这么赶巧,2019年电影《哪吒之魔童降世》一夜之间爆火,它以50亿元的票房刷新了中国动画电影的历史。
哪吒团队的反应异常迅速,直接找到动画团队,谈下了这次跨界IP合作。印着“魔童哪吒”的哪吒N01一时间在网络上爆火,一下让不少人认识了哪吒汽车。
图片
从此,“我命由我不由天”这句魔童哪吒在电影中面临命运审判时喊出的“名言”,直接被哪吒汽车借用了过来,成为了座右铭。
03. 穷有穷的活法
说起造车新势力,给人的印象通常都是蔚小理那样智能、高端的形象。如今,蔚小理已经挺过了最艰难的时刻,到现在一个个都开始“放飞自我”,寻思着尽可能的从BBA手里抢到更多的蛋糕。
虽然哪吒与蔚小理都是新势力,销量也旗鼓相当,但其下沉的品牌定位却与蔚小理截然不同,甚至在众多新势力中都显得有些格格不入。
外界看到的李斌、何小鹏、李想三兄弟勾肩搭背的时候,张勇或方运舟也不在身边。
已经卖过的三款车型,除了哪吒U Pro版本的售价超过10万元以外,其余的车型价格均在10万以下。其主力车型哪吒V,2021年补贴未退坡之前,最低起售价仅为5.99万元。
俗话说,“价格一样买大的,大小一样买便宜的”,作为一款小型纯电SUV,哪吒V的价格甚至比很多微型车还要低,这性价比绝对算是越级打击。
图片
“哪吒汽车不做富人的玩具,只做老百姓买得起的车。”去年6月,张勇在首个粉丝节上表示。
当然,从低端市场切入也是有原因的。
首先,哪吒汽车是传统车企班底,一上来就要与都有互联网背景的蔚小理在智能化领域“拼刺刀”,显然是拼不过的。而自身在汽车产业链上积累的客户资源,在造车成本控制方面则更为突出,这也是哪吒相比蔚小理的优势所在。张勇也表示:“我们的强项之一,就是极致的精益运营能力。”
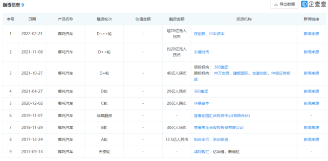
其次,与互联网出身的小鹏、蔚来相比,哪吒的PPT显然做得不如人家光鲜亮丽,靠新概念引来投资人的能力也比较有限,这就导致哪吒的融资历程一开始看似并不太顺利。
李斌曾说过的一句“至理名言”:“没有200个亿就别想造好车。”据企查查公开信息显示,合众从成立到现在,一共只融了171.5亿元。。
图片
李斌说的其实不无道理,的确有不少新势力车企因为资金链断裂而轰然倒下。自从加入合众以来,我想,看似信心满满的张勇,心应该也是在悬着的,哪吒会不会成为下一个倒下的谁也不知道。
“我们一直都没在光环下,很少被别人关注”,张勇回忆起哪吒最艰难的日子,几个月的时间里他像永动机一样,连续见了不下200个投资人,找钱给哪吒汽车“续命”,但“缺钱”这个问题依然没得到根本上的解决。
在危急存亡之时,张勇在和方运舟讨论后,做出了一个“非常冒险”的决定:用股权换钱。
截至2021年12月,合众新能源拥有大大小小20个股东,但合并同类项之后发现,合众新能源的背后有两股神秘力量——宜春和南宁两个国资委。
宜春国资的持股比例高达38.6%,南宁国资委持股18%,而创始人方运舟的持股比例仅1.1%,这在新势力中是非常少见的。
而如果按照国有资本超过50%就算国企来看……哪吒这哪叫新势力,分明是一家实打实的“国企”啊!
这也基本解释了为什么合众会选择在宜春和南宁分别建立新工厂,毕竟给钱的才是爸爸。
好在,宜春和南宁国资委并没有过多地干涉哪吒的发展方向,控制权还掌控在哪吒团队手中。
图片
可以说,无论是决定走低端下沉市场,还是卖身换钱,哪吒两次都“赌”对了。
为什么说赌对了?因为新势力中传统车企班底的不止哪吒一个,还有威马。
威马的定位显然要比哪吒更高端一些,选择了10-20万这个价位区间,打出了“智能汽车头号实力派”的标签,也是率先建厂交车的品牌。但可惜的是,高端没做起来,反而成了中庸。
对威马而言,想要脱离困境,最需要的就是钱。但近期烧车、锁电等问题频频爆出,也让沈辉的融资之路愈发艰难,于是就陷入了死循环。值得一提的是,大家销量纷纷过万的1月,威马并未公布销量,而到了大家都受到春节和供应链影响的2月,卖了3000多台的威马这才在拖了几天后缓缓公布自己的成绩。
同一起点,不同结局。哪吒销量破万,威马“退出群聊”。
哪吒在这一阶段暂获成功,离不开对自身优劣以及处境的精准剖析,以及敢于“卖身”的魄力。
04. 农村包围城市
在2021年年末,张勇在被问及对近期哪吒的表现怎么样时,张勇表示:“从外部来看可以打80分,但是我们内部给自己定义可能就是及格到70分之间。”
看起来,张勇对哪吒的表现并不满意:“我们的定位是大众市场,比别人多卖两三倍才能证明自己做得好。”
得益于张勇的看家本领“土狼战法”,哪吒理所应当然地从最擅长的B端市场入手,2020年个人用户占比仅40%。
但北汽新能源没落的命运已经写入史册,B端市场空间有限,靠大订单过活并不能保证乘用车企业长久发展,出身于北汽新能源的高管的张勇自然也明白这一点。只有打通C端个人用户市场,才能保证销量稳定,避免“吃了这顿没下顿”的风险。
到2021年,哪吒个人用户的占比已提升至82.5%,哪吒已经开始做出改变了。
图片
从目前来看,哪吒2线及以下城市销量占比超过60%。毫无疑问,哪吒是新势力中,做下沉市场做得最好的。但始终做下沉市场,就相当于自己把自己的路封死了,对于一个品牌的长久发展不利。
“我们正在做进城的准备”,张勇说,“蔚小理含着金钥匙,起头就在中心市场,我们是草根,起步于下沉市场。北上广深杭苏,马上全面开打。”北京车展要正式亮相的哪吒S大概就是他们枪里的弹药。
农村包围城市,这是毛主席带领共产党打天下的一套战术,而此时此刻的哪吒,也在计划着走这条路。从小米加步枪起步,在实战中获得补给,在实战中扩大团队,在实战中升级研发、制造和分销能力。
这时有人会质疑,一个低端品牌,凭什么跟已经占领大城市的高端品牌叫板?
的确,最能体现电动车高端的智能化方面,哪吒目前做得并不突出,尤其是智能驾驶方面,一些功能姑且算能用,但绝对算不上好用。张勇也承认:“过去哪吒资源有限,没能力在智能化方面做大的研发投入,只能选择跟随和优化策略。”
但对于智能化这个软肋,张勇一直是有危机感的:“汽车智能化的变革,一日千里。如果错失这个很窄的时间窗口,来日就只能等着别人降维打击,毫无还手之力。”
图片
最近几天,哪吒在一场交流会上,发布了智能驾驶系统“TA PILOT”。原以为这套系统是在360团队支持下做出来的,但让社长没想到的是,这套系统竟然是哪吒团队“全栈自研”的。
据发布会上公布的信息,即将上市的哪吒S会搭载TA PILOT 4.0系统,硬件一点也不含糊,使用了华为MDC610智能驾驶平台,总算力200TOPS,搭载2颗固态激光雷达,2颗前向8M摄像头。功能方面,支持领航辅助驾驶、记忆泊车等功能。
经常被人吐槽不智能的哪吒,其实早就在背地里“搞事情”了。哪吒智能化研究院目前总人数已经达到600人规模,其中智能驾驶团队的300人中,硕博比例达到80%以上。
未来,哪吒还将进一步加大投入,到今年年末将智能化研究院团队扩充至1000人以上,总投入超过100亿元。
图片
可以说,哪吒正在狠下心,为“农村包围城市”把刀子打磨锋利。
05. 写在最后
“哪吒S增程版+纯电版,两个版本上市6个月后,要做到月销1万台。”张勇表示。
除此之外,哪吒已开启目标估值约450亿元人民币的Pre-IPO轮融资,并计划于今年内启动赴港IPO。
这时,有人可能会吐槽,哪吒飘了,开始吹牛了。
对此,张勇反驳道:“为什么我们做不成?最开始也是一样,大部分人都在质疑我们,没有人相信我们,但我们不反感别人的质疑,因为我们没有放弃努力。”
图片
或许,哪吒的发展之路,除了智能化之外,还有服务体系、股权等种种困难需要克服,但“不信命”的品牌内核,是他们敢赌、敢拼、敢搏杀的底气。
对于未来,蔚小理早已把剑指向了BBA,但哪吒的目标仍然是“活着”,对此张勇说到:“活到2025年,你只是拿到一个资格赛的入场券,接下来还有淘汰赛要打。我们的目标是永无止境的,要么我们被打败,要么我们打败它。”