防止“零元购”,苹果申请Apple Store设备锁专利

IT之家 1 月 12 日消息,据 MacRumors 报道,苹果正在为苹果零售店 Apple Store 探索新的安全措施,以防止“零元购”行为。
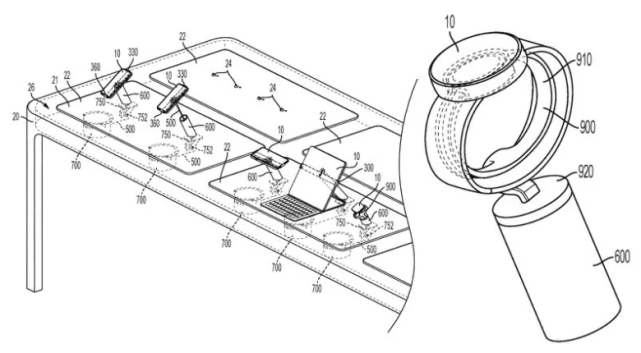
在专利公司向美国专利商标局提交的一项名为“产品显示系统”的专利中,苹果详细介绍了一些用于保护 iPhone、iPad 和 Apple Watch 的机械系统。
图片
该专利涉及在 Apple Store 的大桌子上固定一个“固定器主体”和“展示杆”,这些桌子具有一个“固定器支架”来固定设备。某些设备可能具有连接到支架的可伸缩“固定缆线”,以提供电力并允许客户拿起设备。放置在显示杆顶部的磁铁可确保设备返回到预定位置。
图片
为了保持安全性和美观性,在安装系统中“固定器的紧固件可能不可见或不可触及”。与目前在 Apple Store 中用于固定设备的系绳相比,杆和支架的重量要大得多,旨在使盗窃者更难以分离设备,从而阻止抢劫企图。
IT之家了解到,苹果已经尝试在其部分 Apple Store 中移除安全系绳,但该公司近年来遭受了大量的抢劫事件。苹果设备在从商店被盗时会自动进入丢失模式,使设备无法使用,但该文件表明,更基本的抢劫预防仍然是该公司正在进行的研究领域。