就离谱,摩枭500RR还不算完,山寨杜卡迪V4和街霸都搞出来了

图片
去年震惊摩托车圈的摩枭500RR,简直刷新了国产摩托车的底线,几乎一比一的外观让曾经一众地平线都甘拜下风,更是丢人丢到了海外,让人觉得中国到现在都还只会山寨。
没想到2022年了,摩枭不但没有收手,还变本加厉了
图片
正主杜卡迪将Panigale更新到了V4,摩枭版V4也上了工信部目录,这居然还是V4S版,定风翼都给安排上了。
但这个车头是不是给蜜蜂蛰了?都肿成猪头了,明显没有之前的500RR模仿的到位啊,而且只是换了个车壳,车身后半部分油箱都还是原来的东西,那个假后缸盖子也还在,人家杜卡迪V4可不只是换个壳而已。
图片
车上的硬件部分,金色的前叉后避震,看起来依然很唬人,Ohlins是不可能给你的,辐射卡钳印的也还是MOXIAO,反正就是没有一个正经的品牌标识。
图片
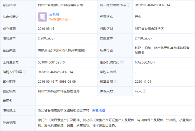
发动机生产企业和车辆生产企业一样,是台州市森隆摩托车制造有限公司,看起来关系明显了,摩枭是隶属于森隆公司的。
然后直列双缸、83缸径、650cc、45kW,这串数据很眼熟啊,不就是春风650那款发动机吗,不知道春风是不是又卖发动机给森隆了,又或是森隆也仿制了一遍川崎650发动机?
图片
再查台州市森隆摩托车制造有限公司,和摩枭的关系能确定了,森隆的第二股东也是摩枭的第二股东。
另外森隆还有官网,上面有各种你所熟悉的“复制粘贴”车型,有兴趣可以自行Baidu查看。
还可以看到该公司实缴资本竟达到了2500万元,有如此雄厚的资本,就不能好好的设计个车辆外观,认认真真的做车吗?
图片
还没完呢,Streetfighter V4也“惨遭毒手”,同样还是500RR的换壳产品,而且这套壳比前面那台质感更差,满满的塑料感,看起来和玩具似的,说这是个模型我都信,和正主相比起来毫无气势可言。
图片
发动机部分还是原来那台,471cc直列双缸水冷发动机,不过功率只有33kW。但这次似乎不是隆鑫生产发动机的了,而是森隆自己生产的,原本摩枭500RR唯一能让人放心的只有隆鑫的发动机,好了,现在连发动机都不是隆鑫产的了。
图片
后记:
或许有人会说,这种令摩托车圈老鸟所不耻的车型,是不值得被曝光的。但是现在新入圈的新人,或许还不足以了解其中的利害关系,市场上有这些“假冒伪劣”产品的存在是有必要知道的,单纯就是靠抄袭知名漂亮的外观来吸引购买者,连减震刹车都没有正经品牌标识,如今竟也能登上工信部。
不得不承认,杜卡迪确实不是人人都能买得起的,花几万块钱就可以买到杜卡迪的外观也很香?但谁的钱也不是大风刮来的,3万多元买个正经国产品牌有保障的车不好吗,豪爵、春风、钱江、隆鑫等等国产品牌,都有很多可选择的车型,连KE500发动机供应商隆鑫的无极500R都降到3万内了,不比这高仿“杜卡迪”品质有保障吗?
看起来和一众地平线小厂相比,摩枭还是很有资本实力的,希望哪一天摩枭能摆脱“山寨”,好好的设计属于自己品牌的外观,可以控制成本,用渝安减震航特刹车都没有关系,至少不能是三无产品,认认真真做车,把好品质关,同样能够得到消费者的尊敬。