IPO观察|商米科技连亏3年增收不增利,蚂蚁、小米、美团现身股东名单

你在超市购物结账的时候,可曾注意过收银台上扫码的设备吗?
主营业务为POS机、扫码枪等智能商用设备的上海商米科技集团股份有限公司(以下简称“商米科技”)正冲刺科创板上市。商米科技本次IPO拟募集资金10亿元,用于智能商用设备研发升级等项目。保荐机构为海通证券。
红星资本局注意到,商米科技研发投入很高,但并不直接生产设备,大部分都是委外加工生产。而且,商米科技至今尚未实现盈利,毛利率处在行业下游水平。不过,商米科技的股东名单依然是“星光熠熠”,蚂蚁集团,小米(小米集团01810.HK)、美团(03690.HK)、深创投位列其中。
图片
商米科技线下实体店 图据视觉中国
连续3年亏损
增收不增利,毛利率低
成立于2013年的商米科技,最初以做外卖平台起家,前身是“我有外卖”。其创始人林喆曾公开表示,“我有外卖”做到了除BAT(百度、阿里、腾讯)、美团之外的第二阵营的第一名。不过,在巨头围猎外卖市场的情况下,自知无法进入第一阵容的林喆,果断改变模式,摇身一变成为了第一阵营的“弹药供给商”。
目前商米科技主营业务以智能商用设备及配件销售为主。智能商用设备通俗讲,就是安卓收银机、智能金融POS机、手持扫码机等,产品主要应用于支付、点单、收银、外卖、缴费、取号等场景。
招股书显示,2018-2020年(报告期),商米科技分别实现营业收入9.66亿元、16.44亿元和21.84亿元,三年营收复合增长率达到50.35%,呈现出连续增长的态势。但同期扣非归母净利润却是连年亏损,分别为-6924.8万元、-2.06亿元和-2439.14万元。
图片
2020年,虽然商米科技的净利润实现扭亏为盈,为484.3万元。但这主要得益于高管离职冲回股份支付费用金额938.72万元和计入当期损益的政府补助1205.46万元。因此,在营业收入高增的情况下,商米科技可以说是增收不增利。
此外,红星资本局注意到,商米科技的毛利率在2020年增长趋势明显,但总体不算高,在同行中处于下游水平。
招股书显示,报告期内商米科技综合毛利率分别为21.61%、21.58%和26.29%,而可比公司均值分别为23.31%、26.04%和26.71%。综合来看,商米科技的毛利率与第一梯队的公司相比,差距在8-12个百分点左右,仅高于小米集团(1810.HK)。但小米集团的营收规模,显然是商米科技比不了的。
图片
商米科技选择可比公司的标准,也遭到了质疑。在第一轮问询中,上交所要求商米科技说明,与极米科技(688696.SH)、小米集团是否具有可比性及依据,并重新选择具有可比性的同行业公司进行比较分析。
在回复问询的公告中,商米科技将可比公司调整为新大陆(000997.SZ)、优博讯(300531.SZ)、石基信息(002153.SZ)与中科英泰。如此一来,商米科技的毛利率水平就显得更低了,比同行均值最多低了16个百分点。
图片
对此,商米科技解释称,主要因产品结构及生产模式的差异造成。由于自产模式下的产能限制会极大制约其技术产业化,因此公司选择主要采用代工生产模式进行生产。考虑到代工模式下代工厂商的合理利润率,上述毛利率差异符合商业逻辑。
招股书显示,报告期内,商米科技代工生产的产品数量占总产量的比例高达93%以上。在这种模式下,商米科技的科技含金量也存疑。
研发投入高
销售费用同样居高不下
连续亏损,商米科技的钱都花到哪里去了?
招股书显示,2018-2020年,商米科技的研发费用分别为1.28亿元、2.60亿元和2.62亿元,占营业收入的比例分别为13.25%、15.81%和12.01%。这一数据,超出了同行业可比公司均值一倍左右。
图片
商米科技表示,为保证技术水平跻身行业前列,所以公司保证对研发项目的稳定高投入。但从目前的经营业绩来看,商米科技的高投入,暂时还没有形成经济回报。
值得一提的是,来自境外市场的收入,对商米科技的营收贡献很大。报告期内,商米科技销往境外的收入分别为4.36 亿元、6.87 亿元、14.66亿元,占当期主营业务收入的比重分别为 45.12%、41.79%、69.02%。
然而,境外业务占比过重,也导致商米科技的销售费用大幅上升。
报告期内,公司销售费用分别为8596.51万元、1.69亿元和1.96亿元;销售费用率为8.90%、10.27%和8.98%,高于同行。招股书解释称,主要因为公司仍处于成长阶段,需要快速开拓全球市场。2019年开始公司境外业务迅速增长,公司在全球范围内搭建销售体系,销售费用率随之上升。
招股书显示,商米科技的销售人员共计298人,占员工总数的33.67%,销售团队覆盖亚太、欧洲、北美、南美、中东非五个销售大区。
此外,外销受汇率波动影响较大,容易产生汇兑损失。2020年,商米科技就产生了汇兑损失2254.38万元。
股东阵容豪华
蚂蚁集团、小米、美团在列
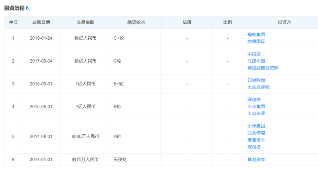
商米科技可以说是备受资本青睐。公开资料显示,其曾获得过6次融资。其中,在成立不足一年时,就获得了来自暴龙资本的数百万人民币天使轮。
图片
随后,2014年8月,商米科技获得来自小米集团、分众传媒(002027.SZ)和深创投等投资的8000万元A轮融资;2015年5月,小米集团、深创投再度加码,与大众点评等一起投资了商米科技的B轮2亿元融资;2015年6月,商米集团获得1亿元B+轮融资。
转型之后,2017年9月,商米科技开启C轮融资,由中民投、光速中国和美团投资。招股书显示,2019年1月,蚂蚁集团通过云鑫创投共投入4.85亿元,农银国际通过农银稳盈跟投6800万元。2019年4月,蚂蚁集团又通过股权受让及增资投入11.88亿元。
截至招股书(申报稿)签署日,林喆直接持有商米科技22.38%的股份,并通过控制沃有合伙、握友合伙、沃邮合伙分别控制公司6.45%、3.39%、8.02%的股份。林喆合计控制40.24%股份,为商米科技控股股东、实际控制人。另外,通过设置特别表决权,林喆还控制了商米科技87.07%的表决权。
蚂蚁集团通过云鑫创投持有商米科技29.99%的股权;美团通过汉涛咨询持股8.20%;小米科技子公司金星创投系第五大股东,持股比例为7.78%;深创投系第六大股东,持股比例为6.88%。
此外,阿里系、美团系也出现在了商米科技的前五大客户名单中。
图片
美团及其附属公司是商米科技2018年第一大客户、2019年第四大客户,销售额分别为1.28亿元、5861.81万元,占当期营收的比例分别为13.28%、3.57%。阿里及其附属公司是商米科技2019年第一大客户和2020年第四大客户,销售额分别为1.89亿元和4752.52万元,占当期营收的11.48%、2.24%。
对于商米科技的IPO进展情况,红星资本局也将持续关注。
红星新闻记者 俞瑶 余冬梅
编辑 杨程
(下载红星新闻,报料有奖!)