重磅!公募REITs又有大消息,6只新品“火速”上报

中国基金报记者 方丽
进展迅猛!公募REITs业务正以很快速度推进。
基金君发现,在4月21日沪深两市交易所各2只合计4只公募REITs产品上报以来,此类产品快速扩容,4月28日6只新6只REITs产品上报,此次已经上报的产品达到10只。
梳理目前已经上报的REITs来看,这些产品类型丰富,涉及到高速公路收费、垃圾处理、产业园区、仓储物流等,项目所在地也涉及全国各地,如重庆、浙江、北京、深圳等。
可以说,距离公募REITs产品正式出炉已经只剩下“临门一脚”。目前已经申报的产品中,进度最快的处于“已问询”状态。
若按照目前进度,大概率今年这类产品可能会正式问世。有兴趣的投资者可以提前看看已经披露出来的招募说明书、基金合同、基金托管协议、基金法律意见书。从这些产品申报稿来看,复杂程度远胜于普通的公募基金,单从基金招募说明书来看,有产品就达到三四百页,真是“宏大巨著”。
6只新产品上报
REITS产品又迈进一步
自2020年4月30日,国家发改委联合中国证监会发布《关于推进基础设施领域不动产投资信托基金(REITs)试点相关工作的通知》之后,国内公募REITs序幕正式拉开。
这一块“蓝海”业务让基金行业沸腾起来,可以说近一两年不少基金公司发力点就在REITs业务上,招兵买马、寻找项目等。
市场积极性较高,让这类产品进展迅速,继4月21日4只REITs产品重磅上报之后,4月28日有迎来6只新REITs产品上报。
记者从证监会网站发现,6只REITs产品上报,分别为平安广州交投广河高速公路封闭式基础设施证券投资基金、华安张江光大园封闭式基础设施证券投资基金、富国首创水务封闭式基础设施证券投资基金、中金普洛斯仓储物流封闭式基础设施证券投资基金、红土创新盐田港仓储物流封闭式基础设施证券投资基金、东吴-苏州工业园区产业园封闭式基础设施证券投资基金,上报日期均为4月28日。
图片
从目前来看,这些产品涉及到高速公路收费、产业园区、仓储物流、水务等领域,可以说项目非常多元。而这6只产品上报,也和此前4只产品一样,在完成相关审核后,将履行证监会注册程序。
据业内人士表示,基础设施REITs的推出一方面能够满足基础设施原始权益人的融资需求,盘活资产、加快周转;另一方面能够有效改善企业的资产负债表,降低杠杆、增强后续融资能力。基础设施REITs在中国刚刚起步,各市场主体都在积极研究、不断探索,一起推动整个行业稳步发展。
还有一位基金公司人士透露,此前就预计会有多家基金公司陆续上报公募REITs产品,而从审批流程上看,之后还需要经过答辩、反馈才能正式获批。近期陆续上报的公募REITs产品未来有望同时获批,成为首批落地的公募REITs。
不仅如此,除了已经上报REITs产品的基金公司之外,目前还有不少基金公司也在积极准备之中,不愿意放弃这个拥有万亿级市场空间的业务。
目前上报中产品达到10只
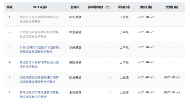
加上今日上报的6只产品,目前已经上报了10只REITs产品,其中上交所和深交所分别有6只和4只。
在上交所网站上也显示出,目前已经上报6只的REITs产品的具体进展。具体来看,4月28日华安、中金、东吴、富国上报的产品处于申报状态,而4月21日国金基金和浙商资管上报的两只产品,已经在4月23日受理。
图片
目前已经受理的两只产品的基金合同、基金托管协议、招募说明书和基金法律意见书的申报稿在上交所网站也可以查询。从进度来看,后续还会有“反馈回复稿”、“封卷稿”,也就说,目前仅仅是初步的文件,未来还会进行修订。
据上交所表示,将全力做好项目审核、交易机制优化和投资者培育工作,加快推动一批优质试点项目落地,尽快形成市场规模和项目积聚,打造良好的示范效应。
同样,深交所也披露了目前4只REITs的基本信息,基础设施项目类型多样,涵盖四大类主流资产类型。
图片
按照深交所所示“申报-受理-问询-审议会议-注册结果”的进度来看,目前进展较快的是博时招商蛇口产业园封闭式基础设施证券投资基金,在4月27日已问询。在深交所也公开了这一问询函。
图片
同样,深交所已经受理的两只产品的基金合同、基金托管协议、招募说明书和基金法律意见书的申报稿,也可以在深交所网站也可以查询。此类基金非常复杂,相比普通基金,不仅有专门的基金法律意见书,基金合同和招募说明书“厚”,从博时招商蛇口产业园封闭式基础设施证券投资基金的招募文件看,就达到388页。普通投资者可能要读清楚并不容易。
深交所表示,将稳步推进基础设施公募REITs各项工作,积极打造深市REITs特色板块,强化资本市场支持基础设施投融资机制创新实践,提升资本市场服务实体经济能力,更好服务国家经济社会发展全局。
基金公司积极参与其中
多家基金公司对公募REITs业务都非常重视,“公司内部出台了很多激励政策,鼓励大家积极去寻找好的项目。”另一位北京基金公司人士透露。
更早之前,不少上市公司均对外公布拟申报的公募REITs项目。大中型基金公司纷纷积极参与其中,“寻找项目”和“招兵买马”成为两大关键词。
还有一位业内人士表示,此次基础设施公募REITs试点由中国证监会、国家发改委联合牵头,采用‘发改委推荐、证监会审批’的遴选机制。自首批试点项目申报工作开展以来,全国共有超过200个项目申报,最终通过发改委审核的项目约占10%左右。
“据前期摸底调研,在几大类基石投资者中,保险公司对公募REITs比较感兴趣,保险公司管理的都是长期资金,与公募REITs的资金期限比较匹配,且首批公募REITs项目的资质及收益率都不错,较为符合保险公司的配置方向。”北京一位基金公司人士称。
“保险机构和商业银行均有意向配置公募REITs,保险机构的负债久期和公募REITs较为匹配,不少商业银行原本是通过信贷的方式助力企业融资,未来通过投资公募REITs的形式支持企业发展,同时可以降低商业银行自身的存贷比。”上海一位基金公司人士分析。
万亿级市场启航
起步阶段仍有不少难点
多家机构均认为,长期来看,我国公募REITs资产规模可达万亿元量级。随着REITS产品的正式落地,意味着这个万亿级市场正要启航。
一则数据显示,自1960年REITs在美国出现以来,在过去几十年中迅猛发展,在海外发达经济体中,REITs已在各自的整体资本市场中占有重要地位。作为REITs的发源地美国,截至2019年末公募REITs市场规模约1.3万亿美元,约占GDP规模的6.5%,按照该比例推算,中国公募RETIs市场可达6万亿人民币。
此外,还有数据显示,我国基础设施存量规模超100万亿元,按照资产证券化率1%计算,基建REITs潜在市场规模超万亿元。
中航基金相关负责人表示,基础设施公募REITs是贯彻落实党中央、国务院关于防风险、去杠杆、稳投资、补短板决策部署的有效政策工具,对提升基础设施产业发展的质效、降低宏观杠杆率、丰富资本市场品种等具有重要意义,有望成为公募基金一条全新的万亿级“赛道”。
尽管对REITS业务及市场空间充满信心,但“万事开头难”,也有一些公司认为起步阶段存在一些难点。
德邦基金总经理陈星德提出,公募REITs丰富了大众基建投资品种,规模庞大,有望开辟万亿市场。但同时,REITs也面临着诸多挑战。第一,REITs对基金公司来说是一个全新的业务领域,需要建立全新的资管生态;第二,未来更加需要既懂资本市场又懂不动产领域的投融资管理人才;第三,和其他品种相比较,REITs收益率能否达到投资者的期望。
“在监管层长达15年的不懈努力下,终于在规则层面搭建了公募REITs的操作指南,目前公募REITs的设计图纸已经绘好,全市场都在等待依据这个图纸落地的第一批REITs产品。所以,现在尚处于从“图纸”到“产品”的落地过程中。” 国投瑞银不动产投资中心总经理刘先鸣此前曾分析。
他表示,未来公募REITs落地后,真实竞争力要从两端来看,首先要从项目端来看,要探讨公募REITs相比其他融资工具,对原始权益人而言是否真的有价值,能解决他们的痛点;其次要从资金端来看,要探讨公募REITs相比股票、债券、基金、理财等投资工具,对于投资者而言是否有价值,能否满足他们的需求。
“目前存在的难点在于:一是需要出台与完善进一步配套政策和制度。包括税收优惠政策,涉及特许经营权的调价机制市场化,现行业务指引的正式稿等;第二是培育投资机构和市场专业机构,要高度重视中国资本市场的投资者教育工作,主要是个人投资者的产品普及和教育工作。”一位基金公司REITS业务负责人表示,第三,要加强基础设施REITs的发展,律师、会计师、审计师、资产评估师等专业型人才的队伍建设工作不可或缺。此外,基金管理人要真正股权思维的投资运营基础设施项目公司,由于基础设施项目类别较多,不同类型的项目公司在投资运营过程中,涉及的专业类别完全不同,通过寻找专业的人才,搭建体系化的人才梯队,基金管理人要尽快培养自己股权投资运营管理的能力。
编辑:舰长