前景不明的依图医疗能够拯救IPO危机中的依图科技吗

图片
本文系深潜atom第202篇原创作品
根据国家卫计委统计,2019年度全国医疗机构诊疗人次达到87.2亿,平均每天就诊人次超过2300万。然而医疗供给资源不足且分布不均的现状为医疗体系带来了巨大挑战,面对日益增加的医疗需求,医疗供给端急需新的动力,人工智能的出现正好带来了希望的曙光。
今天的医疗人工智能,已经不再是陌生而又遥远的产品。2017年,国务院提出的《新一代人工智能发展规划》将智能医疗纳入国家战略,2020年药监局连续批复将近10个医疗人工智能三类医疗器械证书,昭示着我国医疗人工智能技术已经领先于国际
与一路挣扎的依图科技不同,其子公司依图医疗则显得春风得意。近日,依图医疗的儿童手部X射线影像骨龄辅助评估软件获得药监局批准,这也是首个获批的儿童骨龄AI软件,这也是依图科技主动暂停IPO后的第一个好消息。
图片
△依图医疗证书
去年开始,医疗人工智能资本市场重新回暖,科亚医疗、推想科技和Airdoc都已经纷纷开启上市的步伐。那么,在资本市场看好下,依图医疗能否拯救资不抵债的依图科技吗?
01
累计投入超过2亿,
依图医疗终于砸出一张证书
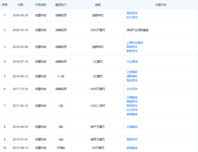
我们此前分析过很多次,在深度学习刚刚兴起之时,技术人才匮乏,资本和人才被明星公司所虹吸,其中国内名气最大的就是“AI四小龙”。作为四小龙之一的依图科技成立后,在朱珑、林晨曦的带领下快速成为了人工智能行业的标杆,已经完成了10轮融资。
图片
△依图科技融资史
随着技术的发展,技术本身越来越不值钱已经成为行业共识。比如,2014年大规模招揽人工智能领域人才的谷歌,4亿美金收购了成立仅仅三年的DeepMind;2021年,图灵奖得主、深度学习三巨头之一的约书亚·本吉奥创立的Element AI面临可能被“贱卖”的风险,最终价格可能会降至1.95亿美元,而这家公司过去四年的融资金额高达2.575亿美元。
依图科技也深刻认知到了这一点,早于2017年率先布局医疗产业,而这一动作,也早于其他三家。而就在前一年,刚刚完成数千万美元融资的依图科技进入医疗圈,依图医疗成立后不久,依图科技再次完成3.8亿人民币的新一轮融资,让医疗人工智能圈子里一众创业选手忧虑。从技术上,汇集了大量人才的依图科技技术能力明显要优于其他选手;从资金上看,在千万量级融资额的医疗人工智能赛道,手持巨资的依图科技,更是完虐竞争对手。
大海航行靠舵手,赶在技术红利没有吃透前,在前阿里巴巴资深技术专家的倪浩代行下,疯狂投入并且取得产出。依图医疗三年累计投入超过2亿人民币,招聘了超过30个全职医生团队,技术论文也多次登上《Nature Medicine》等顶级期刊。
图片
△报告期内项目投入情况
在投入2亿后,依图医疗更是得到了药监局的认可。2017年,地处杭州的依图医疗和浙江大学附属儿童医院达成合作,双方共同发布了儿童骨龄智能辅助诊断系统,4年后,依图医疗的儿童手部X射线影像骨龄辅助评估软件被药监局批复,成为首个获批的儿童骨龄AI软件。
不过,依图医疗拿到了第一张三类证书,但是在这个领域并不占优势。自从2017年药监局开启医疗人工智能证书审核项目后,2020年开始丰收。Airdoc、科亚医疗、联影智能、数坤科技、深睿医疗、安德医智、推想医疗、硅基智能、乐普医疗等9家企业陆续获得了AI三类证。此外,腾讯觅影也有两款产品获得绿色通道。特别是在其他友商已经不再有资本市场和技术能力的压力之后,“后来者”依图医疗的优势越来越小
此外,李开复曾经总结6大理由表明内部孵化无法阻挡创业型公司:1)大公司战略和政治因素,很难让小团队放手一博,2)大公司为了公平,无法提供足够激励机制给小团队,3)最强的小团队负责人渴望独立自由,宁愿自己创业,4)外部数量远远多于内部,5)内部审批流程,碍手碍脚,6)创业成本达到历史新低,因此创业机会达到历史新高。
事实证明,任何想要通过技术改变医疗的企业最终都被医疗所吞噬。技术背景出身的倪浩,可以带队完成算法和产品的攻坚,但是在业务的拓展上,反而可能会成为依图医疗发展的掣肘
02
医疗的慢功夫,
依图医疗很难爆发式增长
我们此前分析过,因为早年国外Kaggle、LUNA16赛事等将肺结节算法纳入比赛,肺结节影像的数据和算法更容易获得,这也导致早期的医疗人工智能企业在没有自己的合作方之前,都会通过肺结节的算法当做敲门砖,依图医疗也是如此
在去年的疫情中,依图医疗也快速完成响应。其研发的新冠肺炎智能评价系统能够将定量评估时间从数个小时压缩至2秒到3秒,目前该系统已在全国200余家机构落地,并在欧洲、南美洲、中东地区、东南亚地区等海外市场获得应用。
图片
△AI抗疫
但Tech星球年初对依图科技一位技术研发人员采访时写到,“我们技术确实很厉害,医院医生也说好,但是到掏钱采购的时候就不行了。”作为做技术的程序员,他也不知道为何总是投标失败。2020年底重庆一个三甲医院的订单,金额有200多万,最终流标了。这让技术很受挫,手头暂时没了业务。
也内部人士透露,依图在暂停上市后,整个杭州医疗团队差不多裁了70%,销售团队接近崩盘。既然短期内无法盈利,那就通过缩减人员减少人力成本。同时业务转向芯片和自动驾驶,以期未来重新登录资本市场时,再讲个有吸引力的故事。
如今,肺结节领域已经是一片红海,深睿医疗和推想科技都已经拿到了自己的三类证书,并且已经开启跑马圈地模式,相当于断绝了依图医疗的前路。中国0到14岁的儿童有2.6亿,中国的儿科医生只有13.5万,而且这个数字不断变小,大概2600个孩子中国孩子能够分配到一个儿科医生,将目光放到儿童骨龄或许更适合依图医疗
图片
△AI骨龄检测
在研发上,依图科技除了与浙江大学附属儿童医院的合作,同时也与华西医院等多家三甲医院开展多个医疗领域的科研合作;商业化进程也较为顺利,比如依图医疗与爱康国宾在依图医疗在儿童生长发育监测、肺结节的筛查体检领域展开合作。
依图医疗通过肺结节进入赛道,在发展受阻时更换赛道,寻找自己的最终立脚点的发展过程,十分符合进入陌生行业的做法。但也客观体现出医疗行业挖掘的困难,一个独角兽企业,都不能同时布局多个领域并且一同取得成功。
依图医疗公司副总裁方骢更是公开表示要推动中国医疗卫生体系智能化建设,以技术创新让人人享有更好医疗。可见对于智能医疗的展望,野心过大。然而通过企查查发现,依图医疗已经注销了多地的分公司,其中很大的原因在于在本地事业发展不顺利。医疗需要强关系并且难以批量复制,比如同为四小龙的云从科技携手广州南沙,3亿打造AI智慧医院,对于依图医疗来说,脚踏实地的拓展医疗资源才是此刻最重要的事情
图片
△依图医疗注销分公司
03
依图医疗可以拯救依图科技吗
智能安防、依图医疗、智慧金融、智慧城市、智能硬件是依图所关注的几个主要领域,自2017年布局医疗后,医疗就成为了依图最主要的应用领域。在依图科技的招股书中,医疗被提及589次,远超金融的174次,以及硬件的252次
图片
△依图医疗
如今,依图科技持续亏损的情形将可能导致公司的资金状况无法满足自身在技术研发、市场推广及销售等方面的需求。此外,依图科技将持续在产品研发、市场推广及销售等方面进行较大规模投入,如公司未来收入无法按计划增长,则可能导致亏损进一步增加,依图科技已经进入最艰难的时刻。
依图科技招股书显示,报告期内,依图科技收支极度失衡,资产负债率远超于100%,三年半累计亏损72.68亿元,且烧钱状态仍将持续。如果后续按照这一速度烧钱,没有外部资金注入的依图科技仅能够支撑一年。且其员工在网上爆料,一年多48个周六上班,经常晚上十二点以后下班,并且没有加班费。此外,年终奖一拖再拖。
我们回头看看几个互联网医疗巨头,几乎背后都有强大的资本,京东健康背靠京东集团、平安好医生背靠平安集团、阿里健康背靠阿里巴巴。原本依图医疗背后的依图科技,让其可以在医疗圈快速崛起,然而如今依图科技自己却深陷泥淖,对于依图医疗的帮助越来越小,甚至可能还需要依图医疗反哺
2019年,逐渐完成影响力打造的依图医疗终于开始反哺依图科技。在2019年的资本寒冬中,依图科技的股东与云锋新呈、红杉铭德在内的七方投资机构签订增资协议,约定以所持持有的上海依智医疗(依图医疗全资控股公司)19.2858%股权,认购依图网络新增注册资本1396656.80元对应的股份,帮助依图科技熬过了艰难的2019年。
但是,如今的依图科技面临的困境更大,依图医疗能够再次帮助依图科技吗?