可口可乐注册“可NIU了”商标,食品企业取名路子有多野?

图片
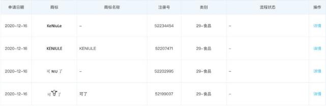
12 月 28 日消息,可口可乐(中国)投资有限公司新增 " 可 NIU 了 ""KENIULE" 等商标信息,国际分类为食品,商标状态为 " 商标申请中 "。
就在一个多月前,蒙牛和可口可乐成立了 " 可牛了 " 公司并注册了中文版 " 可牛了 " 等商标。伊利也不甘示弱成立了 " 伊知牛 " 公司并注册了相关商标。
这一届食品企业起名套路到底有多野?
图片
对于蒙牛和伊利这次合作,有网友调侃,带上雪碧可以取名为 " 可牛碧了 "。
网友还建议,蒙牛与阿里巴巴合作的项目可以叫 " 牛爸爸 ",与京东合作的项目可以叫 " 牛惊了 "。至于刚刚收购的妙可蓝多,合作项目可以叫 " 多牛啊 "。
蒙牛乳业也在其宣传稿中表示,将拓展更多可能。
在成立 " 可牛了 " 公司后不久,蒙牛公司申请注册了包括 " 可牛了 "、" 乐蒙了 " 和 " 牛多了 " 在内的多个商标,国际分类包括方便食品、啤酒饮料等。
图片
值得一提的是,蒙牛和阿里巴巴合作的全程冷链智能冰柜叫 " 天鲜配 "。
图片
天鲜配公司成立于 2018 年 7 月 19 日,经营范围包括食品销售,酒类等。通过线上订奶、线下智能冰柜取奶的模式为消费者提供鲜奶。也就是将传统的奶箱进行了改造。
蒙牛的竞争对手伊利在起名上也够野。
在蒙牛和可口可乐成立 " 可牛了 "2 天后,伊利实业集团不甘示弱,成立了 " 内蒙古伊知牛牧业有限责任公司 ",至于是谐音 " 一直牛 " 还是 " 一只牛 " 就不得而知了。
图片
天眼查专业版显示,伊知牛公司法人代表和执行董事闫志军还是安图伊利长白山天然矿泉饮品有限责任公司的法人和执行董事。伊知牛经营范围包括肉类及副产品收购、加工、销售等。
不光是乳企,近些年大火的元气森林也在 11 月 9 日成立了 " 老猛了(北京)饮料有限公司 "。
图片
由于 " 老猛了 " 和一向走小清新风格的元气森林反差巨大,引起网友热议。还有网友打趣道," 取名顾问是不是沈腾 "、" 怎么读出了‘老萌了’的感觉 "、" 东北那嘎达的 "。
图片
蒙牛:我可牛了;伊利:我一直牛;元气森林:我老猛了。
下一个是谁呢?
ZAKER 新闻出品
文 / 黄嘉敏