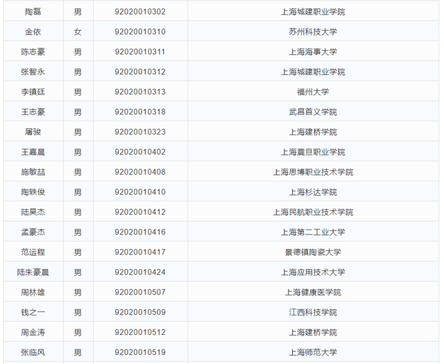
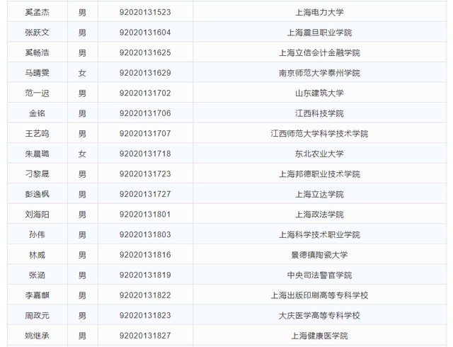
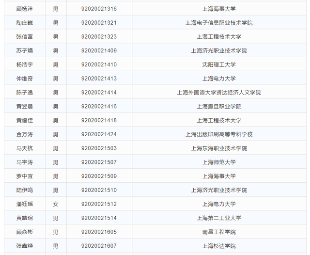
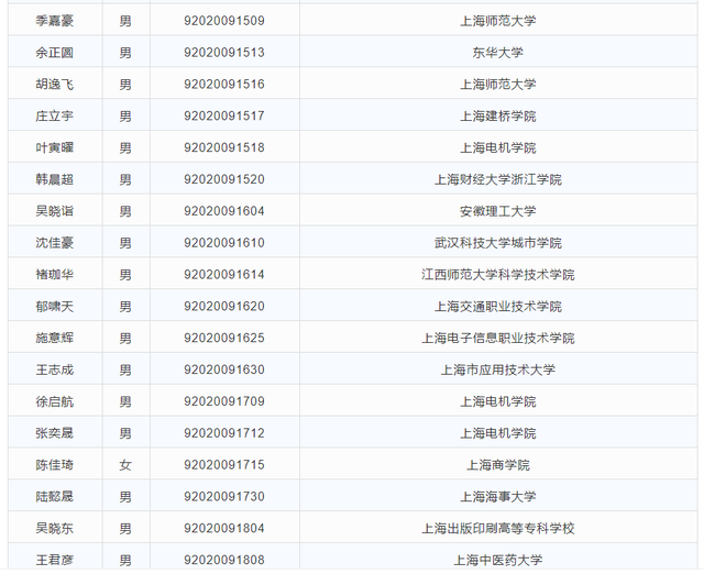
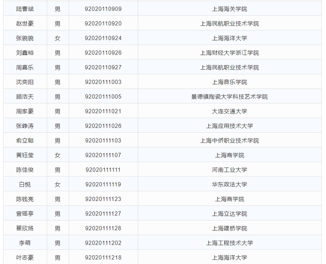
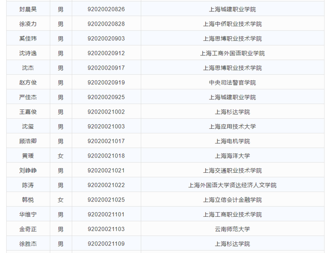
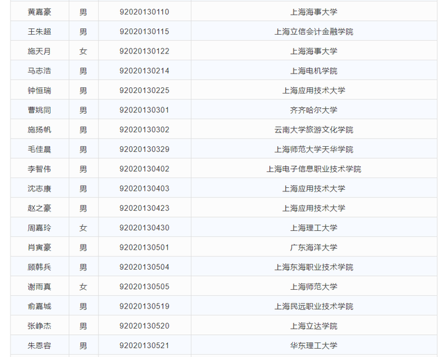
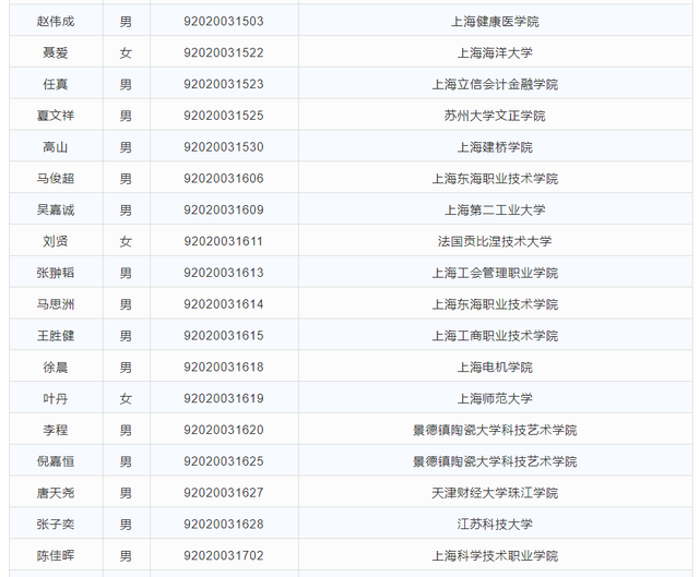
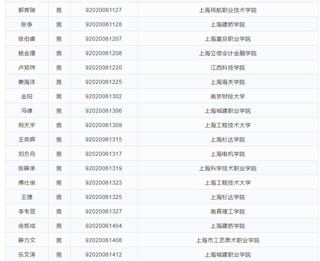
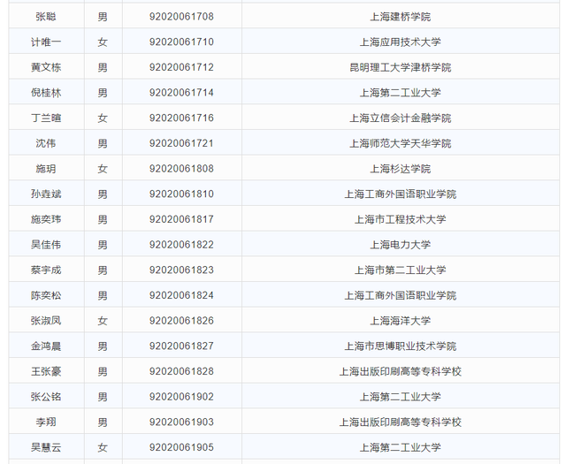
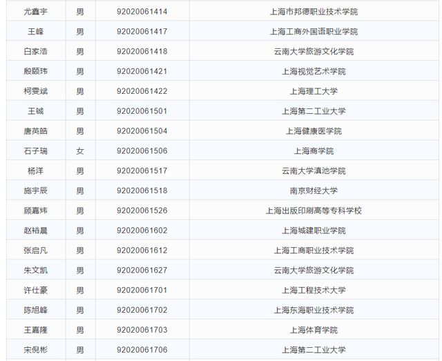
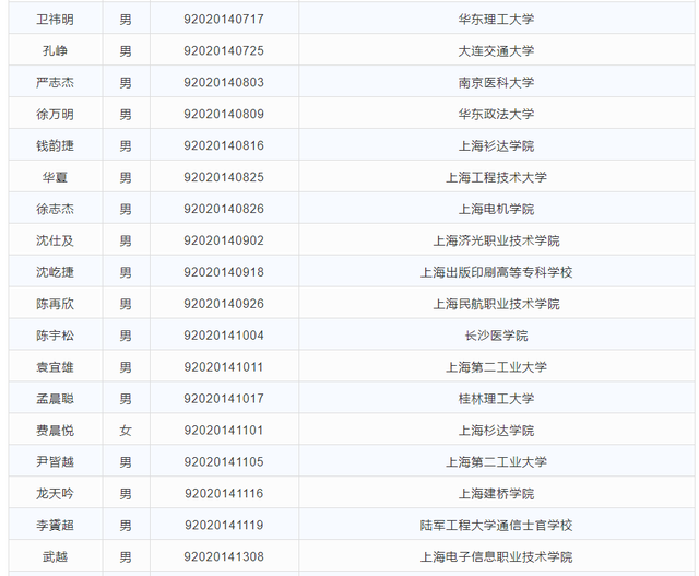
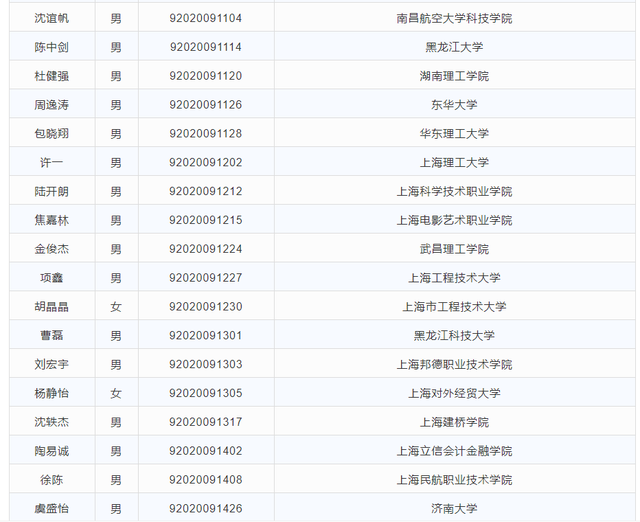
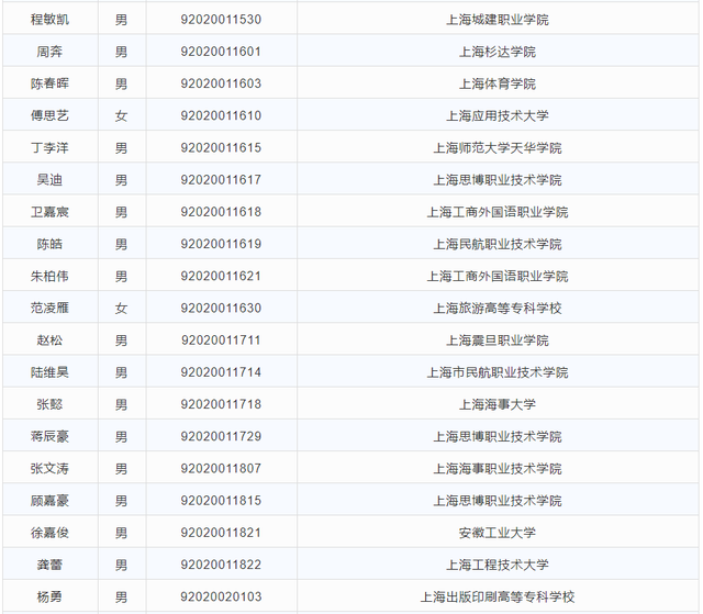
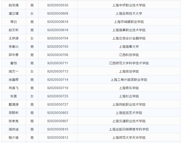
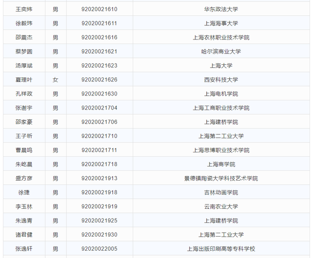
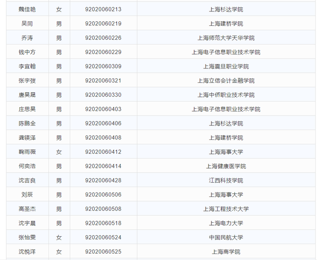
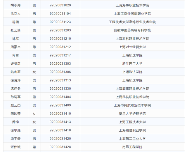
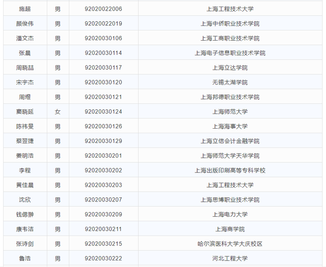
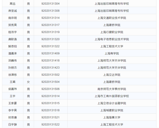
共935人!沪2020年公安人民警察学员名单今起公示

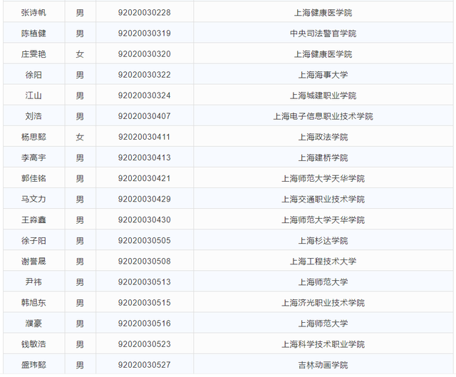
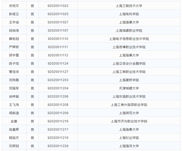
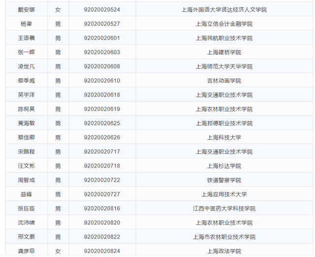
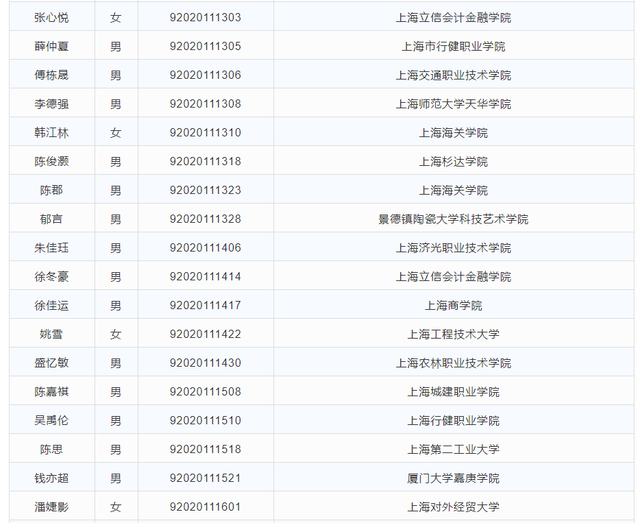
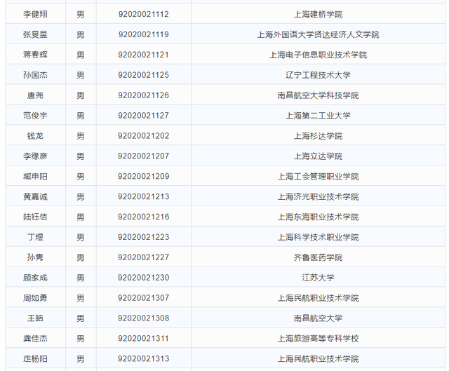
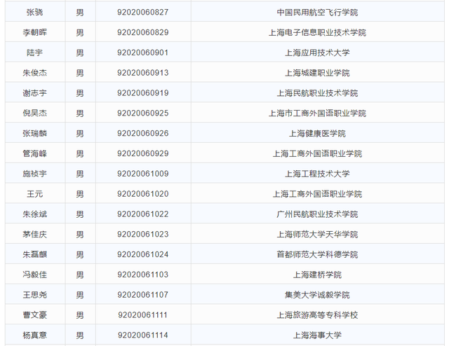
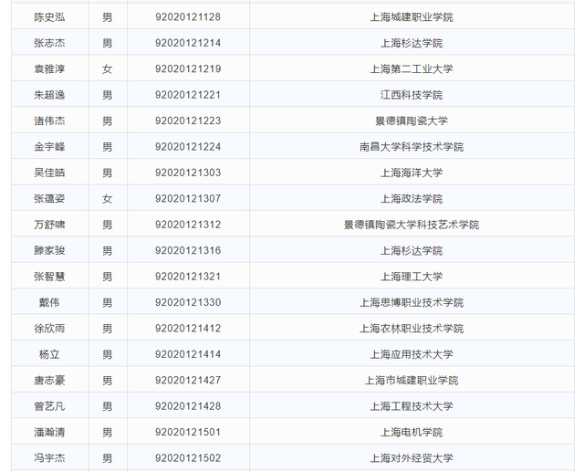
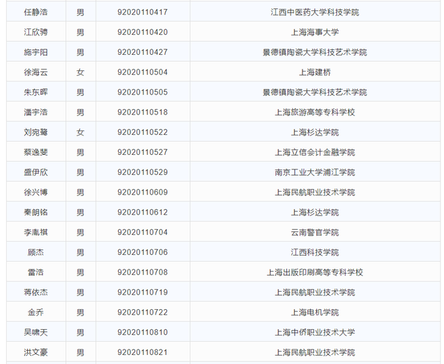
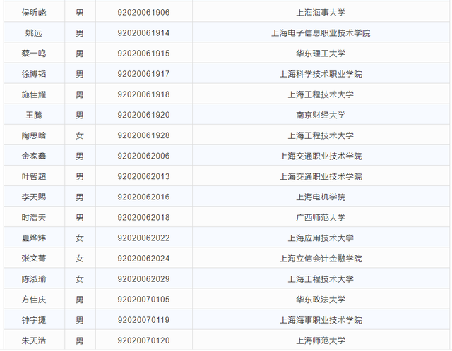
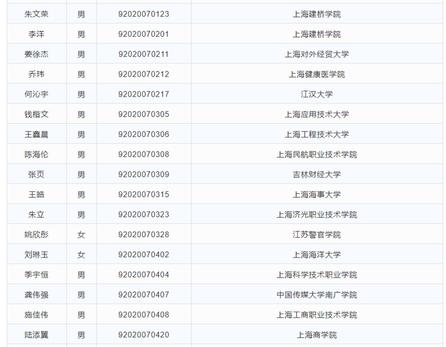
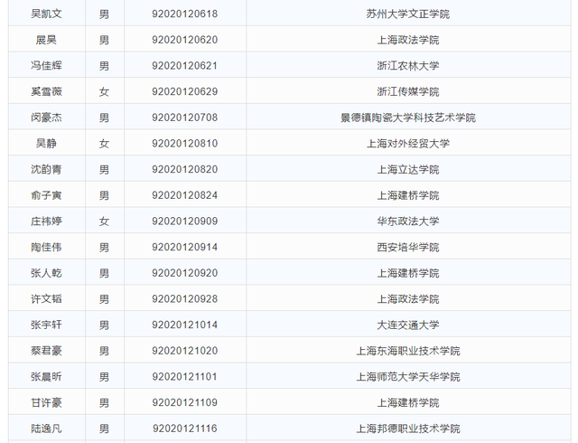
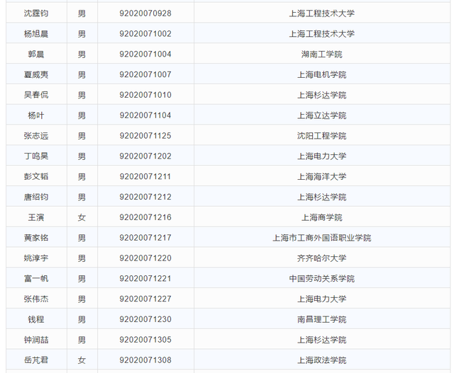
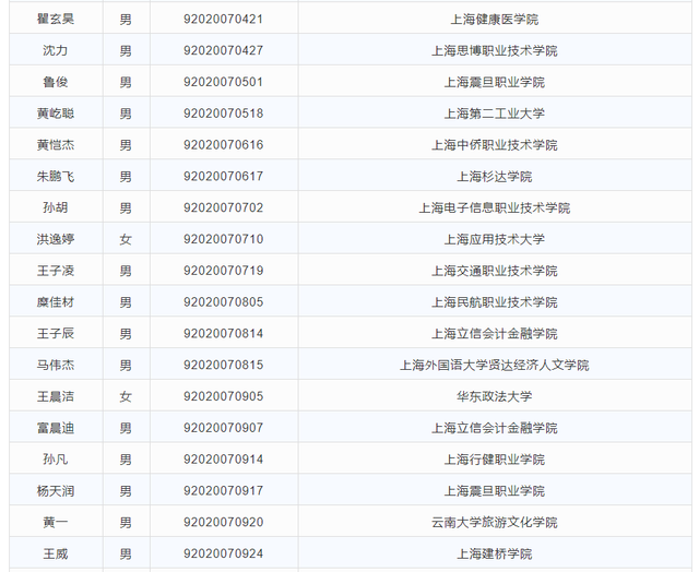
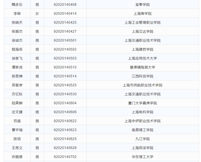
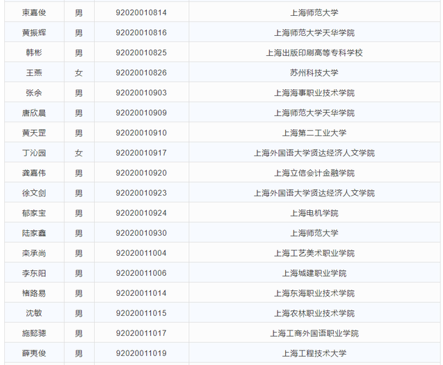
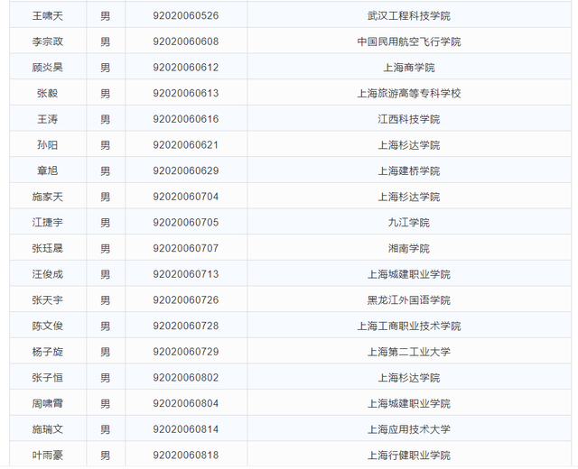
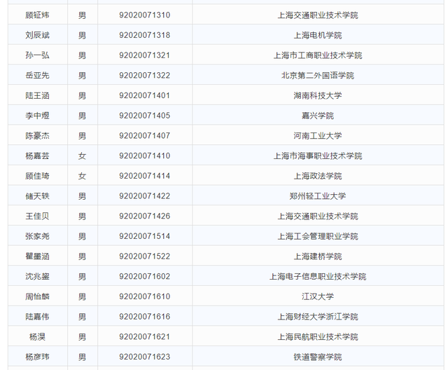
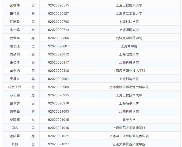
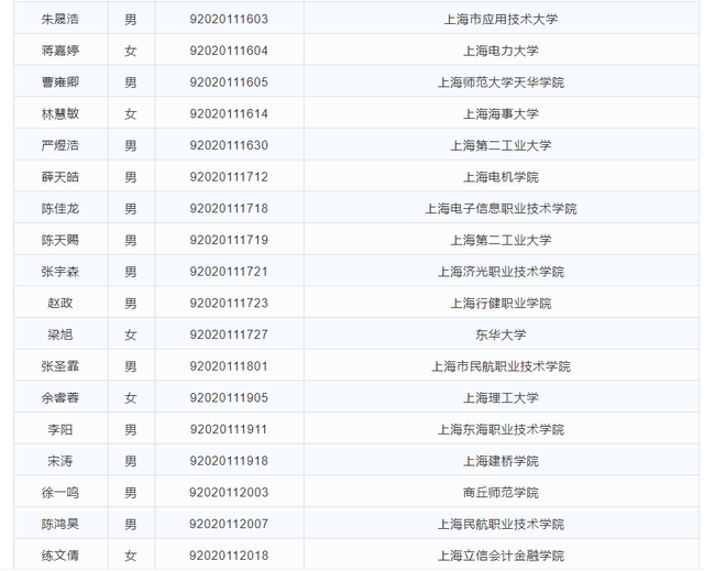
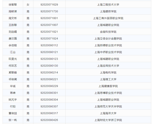
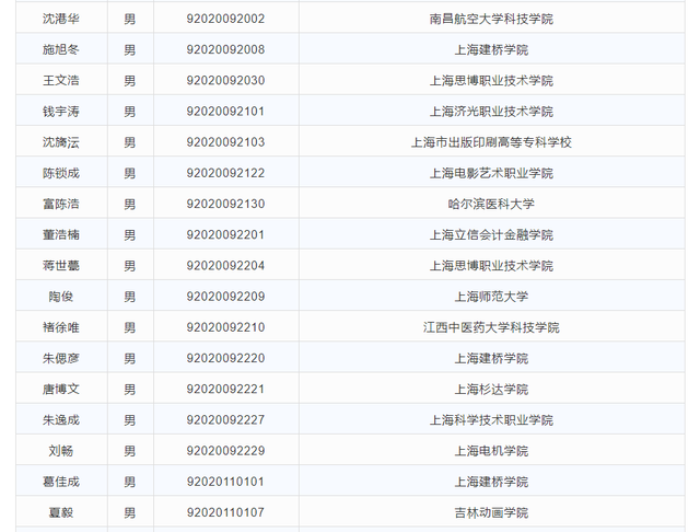
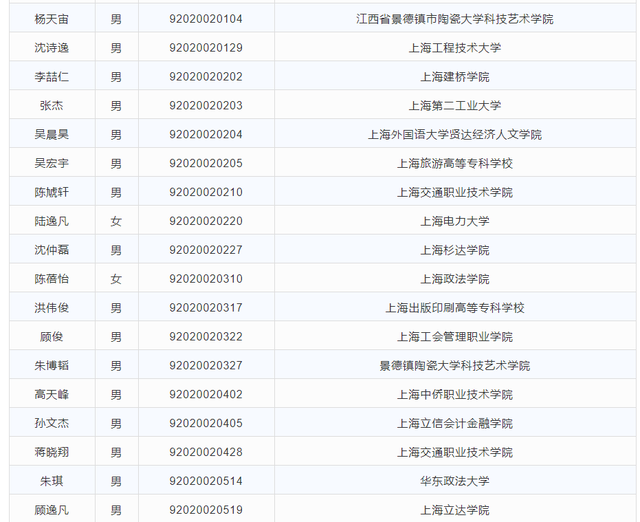
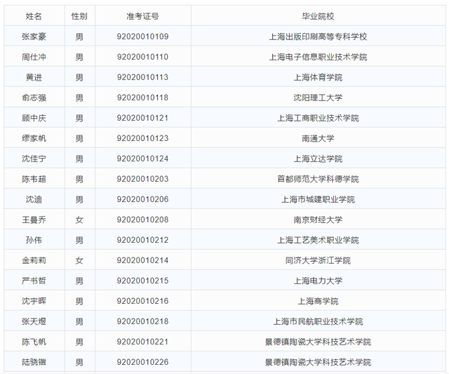
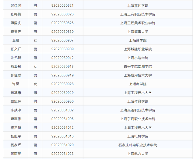
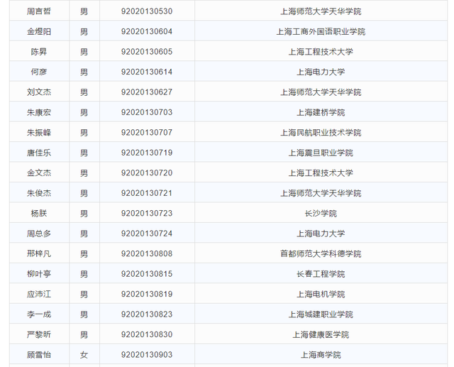
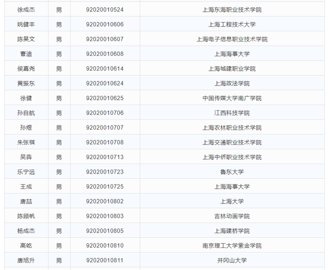
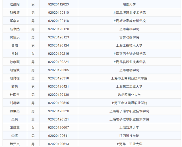
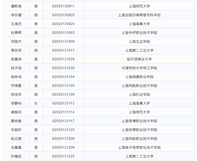
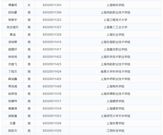
市公务员局说,今天起到12月24日,对2020年上海市公安人民警察学员拟录用人员进行公示,共935人。来看看有没有你认识的小伙伴?
图片
图片
图片
图片
图片
图片
图片
图片
图片
图片
图片
图片
图片
图片
图片
图片
图片
图片
图片
图片
图片
图片
图片
图片
图片
图片
图片
图片
图片
图片
图片
图片
图片
图片
图片
图片
图片
图片
图片
图片
图片
图片
图片
图片
图片
图片
图片
图片
图片
图片
图片
图片