苹果Apple Glass新专利再曝:增强沉浸感

关于苹果正在研发的Apple Glass头戴式显示设备,目前已经出现了多次爆料。虽然苹果具体将在何时正式推出这一设备暂时还是未知,但不断曝光的专利信息足以见得苹果一直在进行相关领域的工作推进。
图片
本周二,与Apple Glass头戴式显示设备相关的专利信息再次对外公布。这次苹果带来了两份专利设计,描述了利用精密传感器提供高度身临其境的体验,并允许用户控制附近电子设备的设计方案。
图片
第一项专利是“头戴式虚拟和混合现实显示设备,具有内外定位、用户身体和环境跟踪功能”。这是一项基础性专利,描述了一套传感器,在虚拟或混合现实环境中可以提供高水平的沉浸感。
图片
该专利主张,为了提供沉浸感,对各种元素的跟踪至关重要,其中包括对头部位置、身体位置和用户周围环境的跟踪。
据悉,整套沉浸式传感器可能包括一对带有红外截止滤波器的RGB相机、一对带有近红外滤波镜的黑白摄像机、惯性测量单元、ToF 深度传感器、斑点图案投影仪以及其他相关组件。
图片
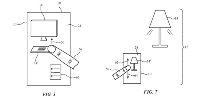
另一项专利中,苹果介绍了一种系统,其可以在佩戴头戴式设备时,通过手势控制附近的电子设备。基于此,用户在佩戴头戴式显示设备时,可以直接看到有关的电子设备并进行交互操作。
图片
为了实现这样的设计,这一系统将包括独立传感器,用于识别用户环境中的外部电子设备;显示系统,用于显示有关外部电子设备的信息;用户输入组件(触摸传感器、力传感器和其他传感器),用于收集触摸/手势输入信息。
图片
结合以上专利信息来看,苹果对于头戴式显示设备的研究有着自己的方案,且正在陆续推进。不过,这些专利最终是否会量产发布,还需要等待更多的信息确认。