屡遭点名的融360:关联时光分期年化63% 被指导流爱分期年化150%

美国东部时间2017年11月16日,融360旗下简普科技(NYSE:JT)迎来高光时刻。
当日晚间,简普科技正式挂牌上市,开盘价为8.25美元,较发行价溢价3.13%,首日收涨5%,市值为1.89亿美元。
不足三载,简普科技股价已怅然若失。2020年3月20日至今,股价均低于1美元,最低跌至0.6美元,最高仅1.69美元。
根据纽交所退市规则,连续30个交易日,股价低于1美元,可启动退市程序,也意味着,简普科技或面临退市风险。
股价走低背后,不止于资本市场的不看好,更是源于其自身“玩火”。
图片
年化利率63%
“本人从时光分期借款30000元,分12期归还,已经还了7期,累计还款24761元,平台显示剩余还款金额16017.51元。”借款人陈先生向趣识财经表示。
不过,时光分期方面则表示,贷款利率没有超过36%。而根据IRR公式计算,陈先生这笔贷款年化利率为63%,远超于国家法定年化利率。
同时,陈先生称“借款初衷是每月还款3000元左右。但现在发现合同里本金加利息金额与我还款金额不符,每期都多了600元左右,定睛一看,合同里居然收取如此高额服务费。”
对此,时光分期避而不谈服务费,仅坚称年化利率未超过36%,且陈先生可提前还款,一次性结清,可减免费用680元。
此前,最高法等四部委印发《关于办理非法放贷刑事案件若干问题的意见》进一步明确,非法放贷行为人以介绍费、咨询费、管理费、逾期利息、违约金等名义和以从本金中预先扣除等方式收取利息的,相关数额在计算实际年利率时均应计入。
并非“个案”,截止目前,21CN聚投诉显示,时光分期涉及“高利贷”、“砍头息”、“恶意催收”层面投诉量5167件。
其中,李先生在21CN聚投诉中表示,“时光分期利息太高,远超国家标准,催收态度非常不好,还要爆通讯录。”根据李先生提供贷款账单,利用IRR计算,该笔贷款产品年化利率已达65.76%。截至目前,趣识财经尚未联系到李先生。
企查查显示,时光分期运营主体为北京融科君展信息技术有限公司,成立于2015年7月23日,法定代表人为叶梦舟,陆佳彦、叶慧菁各持股40%,刘曹峰持股20%。
图片
值得关注的是,时光分期三大股东均为融360运营主体北京融世纪信息技术有限公司股东。其中,陆佳彦为融360实际控制人、法定代表人且持股33.6%。
同时,刘曹峰为融360联合创始人、CTO,持股9.45%;叶慧菁持股33.6%。可见,时光分期与融360密不可分。同时,融360导流贷款平台一直被诟病,时光分期便在该平台展示贷款界面中。
被指导流高利贷
回顾2019年3月15日,央视315晚会曝光“714”网贷乱象,便点名融360为这些贷款APP提供展示。
彼时,融360发布“第一时间主动下架APP进行彻底自查,对少数涉嫌搭售行为的产品已全部下架”等系列声明。态度诚恳可见,行动仍需考究。
21CN聚投诉显示,融360被投诉量持续攀升至上万条,主要涉及“放任贷款商的高利贷行为”、“包庇放贷公司的违法行为”、“泄露用户隐私、暴露个人通讯录”等层面。
自身贷款产品被质疑外,融360所导流贷款平台也常惹热议。梳理发现,在21CN聚投诉中,融360应用所推介及贷、喜鹊快贷、你我贷、时光分期等多家贷款产品被指高利贷等投诉千件起。其中,你我贷被投诉量更飙升超2万件。
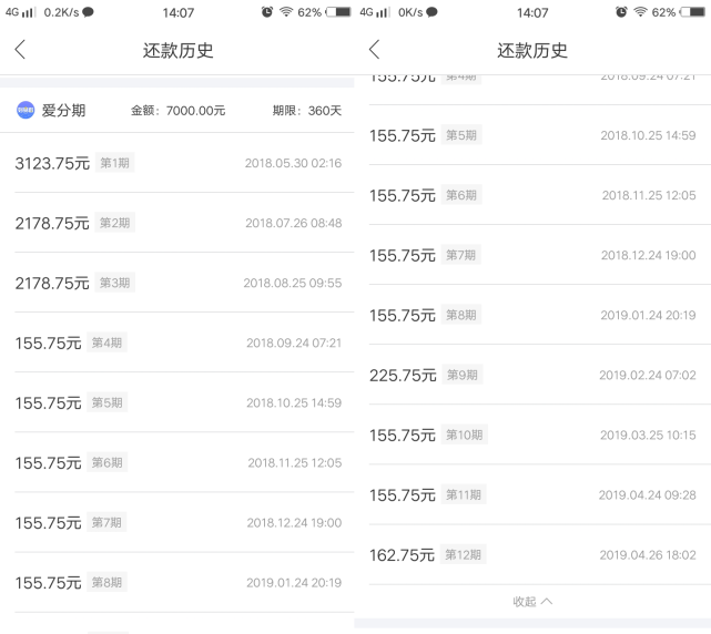
李鑫(化名)在21CN聚投诉上表示,“在融360平台申请的借款产品爱分期,分12个月还款,贷款利率达150%,远超国家规定。”根据IRR公式计算,李鑫这笔贷款年化利率为118.68%。
图片
融360往往于21CN聚投诉上回应,“问题已为用户转达贷款产品的提供机构处理,融360是金融产品的信息展示平台,不参与用户与贷款机构方的借贷和催收等事宜,会严格审查合作机构及上架产品。”
李鑫向趣识财经表示,“爱分期”更名为“好易借”,后来似乎又换了名字。不过,李鑫所提供的融360平台“还款历史”界面截图中尚存“爱分期”借款记录。
犹记,融360创始人兼CEO叶大清曾公开表示“简普科技是连接人和钱,做金融业的‘送水工’”。可见的是,“水”的质量仍需把关。
同时,“送水工”简普科技亏损成瘾。数据显示,2015年、2016年、2017年、2018年、2019年分别净亏损1.96亿元、1.82亿元、2.02亿元、1.6亿元、4.25亿元。
最新财报显示,2019年,简普科技贷款推荐服务收入同比下降34.4%,贷款申请数量同比下降47.1%。简普科技称,平台上可用金融产品数量减少,并受信贷紧缩与行业动态变化影响。
可见的是,导流模式难逃流量魔咒,线上流量成本高企,用户粘性仍需维护,融360亦面临严峻挑战。
自身问题难解,又屡遭点名。2019年6月,融360因发布违法广告,被责令停止发布违法广告,处以罚款70万元;11月,中国基金业协会公示第三十批疑似失联私募机构名单,融360旗下私募赫然在列。
后记
融360创始人兼CEO叶大清曾在上市现场称“融360在2011年10月份成立,今天已经是一个6岁小孩子,已经幼儿园毕业,上市是刚好进入小学了。”
时过境迁,监管从严,互联网金融落寞尽显。股价低迷、雷潮汹涌,互金公司存亡之争愈演愈烈,于融360而言,合规前行尤为重要。
此前,关于融360被投诉量居高不下、是否对融360APP所展示的贷款项目审核放贷资质等问题,趣识财经向融360相关负责人发出采访提纲,截至发稿前,尚未得到回复。